LEMON Manuals: Even more car manuals for everyone: 1960-2025
Home >> Lexus >> 2003 >> GS 430 >> Repair and Diagnosis >> External Pages >> Different car >> Section 266 (Audio & Visual System) >> Disc Player Controller >> Replacement
April 5, 2026: LEMON Manuals is launched! Read the announcement.

Disc Player Controller: Replacement

WARNING: This page is about a different car, the 2003 Lexus GX 470. However, it is still accessible from the selected car via links, so may be relevant.

HINT:

COMPONENTS: See LOCATION 

  1. REMOVE CONSOLE UPPER PANEL GARNISH NO. 2 (See  REPLACEMENT  ) 
  2. REMOVE CONSOLE UPPER PANEL GARNISH NO. 1 (See  REPLACEMENT  ) 
  3. REMOVE CONSOLE REAR END PANEL SUB-ASSY (See  REPLACEMENT  ) 
  4. REMOVE RR CONSOLE BOX ASSY (See  REPLACEMENT  ) 
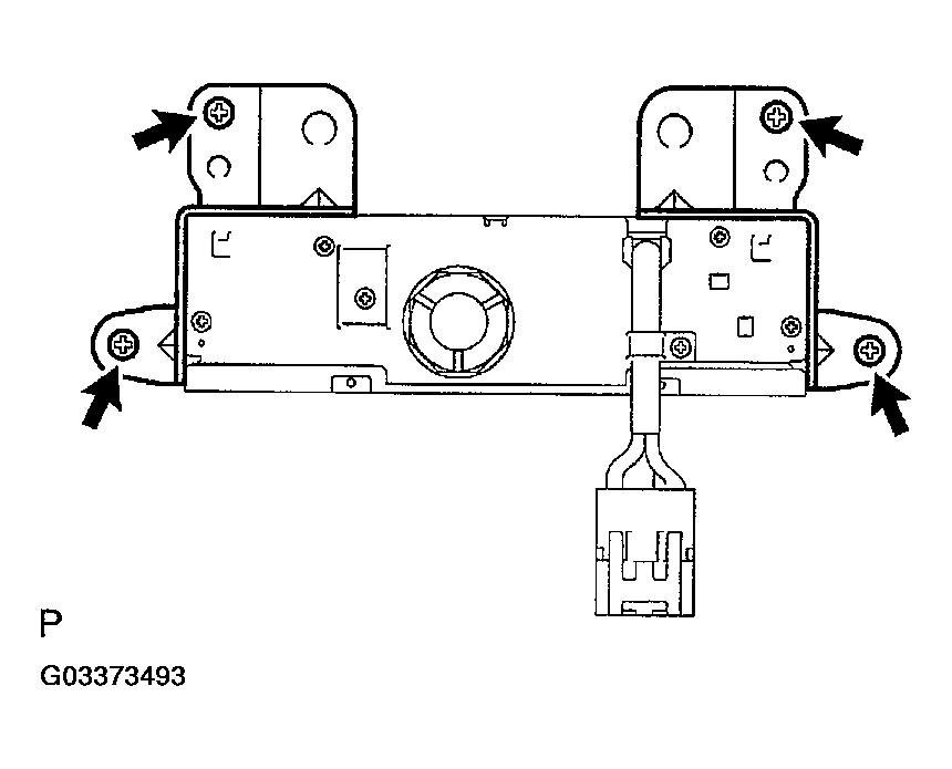
  5. REMOVE DISC PLAYER CONTROLLER W/BRACKET 
    1. Remove the 4 screws, and disc player controller w/bracket.
      Fig 1: Removing Disc Player Controller W/Bracket
      G03373493Courtesy of © TOYOTA, LICENSE AGREEMENT TMS1002
  6. REMOVE DISC PLAYER BRACKET 
    1. Remove the 2 screws, and disc player bracket.
      Fig 2: Removing Disc Player Bracket
      G03373494Courtesy of © TOYOTA, LICENSE AGREEMENT TMS1002
  7. REMOVE BRACKET 
    1. Remove the 2 screws, and bracket.
      Fig 3: Removing Bracket
      G03373495Courtesy of © TOYOTA, LICENSE AGREEMENT TMS1002