LEMON Manuals: Even more car manuals for everyone: 1960-2025
Home >> Lexus >> 2003 >> GX 470 >> Repair and Diagnosis >> Electrical >> Gauges >> Instrument Panel/Meter >> Combination Meter >> Inspection
April 5, 2026: LEMON Manuals is launched! Read the announcement.

Combination Meter: Inspection

  1. LIGHT CONTROL RHEOSTAT ASSY 
    1. Check the continuity of light control rheostat when light control rheostat operation as shown in chart below.

      Standard: 

      Fig 1: Identifying Light Control Rheostat Specified Condition Table
      G01323718Courtesy of © TOYOTA, LICENSE AGREEMENT TMS1002
    2. Check resistance.
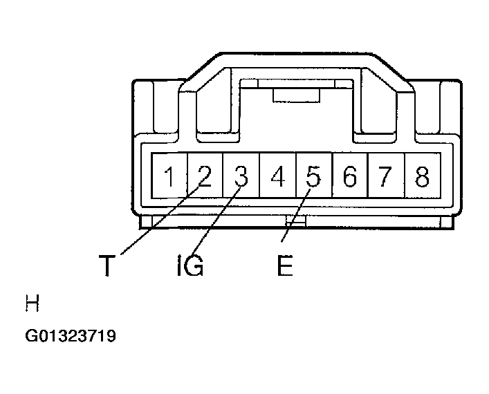
      1. Check the resistance between terminal 4 (RV) and terminal 3 (T) when operating the light control rheostat volume knob. Also, check that the resistance changes continuously.

        Standard Resistance: 

        Turn the knob to maximum: Approx. 10 kΩ 

        Turn the knob to minimum: Approx. 0 kΩ 

        Fig 2: Identifying Light Control Rheostat Connector Terminals
        G01323719Courtesy of © TOYOTA, LICENSE AGREEMENT TMS1002
        Fig 3: Rheostat Resistance Graph
        G01323720Courtesy of © TOYOTA, LICENSE AGREEMENT TMS1002