LEMON Manuals: Even more car manuals for everyone: 1960-2025
Home >> Lexus >> 2003 >> GX 470 >> Repair and Diagnosis >> External Pages >> Different car >> Section 53 (Anti-Lock) >> Diagnostic Trouble Code Definitions >> DTC C0279: Short Circuit In Abs Solenoid Relay Circuit & DTC C0278: Open Circuit In Abs Solenoid Relay Circuit >> Testing Procedure
April 5, 2026: LEMON Manuals is launched! Read the announcement.

Testing Procedure

WARNING: This page is about a different car, the 2002 Lexus ES 300. However, it is still accessible from the selected car via links, so may be relevant.

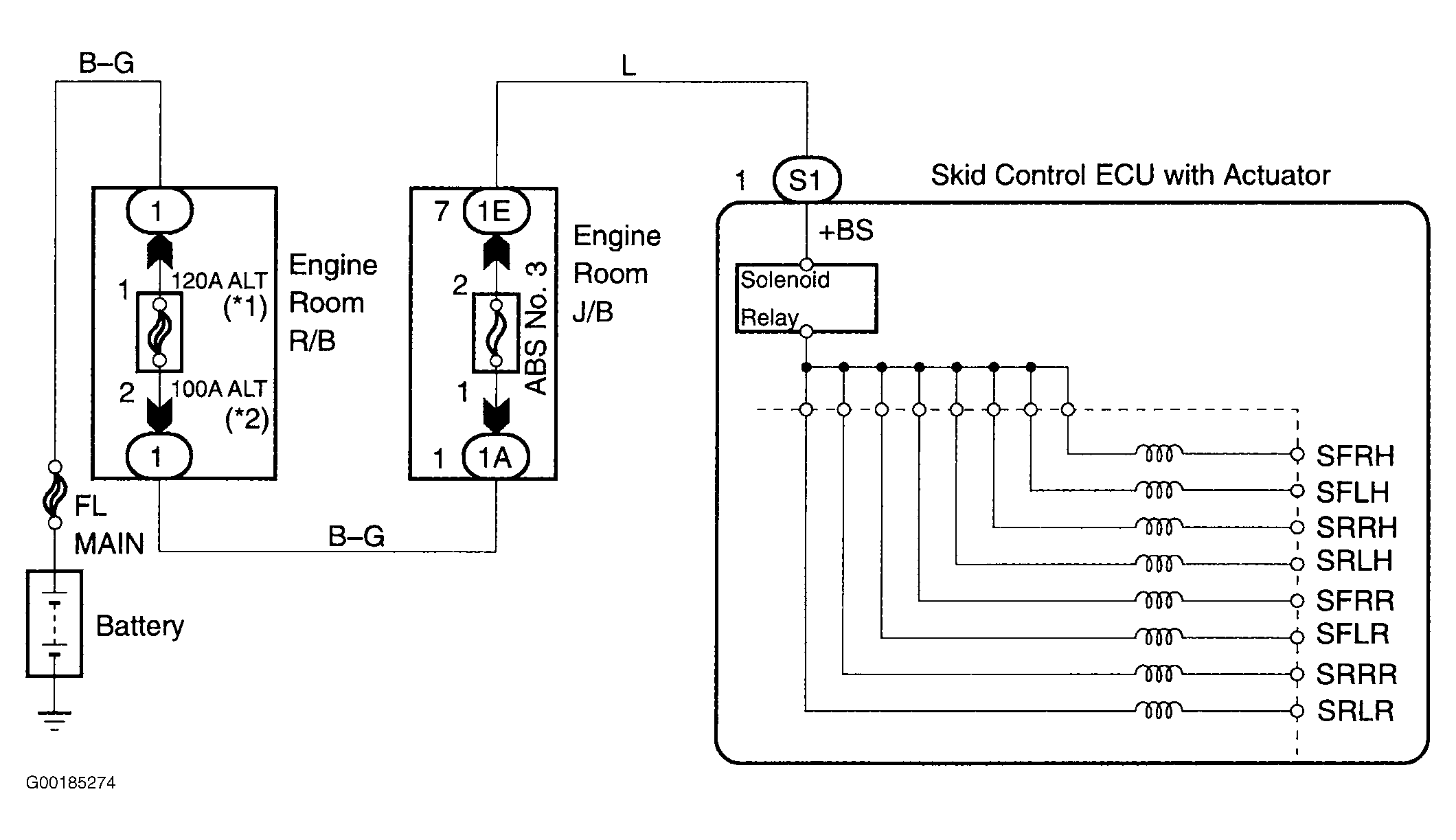
For wiring diagram, see Fig 1. For testing procedure, see Fig 2.

Fig 1: Wiring Diagram (ABS Solenoid Relay Circuit)
G00185274Courtesy of © TOYOTA, LICENSE AGREEMENT TMS1002
Fig 2: Testing Procedure (ABS Solenoid Relay Circuit)
G00185275Courtesy of © TOYOTA, LICENSE AGREEMENT TMS1002