LEMON Manuals: Even more car manuals for everyone: 1960-2025
Home >> Lexus >> 2003 >> LS 430 V8-4.3L (3UZ-FE) >> Repair and Diagnosis >> Relays and Modules >> Relays and Modules - Lighting and Horns >> Headlamp Alignment Control Module >> Testing and Inspection >> Component Tests and General Diagnostics
April 5, 2026: LEMON Manuals is launched! Read the announcement.

Component Tests and General Diagnostics

INSPECTION







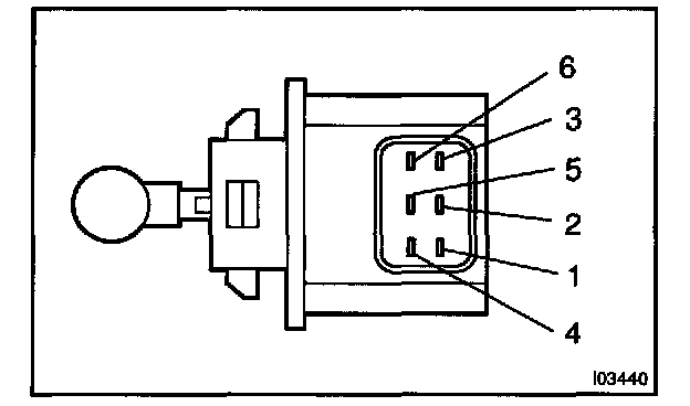
1. INSPECT HEADLIGHT BEAM LEVEL CONTROL ACTUATOR RESISTANCE
a. Check that continuity exists between terminal 2 and 5.
b. Check that resistance exists between terminal, as shown in the chart.
If resistance value is not as specified, replace the actuator.







2. Connector disconnected:
INSPECT HEADLIGHT BEAM LEVEL CONTROL ECU CIRCUIT
Disconnect the connector from the ECU and inspect the connector on the wire harness side, as shown.
If circuit is not as specified, perform the inspection.







3. Connector connected:
INSPECT HEADLIGHT BEAM LEVEL CONTROL ECU CIRCUIT
Connect the connector from the ECU and inspect the connector on the back side, as shown in the chart.
If the circuit is not as specified, replace the ECU.