LEMON Manuals: Even more car manuals for everyone: 1960-2025
Home >> Lexus >> 2003 >> LS 430 >> Repair and Diagnosis >> Body & Frame >> Door Locks >> Power Door Lock Control System >> Inspection
April 5, 2026: LEMON Manuals is launched! Read the announcement.

Power Door Lock Control System: Inspection

  1. INSPECT PASSENGER'S DOOR LOCK CONTROL SWITCH CONTINUITY 
    CONNECTOR TERMINALS SPECIFIED CONDITION

    Switch position Tester connection Specified condition
    LOCK 2 - 3 Continuity
    OFF - No continuity
    UNLOCK 1 - 2 Continuity

    If continuity is not as specified, replace the switch.

    Fig 1: Identifying Passenger'S Door Lock Control Switch Terminals
    G03376984Courtesy of © TOYOTA, LICENSE AGREEMENT TMS1002
  2. INSPECT PASSENGER'S DOOR LOCK CONTROL INDICATOR LIGHT OPERATION 

    Connect the positive (+) lead from the battery to terminal 4 and the negative (-) lead to terminal 2, and check that the indicator light does not light up, replace the switch.

    Fig 2: Inspecting Passenger'S Door Lock Control Indicator Light Operation
    G03376985Courtesy of © TOYOTA, LICENSE AGREEMENT TMS1002
  3. Driver's Door (w/o door closer): INSPECT DOOR KEY LOCK AND UNLOCK SWITCH CONTINUITY 
    CONNECTOR TERMINALS SPECIFIED CONDITION

    Switch position Tester connection Specified condition
    LOCK 2 - 4 Continuity
    OFF - No continuity
    UNLOCK 2 - 3 Continuity

    If continuity is not as specified, replace the switch.

    Fig 3: Inspecting Door Key Lock And Unlock Switch Continuity
    G03376986Courtesy of © TOYOTA, LICENSE AGREEMENT TMS1002
  4. Driver's Door (w/o door closer): INSPECT DOOR UNLOCK DETECTION SWITCH CONTINUITY 
    CONNECTOR TERMINALS SPECIFIED CONDITION

    Switch position Tester connection Specified condition
    OFF (Door Lock set to LOCK) - No continuity
    ON (Door Lock set to UNLOCK) 1 - 2 Continuity

    If continuity is not as specified, replace the switch.

    Fig 4: Inspecting Door Unlock Detection Switch Continuity - Driver's Door (W/O Door Closer)
    G03376987Courtesy of © TOYOTA, LICENSE AGREEMENT TMS1002
  5. Passenger's Door (w/o door closer): INSPECT DOOR UNLOCK DETECTION SWITCH CONTINUITY 
    CONNECTOR TERMINALS SPECIFIED CONDITION

    Switch position Tester connection Specified condition
    OFF (Door Lock set to LOCK) - No continuity
    ON (Door Lock set to UNLOCK) 3 - 4 Continuity

    If continuity is not as specified, replace the switch.

    Fig 5: Inspecting Door Unlock Detection Switch Continuity - Passenger's Door (W/O Door Closer)
    G03376988Courtesy of © TOYOTA, LICENSE AGREEMENT TMS1002
  6. Rear LH Door (w/o door closer): INSPECT DOOR UNLOCK DETECTION SWITCH CONTINUITY 
    CONNECTOR TERMINALS SPECIFIED CONDITION

    Switch position Tester connection Specified condition
    OFF (Door Lock set to LOCK) - No continuity
    ON (Door Lock set to UNLOCK) 1 - 2 Continuity

    If continuity is not as specified, replace the switch.

    Fig 6: Inspecting Door Unlock Detection Switch Continuity - Rear LH Door (W/O Door Closer)
    G03376989Courtesy of © TOYOTA, LICENSE AGREEMENT TMS1002
  7. Rear RH Door (w/o door closer): INSPECT DOOR UNLOCK DETECTION SWITCH CONTINUITY 
    CONNECTOR TERMINALS SPECIFIED CONDITION

    Switch position Tester connection Specified condition
    OFF (Door Lock set to LOCK) - No continuity
    ON (Door Lock set to UNLOCK) 3 - 4 Continuity

    If continuity is not as specified, replace the switch.

    Fig 7: Inspecting Door Unlock Detection Switch Continuity - Rear RH Door (W/O Door Closer)
    G03376990Courtesy of © TOYOTA, LICENSE AGREEMENT TMS1002
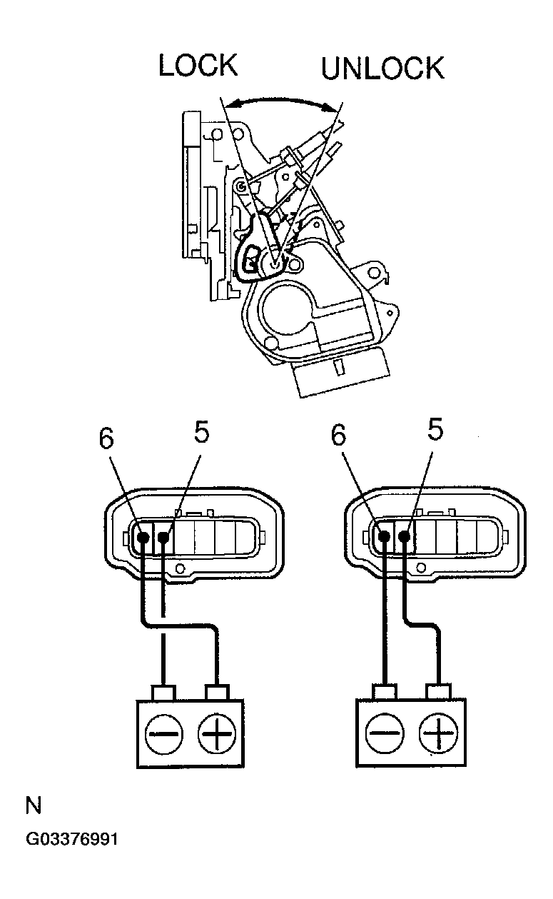
  8. Driver's door (w/o door closer): INSPECT DOOR LOCK MOTOR OPERATION 
    1. Connect the positive (+) lead from the battery to terminal 6 and the negative (-) lead to terminal 5, and check that the door lock link moves to UNLOCK position.
    2. Reverse the polarity and. check that the door lock link moves to LOCK position.

      If operation is not as specified, replace the door lock assembly.

      Fig 8: Inspecting Door Lock Motor Operation - Driver'S Door (W/O Door Closer)
      G03376991Courtesy of © TOYOTA, LICENSE AGREEMENT TMS1002
  9. Passenger's Door (w/o door closer): INSPECT DOOR LOCK MOTOR OPERATION 
    1. Connect the positive (+) lead from the battery to terminal 2 and the negative (-) lead to terminal 1, and check that the door lock link moves to UNLOCK position.
    2. Reverse the polarity and check that the door lock link moves to LOCK position.

      If operation is not as specified, replace the door lock assembly.

      Fig 9: Inspecting Door Lock Motor Operation - Passenger'S Door (W/O Door Closer)
      G03376992Courtesy of © TOYOTA, LICENSE AGREEMENT TMS1002
  10. Rear LH Door (w/o door closer): INSPECT DOOR LOCK MOTOR OPERATION 
    1. Connect the positive (+) lead from the battery to terminal 4 and the negative (-) lead to terminal 3, and check that the door lock link moves to UNLOCK position.
    2. Reverse the polarity and check that the door lock link moves to LOCK position.

      If operation is not as specified, replace the door lock assembly.

      Fig 10: Inspecting Door Lock Motor Operation - Rear LH Door (W/O Door Closer)
      G03376993Courtesy of © TOYOTA, LICENSE AGREEMENT TMS1002
  11. Driver's Door (w/ door closer): INSPECT DOOR KEY LOCK AND UNLOCK SWITCH CONTINUITY 
    CONNECTOR TERMINALS SPECIFIED CONDITION

    Switch position Tester connection Specified condition
    LOCK 10 - 21 Continuity
    OFF - No continuity
    UNLOCK 9 - 21 Continuity

    If continuity is not as specified, replace the switch.

    Fig 11: Inspecting Door Key Lock And Unlock Switch Continuity - Driver'S Door (W/ Door Closer)
    G03376994Courtesy of © TOYOTA, LICENSE AGREEMENT TMS1002
  12. Driver's Door (w/ door closer): INSPECT DOOR UNLOCK DETECTION SWITCH CONTINUITY 
    CONNECTOR TERMINALS SPECIFIED CONDITION

    Switch position Tester connection Specified condition
    OFF (Door Lock set to LOCK) - No continuity
    ON (Door Lock set to UNLOCK) 7 - 20 Continuity

    If continuity is not as specified, replace the switch.

    Fig 12: Inspecting Door Unlock Detection Switch Continuity - Driver'S Door (W/ Door Closer)
    G03376995Courtesy of © TOYOTA, LICENSE AGREEMENT TMS1002
  13. Passenger's Door (w/ door closer): INSPECT DOOR UNLOCK DETECTION SWITCH CONTINUITY 
    CONNECTOR TERMINALS SPECIFIED CONDITION

    Switch position Tester connection Specified condition
    OFF (Door Lock set to LOCK) - No continuity
    ON (Door Lock set to UNLOCK) 3 - 4 Continuity

    If continuity is not as specified, replace the switch.

    Fig 13: Inspecting Door Unlock Detection Switch Continuity - Passenger'S Door (W/ Door Closer)
    G03376996Courtesy of © TOYOTA, LICENSE AGREEMENT TMS1002
  14. Rear LH Door (w/ door closer): INSPECT DOOR UNLOCK DETECTION SWITCH CONTINUITY 
    CONNECTOR TERMINALS SPECIFIED CONDITION

    Switch position Tester connection Specified condition
    OFF (Door Lock set to LOCK) - No continuity
    ON (Door Lock set to UNLOCK) 7 - 20 Continuity

    If continuity is not as specified, replace the switch.

    Fig 14: Inspecting Door Unlock Detection Switch Continuity - Rear LH Door (W/ Door Closer)
    G03376997Courtesy of © TOYOTA, LICENSE AGREEMENT TMS1002
  15. Rear RH Door (w/ door closer): INSPECT DOOR UNLOCK DETECTION SWITCH CONTINUITY 
    CONNECTOR TERMINALS SPECIFIED CONDITION

    Switch position Tester connection Specified condition
    OFF (Door Lock set to LOCK) - No continuity
    ON (Door Lock set to UNLOCK) 7 - 20 Continuity

    If continuity is not as specified, replace the switch.

    Fig 15: Inspecting Door Unlock Detection Switch Continuity - Rear RH Door (W/ Door Closer)
    G03376998Courtesy of © TOYOTA, LICENSE AGREEMENT TMS1002
  16. Front Door (w/ door closer): INSPECT DOOR LOCK MOTOR OPERATION 
    1. Connect the positive (+) lead from the battery to terminal 2 and the negative (-) lead to terminal 1, and check that the door lock link moves to UNLOCK position.
    2. Reverse the polarity and check that the door lock link moves to LOCK position.

      If operation is not as specified, replace the door lock assembly.

      Fig 16: Inspecting Door Lock Motor Operation - Front Door (W/ Door Closer)
      G03376999Courtesy of © TOYOTA, LICENSE AGREEMENT TMS1002
  17. Rear Door (w/ door closer): INSPECT DOOR LOCK MOTOR OPERATION 
    1. Connect the positive (+) lead from the battery to terminal 2 and the negative (-) lead to terminal 1, and check that the door lock link moves to UNLOCK position.
    2. Reverse the polarity and check that the door lock link moves to LOCK position.

      If operation is not as specified, replace the door lock assembly.

      Fig 17: Inspecting Door Lock Motor Operation - Rear Door (W/ Door Closer)
      G03377000Courtesy of © TOYOTA, LICENSE AGREEMENT TMS1002
  18. INSPECT LUGGAGE COMPARTMENT DOOR OPENER MAIN SWITCH CONTINUITY 
    CONNECTOR TERMINALS SPECIFIED CONDITION

    Switch position Tester connection Specified condition
    OFF (Push) - No continuity
    ON (Push and turn) 1 - 2 Continuity

    If continuity is not as specified, replace the switch.

  19. INSPECT LUGGAGE COMPARTMENT DOOR OPENER MAIN SWITCH CONTINUITY 
    CONNECTOR TERMINALS SPECIFIED CONDITION

    Switch position Tester connection Specified condition
    OFF 2 - B Continuity
    ON (Pull) 1.- L
    2 - B
    Continuity

    If continuity is not as specified, replace the switch.

  20. INSPECT LUGGAGE COMPARTMENT DOOR OPENER SWITCH AND MAIN SWITCH CIRCUIT (See  LUGGAGE COMPARTMENT DOOR KEY LOCK AND UNLOCK SWITCH CIRCUIT  ) 
    Fig 18: Inspecting Luggage Compartment Door Opener Main Switch Continuity
    G03377001Courtesy of © TOYOTA, LICENSE AGREEMENT TMS1002