LEMON Manuals: Even more car manuals for everyone: 1960-2025
Home >> Lexus >> 2003 >> LS 430 >> Repair and Diagnosis >> Body & Frame >> Seats >> Front Seat >> Disassembly
April 5, 2026: LEMON Manuals is launched! Read the announcement.

Front Seat: Disassembly

  1. REMOVE FRONT SEAT UNDER TRAY 

    Remove the 4 screws and front seat under tray.

  2. REMOVE FRONT SEAT UNDER TRAY RAIL 
  3. REMOVE POWER SEAT SWITCH KNOBS 
  4. REMOVE SEAT POSITION SENSOR ASSEMBLY 

    Remove the bolt and seat position sensor assembly.

    Fig 1: Removing Seat Position Sensor Assembly
    G03377458Courtesy of © TOYOTA, LICENSE AGREEMENT TMS1002
  5. REMOVE FRONT SEAT CUSHION SHIELD 

    Remove the 4 screws and front seat cushion shield.

    Fig 2: Removing Front Seat Cushion Shield
    G03377459Courtesy of © TOYOTA, LICENSE AGREEMENT TMS1002
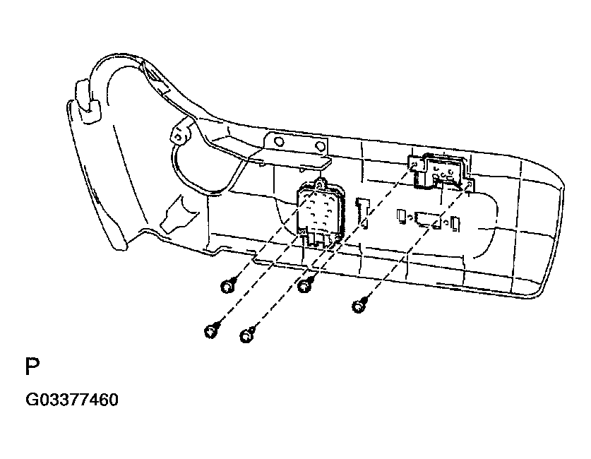
  6. REMOVE SEAT CUSHION SWITCH AND POWER LUMBER SUPPORT SWITCH 
    1. Disconnect the connectors.
    2. Remove the 2 screws and seat cushion switch.
    3. Remove the 3 screws and power lumber support switch.
      Fig 3: Removing Seat Cushion Switch And Power Lumber Support Switch
      G03377460Courtesy of © TOYOTA, LICENSE AGREEMENT TMS1002
  7. REMOVE FRONT SEAT HINGE COVER 

    Remove the 2 screws and front seat hinge cover.

  8. REMOVE FRONT SEAT INNER BELT 

    Remove the nut and front seat inner belt.

    Fig 4: Removing Front Seat Hinge Cover
    G03377461Courtesy of © TOYOTA, LICENSE AGREEMENT TMS1002
  9. REMOVE FRONT SEAT CUSHION INNER SHIELD 

    Remove the 3 screws and front seat cushion inner shield.

    Fig 5: Removing Front Seat Cushion Inner Shield
    G03377462Courtesy of © TOYOTA, LICENSE AGREEMENT TMS1002
  10. REMOVE FRONT SEAT CUSHION FRONT SHIELD 
    1. Remove the 4 screws.
    2. Slide the front seat cushion front shield toward to remove it.
  11. REMOVE POWER SEAT SWITCH 
    Fig 6: Removing Front Seat Cushion Front Shield
    G03377463Courtesy of © TOYOTA, LICENSE AGREEMENT TMS1002
  12. REMOVE FRONT SEATBACK BOARD 
    1. Remove the 2 screws.
    2. Remove the front seatback board as shown in the illustration.
  13. REMOVE SEATBACK ASSEMBLY 
    1. Climate control seat: Remove the 3 screws and disconnect the air duct.
    2. Disconnect the connectors and disengage the clamps.
      Fig 7: Removing Front Seatback Board
      G03377464Courtesy of © TOYOTA, LICENSE AGREEMENT TMS1002
    3. Remove the 4 bolts and seatback assembly.
  14. REMOVE HEADREST 

    Remove the headrest from the seatback assembly.

  15. REMOVE HEADREST SUPPORTS 
    Fig 8: Removing Seatback Assembly
    G03377465Courtesy of © TOYOTA, LICENSE AGREEMENT TMS1002
  16. REMOVE SEATBACK FRAME 
    1. Remove the bolt and seat cover hook.
    2. Remove the seatback frame from the seatback cover with pad.
      NOTE: Do not damage the side airbag assembly.
  17. REMOVE SEATBACK COVER 

    Remove the hog rings and seatback cover from the seatback pad.

    Fig 9: Removing Seatback Frame
    G03377466Courtesy of © TOYOTA, LICENSE AGREEMENT TMS1002
  18. REMOVE HEADREST ADJUSTER 
    1. Disengage the connector clamps.
    2. Remove the 3 bolts and headrest adjuster from the seat-back frame.
      Fig 10: Removing Headrest Adjuster
      G03377467Courtesy of © TOYOTA, LICENSE AGREEMENT TMS1002
  19. Climate control seat: REMOVE AIR DUCT 

    Remove the 2 screws, bracket and air duct from the seatback frame.

    Fig 11: Removing Climate Control Seat Air Duct
    G03377468Courtesy of © TOYOTA, LICENSE AGREEMENT TMS1002
  20. REMOVE LUMBER SUPPORT ADJUSTER 
    1. Remove the 2 bolts, lumber support adjuster and spacer.
    2. Employ the same manner described) above to the other side.
      Fig 12: Removing Lumber Support Adjuster
      G03377469Courtesy of © TOYOTA, LICENSE AGREEMENT TMS1002
  21. Climate control seat: REMOVE AIR RESERVOIR ASSEMBLY 
    1. Disengage the seat cushion cover hook.
    2. Disconnect the connectors and disengage the connector clamps.
    3. Remove the bolt and air reservoir duct.
      Fig 13: Removing Air Reservoir Duct
      G03377470Courtesy of © TOYOTA, LICENSE AGREEMENT TMS1002
  22. REMOVE LOWER SEAT CUSHION SHIELD 

    Remove the 4 nuts and lower seat cushion shield.

    Fig 14: Removing Lower Seat Cushion Shield
    G03377471Courtesy of © TOYOTA, LICENSE AGREEMENT TMS1002
  23. REMOVE SEAT CUSHION ASSEMBLY 

    Remove the 4 bolts and seat cushion assembly.

  24. REMOVE SEAT CUSHION FRAME 

    Disengage the seat cushion cover hook, then remove the seat cushion frame from the seat cushion cover with pad.

  25. REMOVE SEAT CUSHION COVER 

    Remove the hog rings and seat cushion cover from the seat cushion pad.

    Fig 15: Removing Seat Cushion Assembly
    G03377472Courtesy of © TOYOTA, LICENSE AGREEMENT TMS1002
  26. REMOVE RECLINING ADJUSTER INSIDE COVER 
    1. Remove the screw and reclining adjuster inside cover.
    2. Employ the same manner described above to the other side.
      Fig 16: Removing Reclining Adjuster Inside Cover
      G03377473Courtesy of © TOYOTA, LICENSE AGREEMENT TMS1002
  27. REMOVE POWER RECLINING ADJUSTER ASSEMBLY 

    Using a torx socket wrench, remove the 4 torx screws and power reclining adjuster assembly.

    Torx socket wrench: T40 (Part No. 09042-00020 or locally manufactured tool) 

    Fig 17: Removing Power Reclining Adjuster Assembly
    G03377474Courtesy of © TOYOTA, LICENSE AGREEMENT TMS1002
  28. REMOVE RECLINING MOTOR 
    1. Remove the 2 bolts and reclining motor assembly.
    2. Remove the 2 screws and reclining motor from the bracket.
      Fig 18: Removing Reclining Motor
      G03377475Courtesy of © TOYOTA, LICENSE AGREEMENT TMS1002
  29. REMOVE TILT MOTOR 

    Remove the 2 screws and tilt motor.

  30. REMOVE LIFTER MOTOR 

    Remove the 2 screws and lifter motor.

    Fig 19: Removing Tilt Motor
    G03377476Courtesy of © TOYOTA, LICENSE AGREEMENT TMS1002
  31. REMOVE NO. 1 SEAT CUSHION PLATE 

    Remove the 2 bolts and No. 1 seat cushion plate.

  32. REMOVE SEAT CUSHION SPRING 
    Fig 20: Removing No. 1 Seat Cushion Plate
    G03377477Courtesy of © TOYOTA, LICENSE AGREEMENT TMS1002
  33. REMOVE FRONT SEAT TRAVEL NO. 1 LINK 
    1. Remove the bolt and front seat travel No. 1 link.
    2. Employ the same manner described above to the other side.
      Fig 21: Removing Front Seat Travel No. 1 Link
      G03377478Courtesy of © TOYOTA, LICENSE AGREEMENT TMS1002
  34. REMOVE SLIDE MOTOR 

    Remove the 2 screws and slide motor.

  35. REMOVE SEAT CUSHION SLIDE MOTOR 

    Remove the 2 screws and seat cushion slide motor.

    Fig 22: Removing Slide Motor
    G03377479Courtesy of © TOYOTA, LICENSE AGREEMENT TMS1002