LEMON Manuals: Even more car manuals for everyone: 1960-2025
Home >> Lexus >> 2003 >> LS 430 >> Repair and Diagnosis >> Body & Frame >> Seats >> Power Seat Control System >> Inspection
April 5, 2026: LEMON Manuals is launched! Read the announcement.

Power Seat Control System: Inspection

  1. INSPECT FRONT PASSENGER'S POWER SEAT SWITCH CONTINUITY 

    Slide switch: 

    CONNECTOR TERMINALS SPECIFIED CONDITION

    Switch position Tester connection Specified condition
    FRONT 1 - 9
    4 - 6
    Continuity
    OFF 4 - 6
    4 - 9
    Continuity
    BACK 1 - 6
    4 - 9
    Continuity

    Reclining switch: 

    CONNECTOR TERMINALS SPECIFIED CONDITION

    Switch position Tester connection Specified condition
    FORWARD 1 - 3
    2 - 4
    Continuity
    OFF 2 - 4
    3 - 4
    Continuity
    REAR 1 - 2
    3 - 4
    Continuity
    Fig 1: Inspecting Front Passenger'S Power Seat Switch Continuity
    G03377021Courtesy of © TOYOTA, LICENSE AGREEMENT TMS1002

    Front vertical switch: 

    CONNECTOR TERMINALS SPECIFIED CONDITION

    Switch position Tester connection Specified condition
    FORWARD 1 - 3
    2 - 4
    Continuity
    OFF 2 - 4
    3 - 4
    Continuity
    REAR 1 - 2
    3 - 4
    Continuity

    Lifter switch: 

    CONNECTOR TERMINALS SPECIFIED CONDITION

    Switch position Tester connection Specified condition
    FORWARD 1 - 3
    2 - 4
    Continuity
    OFF 2 -4
    3 - 4
    Continuity
    REAR 1 - 2
    3 - 4
    Continuity

    If continuity is not as specified, replace the switch.

  2. INSPECT FRONT PASSENGER'S POWER SEAT SWITCH CIRCUIT 
    1. Disconnect the switch connector and connect the seat wire harness to the floor wire harness.
    2. Inspect the connector on the wire harness side.
      Fig 2: Identifying Front Passenger'S Power Seat Switch Connector Terminals
      G03377022Courtesy of © TOYOTA, LICENSE AGREEMENT TMS1002
      CONNECTOR TERMINALS SPECIFIED CONDITION

      Tester connection Condition Specified condition
      6 - Ground Constant Continuity
      1 - Ground Constant Battery positive voltage

      If circuit is not as specified, inspect the circuits connected to other parts.

  3. INSPECT DRIVER'S LUMBAR SUPPORT SWITCH CONTINUITY 

    Upper side control: 

    CONNECTOR TERMINALS SPECIFIED CONDITION

    Switch position Tester connection Specified condition
    FORWARD 5 - 1
    4 - 6
    Continuity
    OFF 1 - 6
    4 - 6
    Continuity
    RELEASE 1 - 6
    4 - 5
    Continuity
    Fig 3: Identifying Driver'S Lumbar Support Switch Connector Terminals
    G03377023Courtesy of © TOYOTA, LICENSE AGREEMENT TMS1002

    Lower side control: 

    CONNECTOR TERMINALS SPECIFIED CONDITION

    Switch position Tester connection Specified condition
    FORWARD 2 - 5
    3 - 6
    Continuity
    OFF 2 - 6
    3 - 6
    Continuity
    RELEASE 2 - 6
    3 - 5
    Continuity

    If continuity is not as specified, replace the switch.

  4. INSPECT DRIVER'S LUMBAR SUPPORT SWITCH CIRCUIT 
    1. Disconnect the switch connector and connect the seat wire harness to the floor wire harness.
    2. Inspect the connector on the wire harness side.
      Fig 4: Identifying Driver'S Lumbar Support Switch Connector Terminals
      G03377024Courtesy of © TOYOTA, LICENSE AGREEMENT TMS1002
      CONNECTOR TERMINALS SPECIFIED CONDITION

      Tester connection Condition Specified condition
      6 - Ground Constant Continuity
      5 - Ground Constant Battery positive voltage

      If circuit is not as specified, inspect the circuits connected to other parts.

  5. INSPECT DRIVER'S SEAT CUSHION SWITCH CIRCUIT 
    CONNECTOR TERMINALS SPECIFIED CONDITION

    Switch position Tester connection Specified condition
    FORWARD 1 - 4 Continuity
    OFF - -
    RELEASE 2 - 4 Continuity

    If continuity is not as specified, replace the switch.

    Fig 5: Driver'S Seat Cushion Switch Connector Terminals
    G03377025Courtesy of © TOYOTA, LICENSE AGREEMENT TMS1002
  6. INSPECT PASSENGER'S LUMBAR SUPPORT SWITCH CIRCUIT 
    CONNECTOR TERMINALS SPECIFIED CONDITION

    Switch position Tester connection Specified condition
    FORWARD 1 - 4
    2 - 3
    Continuity
    OFF 1 - 3
    2 - 3
    2 - 4
    Continuity
    RELEASE 1 - 3
    2 - 4
    Continuity

    If continuity is not as specified, replace the switch.

    Fig 6: Identifying Passenger'S Lumbar Support Switch Connector Terminals
    G03377026Courtesy of © TOYOTA, LICENSE AGREEMENT TMS1002
  7. INSPECT PASSENGER'S LUMBAR SUPPORT SWITCH CIRCUIT 
    1. Disconnect the switch connector and connect the seat wire harness to the floor wire harness.
    2. Inspect the connector on the wire harness side.
      Fig 7: Identifying Passenger'S Lumbar Support Switch Connector Terminals
      G03377027Courtesy of © TOYOTA, LICENSE AGREEMENT TMS1002
      CONNECTOR TERMINALS SPECIFIED CONDITION

      Tester connection Condition Specified condition
      3 - Ground Constant Continuity
      4 - Ground Constant Battery positive voltage

      If circuit is not as specified, inspect the circuits connected to other parts.

  8. INSPECT PASSENGER POWER SEAT SUB SWITCH CONTINUITY 

    Slide switch: 

    CONNECTOR TERMINALS SPECIFIED CONDITION

    Switch position Tester connection Specified condition
    FRONT 5 - 10 Continuity
    OFF - Continuity
    REAR 6 - 10 Continuity

    Reclining switch: 

    CONNECTOR TERMINALS SPECIFIED CONDITION

    Switch position Tester connection Specified condition
    FRONT 4 - 10 Continuity
    OFF - Continuity
    REAR 9 - 10 Continuity
    Fig 8: Identifying Passenger Power Seat Sub Switch Connector Terminals
    G03377028Courtesy of © TOYOTA, LICENSE AGREEMENT TMS1002

    If continuity is not as specified, replace the switch.

  9. INSPECT REAR SEAT RETURN SWITCH CONTINUITY 
    CONNECTOR TERMINALS SPECIFIED CONDITION

    Switch position Tester connection Specified condition
    ON 6 - 9 Continuity

    If continuity is not as specified, replace the switch.

    Fig 9: Identifying Rear Seat Return Switch Connector Terminals
    G03377029Courtesy of © TOYOTA, LICENSE AGREEMENT TMS1002
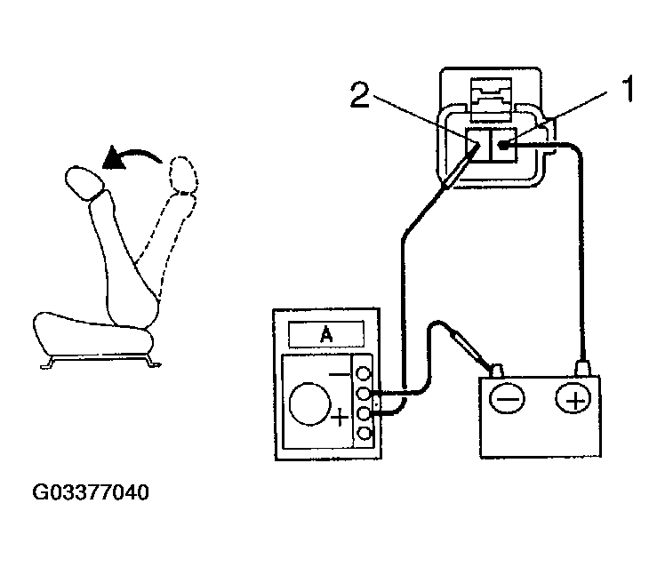
  10. Front seat: INSPECT SLIDE MOTOR OPERATION 
    1. Connect the positive (+) lead from the battery to terminal 2 and the negative (-) lead to terminal 1 and check that the motor turns counterclockwise.
    2. Reverse the polarity and check that the motor turns clockwise.

      If operation is not as specified, replace the motor.

      Fig 10: Inspecting Slide Motor Operation - Front Seat
      G03377030Courtesy of © TOYOTA, LICENSE AGREEMENT TMS1002
  11. Front seat: INSPECT SLIDE MOTOR PTC THERMISTOR OPERATION (): Passenger's seat 
    1. Connect the positive (+) lead from the battery to terminal 2(1) the positive (+) lead from the ammeter to terminal 1(2), and the negative (-) lead to battery negative (-) terminal, then move the seat to front position.
    2. Continue to apply voltage and check that the current changes to less than 1 ampere with 4 to 90 seconds.
      Fig 11: Inspecting Slide Motor PTC Thermistor Operation - Passenger'S Seat (1 Of 2)
      G03377031Courtesy of © TOYOTA, LICENSE AGREEMENT TMS1002
    3. Disconnect the lead from terminals.
    4. Approximately 60 seconds later, connect the positive (+) lead from battery to terminal 1(2) and the negative (-) lead to terminal 2(1) and check that the seat begins to move backwards.

      If operation is not as specified, replace the motor.

      Fig 12: Inspecting Slide Motor PTC Thermistor Operation - Passenger'S Seat (2 Of 2)
      G03377032Courtesy of © TOYOTA, LICENSE AGREEMENT TMS1002
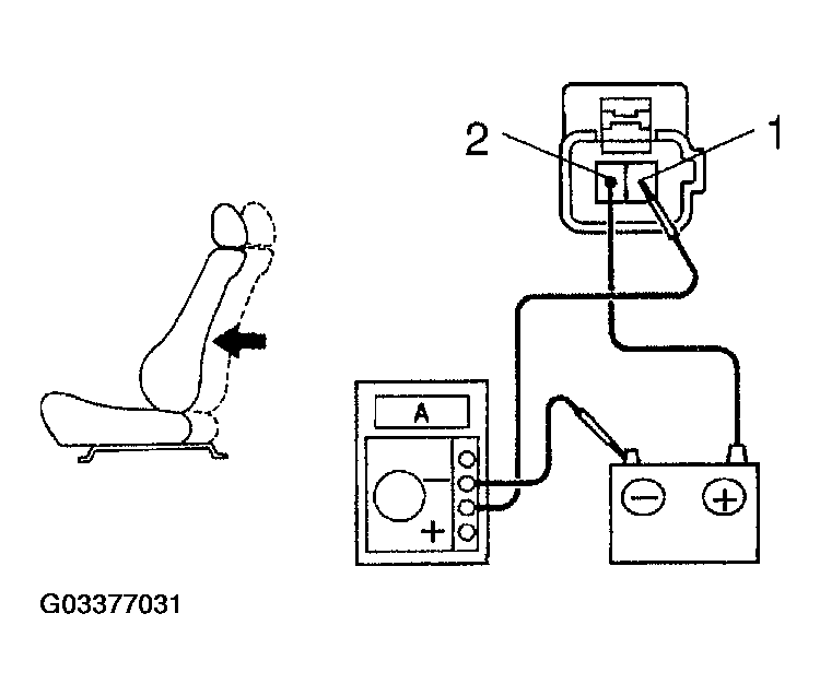
  12. Front seat: INSPECT FRONT VERTICAL MOTOR OPERATION (): Passenger's seat 
    1. Connect the positive (+) lead from the battery to terminal 2 and the negative (-) lead to terminal 1 and check that the motor turns clockwise.
    2. Reverse the polarity and check that the motor turns counterclockwise.

      If operation is not as specified, replace the motor.

      Fig 13: Inspecting Front Vertical Motor Operation
      G03377033Courtesy of © TOYOTA, LICENSE AGREEMENT TMS1002
  13. Front seat: INSPECT FRONT VERTICAL MOTOR PTC THERMISTOR OPERATION (): Passenger's seat 
    1. Connect the positive (+) lead from the battery to terminal 1(2), the positive (+) lead from the ammeter to terminal 2(1) and the negative (-) lead to battery negative (-) terminal, then move the front edge of seat cushion to the highest position.
      Fig 14: Inspecting Front Vertical Motor PTC Thermistor Operation (1 Of 2)
      G03377034Courtesy of © TOYOTA, LICENSE AGREEMENT TMS1002
    2. Continue to apply voltage, and check the current changes to less than 1 ampere with 4 to 90 seconds.
    3. Disconnect the leads from terminals.
    4. Approximately 60 seconds later, connect the positive (+) lead from battery to terminal 2(1) and the negative (-) lead to terminal 1(2), and check that the seat cushion begins to descend.

      If operation is not as specified, replace the motor.

      Fig 15: Inspecting Front Vertical Motor PTC Thermistor Operation (2 Of 2)
      G03377035Courtesy of © TOYOTA, LICENSE AGREEMENT TMS1002
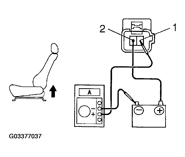
  14. Front seat: INSPECT LIFTER MOTOR OPERATION 
    1. Connect the positive (+) lead from the battery to terminal 2 and the negative (-) lead to terminal 1, and check that the motor turns clockwise.
    2. Reverse the polarity, and check that the motor turns counterclockwise.

      If operation is not as specified, replace the motor.

      Fig 16: Inspecting Lifter Motor Operation
      G03377036Courtesy of © TOYOTA, LICENSE AGREEMENT TMS1002
  15. Front seat: INSPECT LIFTER MOTOR PTC THERMISTOR OPERATION (): Passenger's seat 
    1. Connect the positive (+) lead from the battery to terminal 2(1) the positive (+) lead from the ammeter to terminal 1(2) and the negative (-) lead to battery negative (-) terminal, then move the rear edge of seat cushion to the highest position.
    2. Continue to apply voltage, and check that the current changes to less than 1 ampere with 4 to 90 seconds.
      Fig 17: Inspecting Lifter Motor PTC Thermistor Operation (1 Of 2)
      G03377037Courtesy of © TOYOTA, LICENSE AGREEMENT TMS1002
    3. Disconnect the leads from terminals.
    4. Approximately 60 seconds later, connect the positive (+) lead from battery to terminal 1(2) and the negative (-) lead to terminal 2(1) and check that the seat cushion begins to descend.

      If operation is not as specified, replace the motor.

      Fig 18: Inspecting Lifter Motor PTC Thermistor Operation (2 Of 2)
      G03377038Courtesy of © TOYOTA, LICENSE AGREEMENT TMS1002
  16. Front seat: INSPECT RECLINING MOTOR OPERATION 
    1. Connect the positive (+) lead from the battery to terminal 2 and the negative (-) lead to terminal 1, and check that the motor turns counterclockwise.
    2. Reverse the polarity, and check that the motor turns clockwise.

      If operation is not as specified, replace the motor.

      Fig 19: Inspecting Reclining Motor Operation
      G03377039Courtesy of © TOYOTA, LICENSE AGREEMENT TMS1002
  17. Front seat: INSPECT RECLINING MOTOR PTC THERMISTOR OPERATION 
    1. Connect the positive (+) lead from the battery to terminal 1, the positive (+) lead from the ammeter to terminal 2 and the negative (-) lead to battery negative (-) terminal, then recline the seat back to the most forward position.
    2. Continue to apply voltage, and check that the current change to less than 1 ampere with 4 to 90 seconds.
      Fig 20: Inspecting Reclining Motor PTC Thermistor Operation (1 Of 2)
      G03377040Courtesy of © TOYOTA, LICENSE AGREEMENT TMS1002
    3. Disconnect the lead from terminals,
    4. Approximately 60 seconds later, connect the positive (+) lead from battery to terminal 2 and the negative (-) lead to terminal 1, check that the seat back starts to fall backwards.

      If operation is not as specified, replace the motor.

      Fig 21: Inspecting Reclining Motor PTC Thermistor Operation (2 Of 2)
      G03377041Courtesy of © TOYOTA, LICENSE AGREEMENT TMS1002
  18. Front seat: INSPECT LUMBAR SUPPORT MOTOR OPERATION (): Driver's Upper Side Control 
    1. Connect the positive (+) lead from the battery to terminal 1(2) and the negative (-) lead to terminal 2(1) and check that the lumbar support moves release side.
      Fig 22: Inspecting Lumbar Support Motor Operation (1 Of 2)
      G03377042Courtesy of © TOYOTA, LICENSE AGREEMENT TMS1002
    2. Reverse the polarity, and check that the lumbar support moves forward.

      If operation is not as specified, replace the motor.

      Fig 23: Inspecting Lumbar Support Motor Operation (2 Of 2)
      G03377043Courtesy of © TOYOTA, LICENSE AGREEMENT TMS1002
  19. Front seat: INSPECT LUMBAR SUPPORT MOTOR PTC THERMISTOR OPERATION 

    () : Driver's Upper Side Control 

    1. Connect the positive (+) lead from the battery to terminal 2(1) the positive (+) lead from the ammeter to terminal 1(2) and the negative (-) lead to battery negative (-) terminal, then move the front edge of seat cushion to the highest position.
    2. Continue to apply voltage, and check that the current changes to less than 1 ampere with 4 to 90 seconds.
      Fig 24: Inspecting Lumbar Support Motor PTC Thermistor Operation (1 Of 2)
      G03377044Courtesy of © TOYOTA, LICENSE AGREEMENT TMS1002
    3. Disconnect the leads from terminals.
    4. Approximately 60 seconds later, connect the positive (+) lead from battery to terminal 1(2), and the negative (-) lead to terminal 2(1) and check that the seat cushion begins to descend.

      If operation is not as specified, replace the motor.

      Fig 25: Inspecting Lumbar Support Motor PTC Thermistor Operation (2 Of 2)
      G03377045Courtesy of © TOYOTA, LICENSE AGREEMENT TMS1002
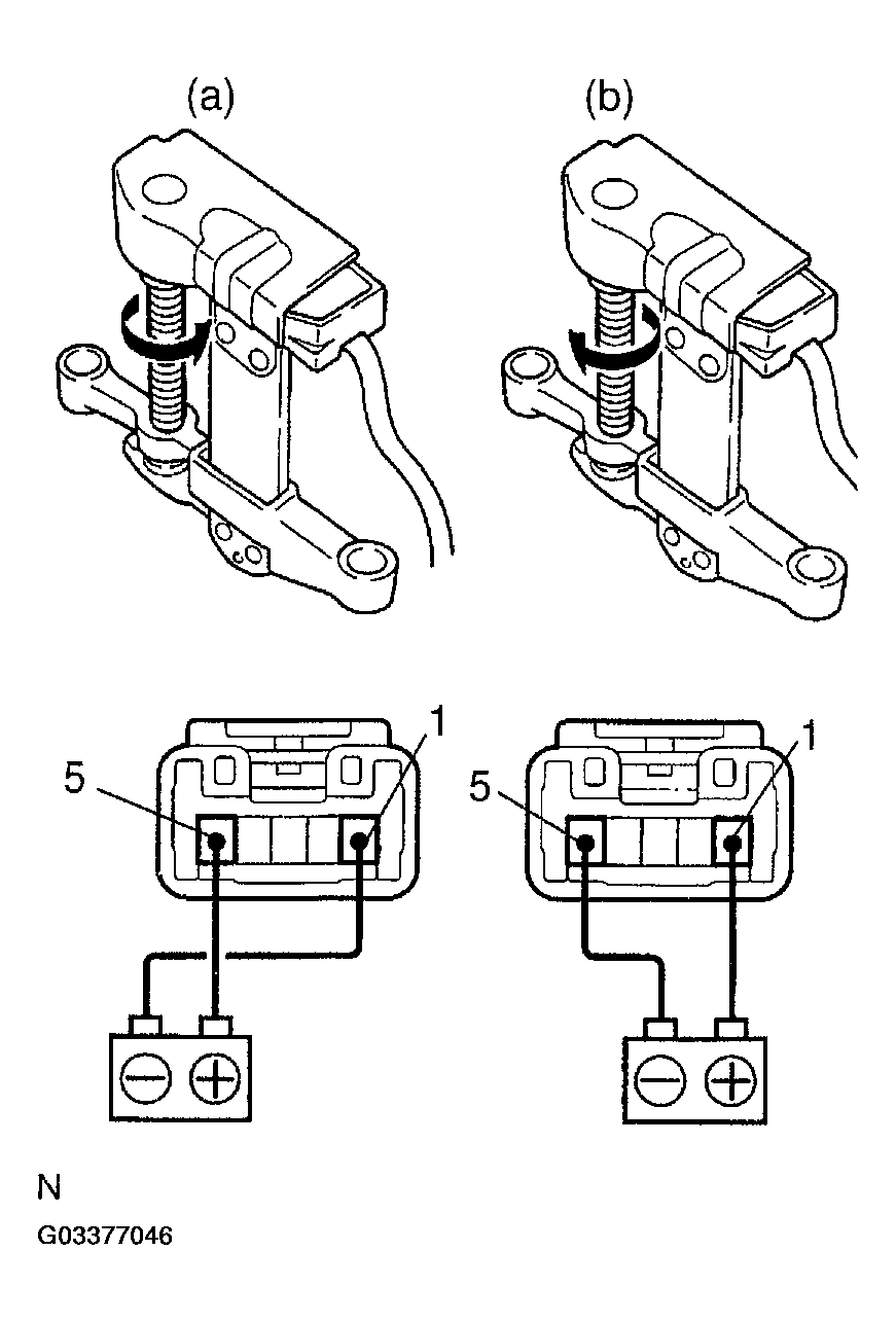
  20. Front seat: INSPECT HEADREST MOTOR OPERATION 
    1. Connect the positive (+) lead from the battery to terminal 1, and the negative (-) lead to terminal 5, and check that the motor turns counterclockwise.
    2. Reverse the polarity, and check that the motor turns clockwise.

      If operation is not as specified, replace the motor.

      Fig 26: Inspecting Headrest Motor Operation
      G03377046Courtesy of © TOYOTA, LICENSE AGREEMENT TMS1002
  21. Front seats: INSPECT HEADREST MOTOR CIRCUIT BREAKER OPERATION 
    1. Connect the positive (+) lead from the battery to terminal 1 and the negative (-) lead to terminal 5 on the motor connector and move the headrest to DOWN position.
      Fig 27: Inspecting Headrest Motor Circuit Breaker Operation (1 Of 2)
      G03377047Courtesy of © TOYOTA, LICENSE AGREEMENT TMS1002
    2. Continue to apply voltage, check that there is a circuit breaker operation noise within 4 to 60 seconds.
    3. Reverse the polarity check that the headrest begins to move UP side within approx. 60 seconds.

      If operation is not as specified, replace the motor.

      Fig 28: Inspecting Headrest Motor Circuit Breaker Operation (2 Of 2)
      G03377048Courtesy of © TOYOTA, LICENSE AGREEMENT TMS1002
  22. Rear seat: INSPECT SLIDE MOTOR OPERATION 
    1. Connect the positive (+) lead from the battery to terminal 2 and the negative (-) lead to terminal 1 and check that the motor turns counterclockwise.
    2. Reverse the polarity and check that the motor turns clockwise.

      If operation is not as specified, replace the motor.

      Fig 29: Inspecting Slide Motor Operation
      G03377049Courtesy of © TOYOTA, LICENSE AGREEMENT TMS1002
  23. Rear seat: INSPECT SLIDE MOTOR PTC THERMISTOR OPERATION 

    () : LH Seat Side Control 

    1. Connect the positive (+) lead from the battery to terminal 2(1) the positive (+) lead from the ammeter to terminal 1(2) and the negative (-) lead to battery negative (-) terminal, then move the seat to front position.
    2. Continue to apply voltage and check that the current changes to less than 1 ampere with 4 to 90 seconds.
      Fig 30: Inspecting Slide Motor PTC Thermistor Operation (1 Of 2)
      G03377050Courtesy of © TOYOTA, LICENSE AGREEMENT TMS1002
    3. Disconnect the leads from terminals.
    4. Approximately 60 seconds later, connect the positive (+) lead from battery to terminal 1(2), and the negative (-) lead to terminal 2(1) and check that the seat begins to move backwards.

      If operation is not as specified, replace the motor.

      Fig 31: Inspecting Slide Motor PTC Thermistor Operation (2 Of 2)
      G03377051Courtesy of © TOYOTA, LICENSE AGREEMENT TMS1002
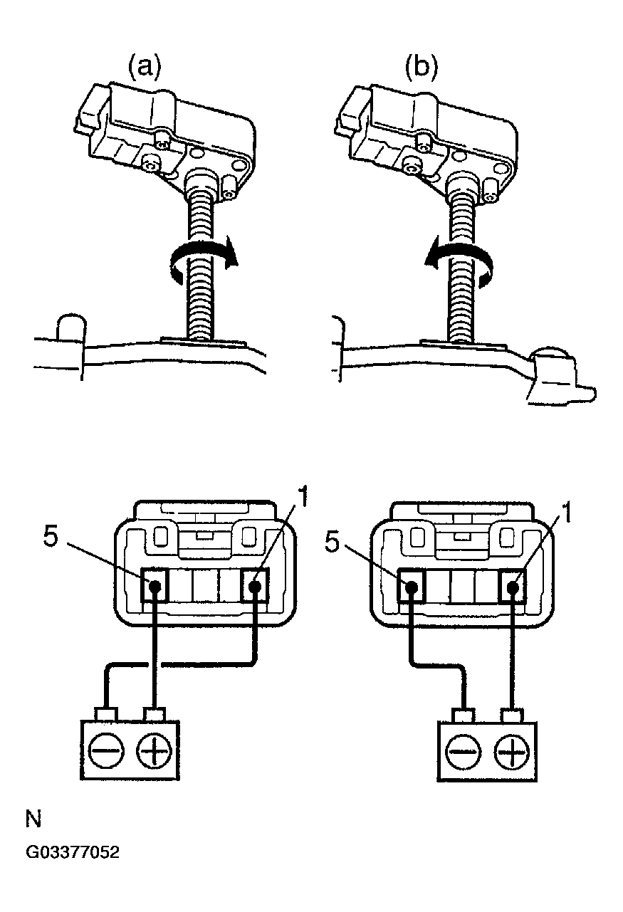
  24. Rear seat: INSPECT HEADREST MOTOR OPERATION 
    1. Connect the positive (+) lead from the battery to terminal 1, and the negative (-) lead to terminal 5, and check that the motor turns counterclockwise.
    2. Reverse the polarity, and check that the motor turns clockwise.

      If operation is not as specified, replace the motor.

      Fig 32: Inspecting Headrest Motor Operation
      G03377052Courtesy of © TOYOTA, LICENSE AGREEMENT TMS1002
  25. Rear seat: INSPECT HEADREST MOTOR CIRCUIT BREAKER OPERATION 
    1. Connect the positive (+) lead from the battery to terminal 1 and the negative (-) lead to terminal 5 on the motor connector and move the headrest to DOWN position.
      Fig 33: Inspecting Headrest Motor Circuit Breaker Operation (1 Of 2)
      G03377053Courtesy of © TOYOTA, LICENSE AGREEMENT TMS1002
    2. Continue to apply voltage, check that there is a circuit breaker operation noise within 4 to 60 seconds.
    3. Reverse the polarity check that the headrest begins to move UP side within approx. 60 seconds.

      If operation is not as specified, replace the motor.

      Fig 34: Inspecting Headrest Motor Circuit Breaker Operation (2 Of 2)
      G03377054Courtesy of © TOYOTA, LICENSE AGREEMENT TMS1002
  26. INSPECT SEAT VIBRATOR 

    Measure the resistance between terminals.

    RESISTANCE SPECIFICATIONS

    Between terminals Resistance(Ω)
    1 - 2 1.8 +/- 0.3
    1 or 2 - Body ground 5M
    3 - Body ground 0

    If resistance value is not as specified, replace the vibrator assembly.

    Fig 35: Identifying Seat Vibrator Connector Terminals
    G03377055Courtesy of © TOYOTA, LICENSE AGREEMENT TMS1002
  27. INSPECT VIBRATOR ECU CIRCUIT 

    Inspect the connector on the wire harness side.

    Fig 36: Vibrator ECU Connector Terminals
    G03377056Courtesy of © TOYOTA, LICENSE AGREEMENT TMS1002
    CONNECTOR TERMINALS SPECIFIED CONDITION

    Tester connection Condition Specified condition
    1 - 6 Constance Continuity
    2 - Body ground Seat vibrator switch ON Continuity
    5 - Body ground Ignition switch ON Battery positive voltage
    7 - Body ground Seat vibration switch OFF Continuity
    10 - Body ground Constance Continuity
    12 - Body ground Constance Continuity
    6 - 2 (connector connected) Ignition switch ON and seat
    Vibrator switch ON
    Battery positive voltage

    If continuity is not as specified, replace the seat vibration ECU.

  28. INSPECT REAR SEAT MEMORY SWITCH 
    CONNECTOR TERMINALS SPECIFIED CONDITION

    Switch position Tester connection Specified condition
    SET switch ON 1 - 7 Continuity
    M switch ON 1 - 5 Continuity
    C switch ON 1 - 2 Continuity
    Fig 37: Identifying Rear Seat Memory Switch Connector Terminals
    G03377057Courtesy of © TOYOTA, LICENSE AGREEMENT TMS1002
  29. INSPECT REAR SEAT HEADREST LIMIT SWITCH 
    CONNECTOR TERMINALS SPECIFIED CONDITION

    Shaft length Tester connection Specified condition
    12mm (A) - Continuity
    8.5mm (B) 1 - 2 Continuity

    Measure the resistance between terminals.

    If resistance value is not as specified, replace the vibrator assembly.

    Fig 38: Identifying Rear Seat Headrest Limit Switch Connector Terminals
    G03377058Courtesy of © TOYOTA, LICENSE AGREEMENT TMS1002