LEMON Manuals: Even more car manuals for everyone: 1960-2025
Home >> Lexus >> 2003 >> LS 430 >> Repair and Diagnosis >> External Pages >> Different car >> Section 291 (Cruise Control Systems) >> Trouble Shooting >> Notes
April 5, 2026: LEMON Manuals is launched! Read the announcement.

Trouble Shooting: Notes

WARNING: This page is about a different car, the 2002 Toyota Prius. However, it is still accessible from the selected car via links, so may be relevant.

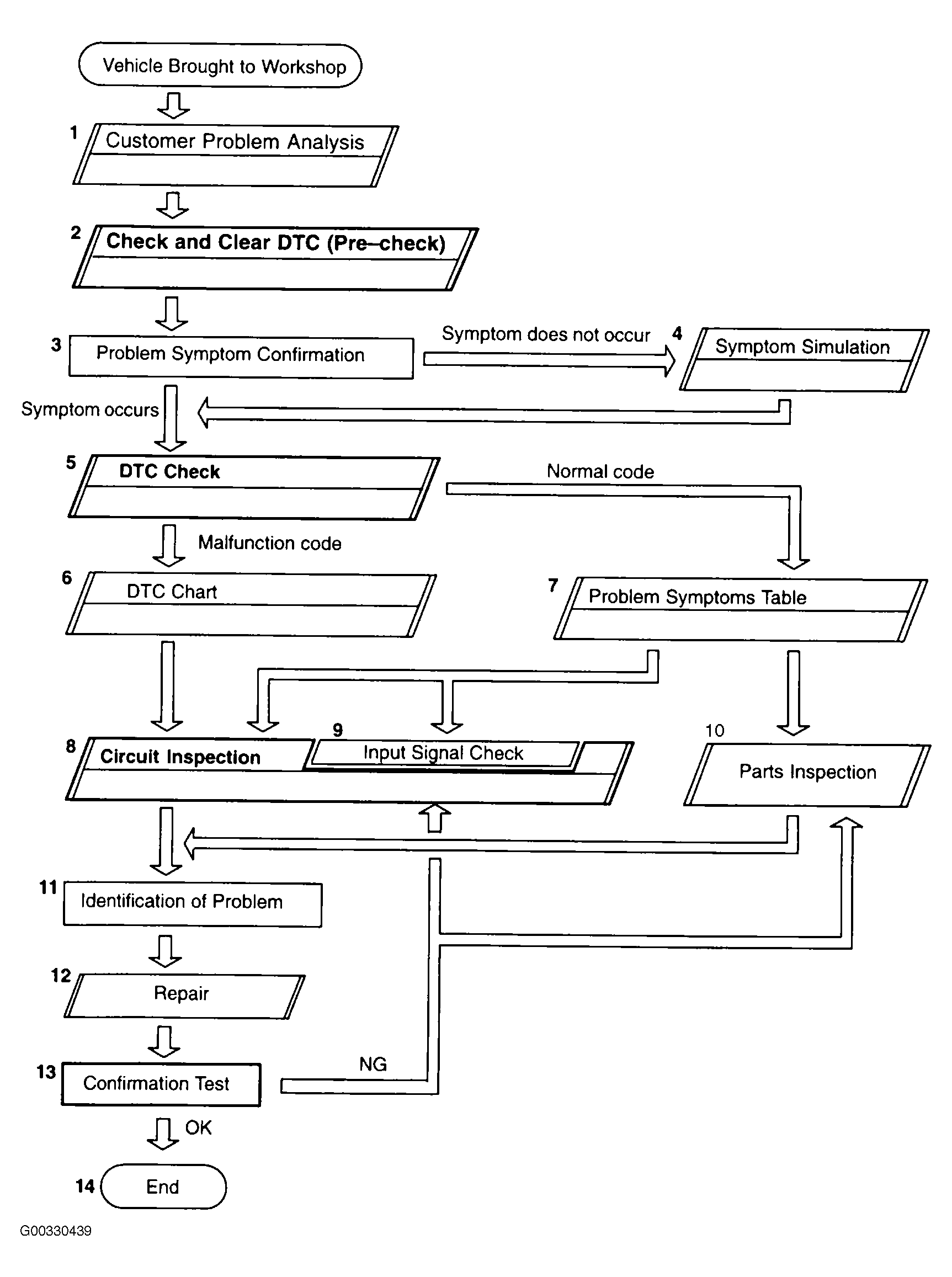
Customer Problem Analysis  use the Customer Problem Analysis (Cruise Control System Check List) in conjunction with the trouble shooting flow chart. See Figure and Figure .