LEMON Manuals: Even more car manuals for everyone: 1960-2025
Home >> Lexus >> 2003 >> LS 430 >> Repair and Diagnosis >> External Pages >> Different car >> Section 318 (Introduction) >> Precautions For All Of Vehicles >> For Vehicles Equipped With Control (VSC) System
April 5, 2026: LEMON Manuals is launched! Read the announcement.

For Vehicles Equipped With Control (VSC) System

WARNING: This page is about a different car, the 2002 Toyota Sequoia. However, it is still accessible from the selected car via links, so may be relevant.
WARNING:
  • Even if TAC is initially OFF, it automatically becomes ON when the vehicle speed becomes about 19 mph or more. Therefore, please drive in the test mode to avoid dangerous situations caused by the TRAC control
  • VSC/ABS may fail when the vehicle is driven on the two-wheel chassis dynamometer. Therefore, after driving on the chassis dynamometer, please clear DTC before normal driving. Please refer to PRE-CHECK step or for the method of clearing DTC.
  • Fasten the vehicle with the lock chain.
  1. Confirm VSC System Is Off 
    1. Turn the ignition switch OFF.
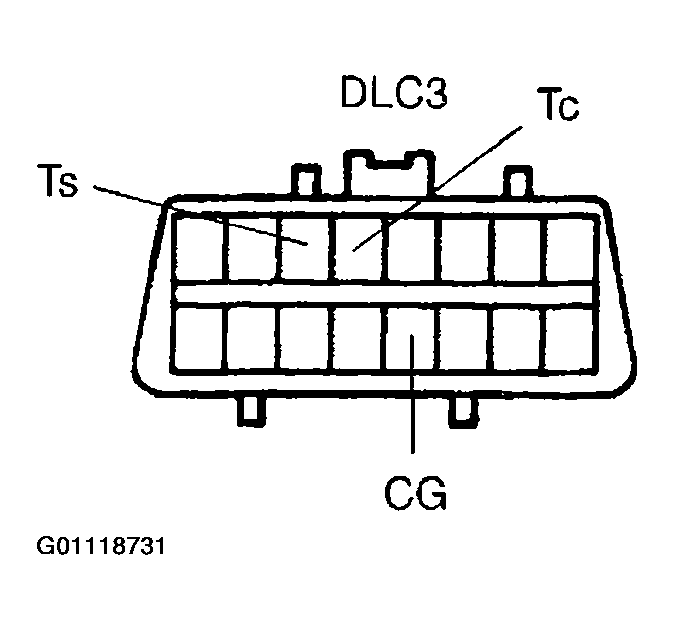
    2. Using SST, connect terminals Ts and E1 of DLC3. SST 09843-18020.
      Fig 1: Locating Terminals Tc, Ts & CG Of DLC3
      G01118731Courtesy of © TOYOTA, LICENSE AGREEMENT TMS1002
    3. Start the engine.
    4. Check that the VSC TRAC warning light blinks.
      Fig 2: Locating Brake System Instrument Panel Lights
      G01118720Courtesy of © TOYOTA, LICENSE AGREEMENT TMS1002
    5. After the measurement, remove the SST and restart the engine. At this time make sure that the VSC TRAC warning light is off.
  2. Notice For VSC Operation 
    1. Remove and reinstall of VSC-related components may misadjusted them. Do not remove or reinstall them without necessary
    2. When conducting VSC-related operations, do not fail to make sure that the preparation and the finishing of the operation are all performed in accordance with the direction in this text.