LEMON Manuals: Even more car manuals for everyone: 1960-2025
Home >> Lexus >> 2003 >> LS 430 >> Repair and Diagnosis >> External Pages >> Different car >> Section 338 (Power Door Lock Control System) >> Power Door Lock Control System >> Inspection
April 5, 2026: LEMON Manuals is launched! Read the announcement.

Power Door Lock Control System: Inspection

WARNING: This page is about a different car, the 2002 Toyota Sequoia. However, it is still accessible from the selected car via links, so may be relevant.
  1. Inspect driver door key lock and unlock switch continuity  :
    Fig 1: Identifying Driver's Door Key Lock & Unlock Switch Positions & Terminals
    G01896119Courtesy of © TOYOTA, LICENSE AGREEMENT TMS1002
    Fig 2: Driver's Door Key Lock & Unlock Switch Terminal Specifications
    G01896118Courtesy of © TOYOTA, LICENSE AGREEMENT TMS1002

    If continuity is not as specified, replace the door lock motor.

  2. Inspect passenger's door key lock and unlock switch continuity  :
    Fig 3: Identifying Passenger's Door Key Lock & Unlock Switch Positions & Terminals
    G01896121Courtesy of © TOYOTA, LICENSE AGREEMENT TMS1002
    Fig 4: Passenger's Door Key Lock & Unlock Switch Terminal Specifications
    G01896120Courtesy of © TOYOTA, LICENSE AGREEMENT TMS1002

    If continuity is not as specified, replace the door lock motor.

  3. Inspect driver's door unlock detection switch continuity  :
    Fig 5: Identifying Driver's Door Unlock Detection Switch Positions & Terminals
    G01896123Courtesy of © TOYOTA, LICENSE AGREEMENT TMS1002
    Fig 6: Driver's Door Unlock Detection Switch Terminal Specifications
    G01896122Courtesy of © TOYOTA, LICENSE AGREEMENT TMS1002

    If continuity is not as specified, replace the door lock motor.

  4. Inspect passenger's door unlock detection switch continuity  :
    Fig 7: Identifying Passenger's Door Unlock Detection Switch Positions & Terminals
    G01896125Courtesy of © TOYOTA, LICENSE AGREEMENT TMS1002
    Fig 8: Passenger's Door Unlock Detection Switch Terminal Specifications
    G01896124Courtesy of © TOYOTA, LICENSE AGREEMENT TMS1002

    If continuity is not as specified, replace the door lock motor.

  5. Inspect rear door unlock detection switch continuity  :
    Fig 9: Identifying Rear Door Unlock Detection Switch Positions & Terminals
    G01896127Courtesy of © TOYOTA, LICENSE AGREEMENT TMS1002
    Fig 10: Rear Door Unlock Detection Switch Terminal Specifications
    G01896126Courtesy of © TOYOTA, LICENSE AGREEMENT TMS1002

    If continuity is not as specified, replace the door lock motor.

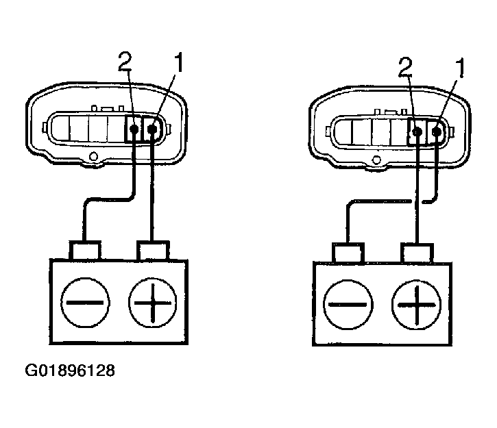
  6. Inspect driver's door lock motor operation  :
    1. Connect the positive (+) lead from the battery to terminal 1 and the negative (-) lead to terminal 2, and check that the door lock cable moves to UNLOCK position.
      Fig 11: Testing Driver's Door Lock Motor
      G01896128Courtesy of © TOYOTA, LICENSE AGREEMENT TMS1002
    2. Reverse the polarity and check that the door lock cable moves to LOCK position.

      If operation is not as specified, replace the door lock motor.

  7. Inspect passenger's door lock motor operation  :
    1. Connect the positive (+) lead from the battery to terminal 5 and the negative (-) lead to terminal 6, and check that the door lock cable moves to UNLOCK position.
      Fig 12: Testing Passenger's Door Lock Motor
      G01896129Courtesy of © TOYOTA, LICENSE AGREEMENT TMS1002
    2. Reverse the polarity and check that the door lock cable moves to LOCK position.

      If operation is not as specified, replace the door lock motor.

  8. Inspect rear left side door lock motor operation  :
    1. Connect the positive (+) lead from the battery to terminal 1 and the negative (-) lead to terminal 2, and check that the door lock cable moves to UNLOCK position.
      Fig 13: Testing Rear Left Side Door Lock Motor
      G01896130Courtesy of © TOYOTA, LICENSE AGREEMENT TMS1002
    2. Reverse the polarity and check that the door lock cable moves to LOCK position.

      If operation is not as specified, replace the door lock motor.

  9. Inspect rear right side door lock motor operation  :
    1. Connect the positive (+) lead from the battery to terminal 3 and the negative (-) lead to terminal 4, and check that the door lock cable moves to UNLOCK position.
      Fig 14: Testing Rear Right Side Door Lock Motor
      G01896131Courtesy of © TOYOTA, LICENSE AGREEMENT TMS1002
    2. Reverse the polarity and check that the door lock cable moves to LOCK position.

      If operation is not as specified, replace the door lock motor.

  10. Inspect back door lock motor operation  :
    1. Connect the positive (+) lead from the battery to terminal 3 and the negative (-) lead to terminal 4, and check that the door lock cable moves to UNLOCK position.
      Fig 15: Testing Back Door Lock Motor
      G01896132Courtesy of © TOYOTA, LICENSE AGREEMENT TMS1002
    2. Reverse the polarity and check that the door lock cable moves to LOCK position.

      If operation is not as specified, replace the door lock motor.

    3. Inspect back door unlock detection switch continuity  :
      Fig 16: Identifying Back Door Unlock Detection Switch Positions & Terminals
      G01896134Courtesy of © TOYOTA, LICENSE AGREEMENT TMS1002
      Fig 17: Back Door Unlock Detection Switch Positions & Terminal Specifications
      G01896133Courtesy of © TOYOTA, LICENSE AGREEMENT TMS1002

      If continuity is not as specified, replace the back door lock motor.

    4. Inspect back door key lock and unlock control switch continuity  :
      Fig 18: Testing Back Door Key Lock & Unlock Control Switch & Identifying Terminals
      G01896136Courtesy of © TOYOTA, LICENSE AGREEMENT TMS1002
      Fig 19: Back Door Key Lock & Unlock Control Switch Terminal Specifications
      G01896135Courtesy of © TOYOTA, LICENSE AGREEMENT TMS1002

      If continuity is not as specified, replace the switch.