LEMON Manuals: Even more car manuals for everyone: 1960-2025
Home >> Lexus >> 2003 >> LS 430 >> Repair and Diagnosis >> External Pages >> Different car >> Section 380 (Navigation System - Diagnostics) >> Pre-Check
April 5, 2026: LEMON Manuals is launched! Read the announcement.

Section 380 (Navigation System - Diagnostics): Pre-Check

WARNING: This page is about a different car, the 2002 Toyota Prius. However, it is still accessible from the selected car via links, so may be relevant.
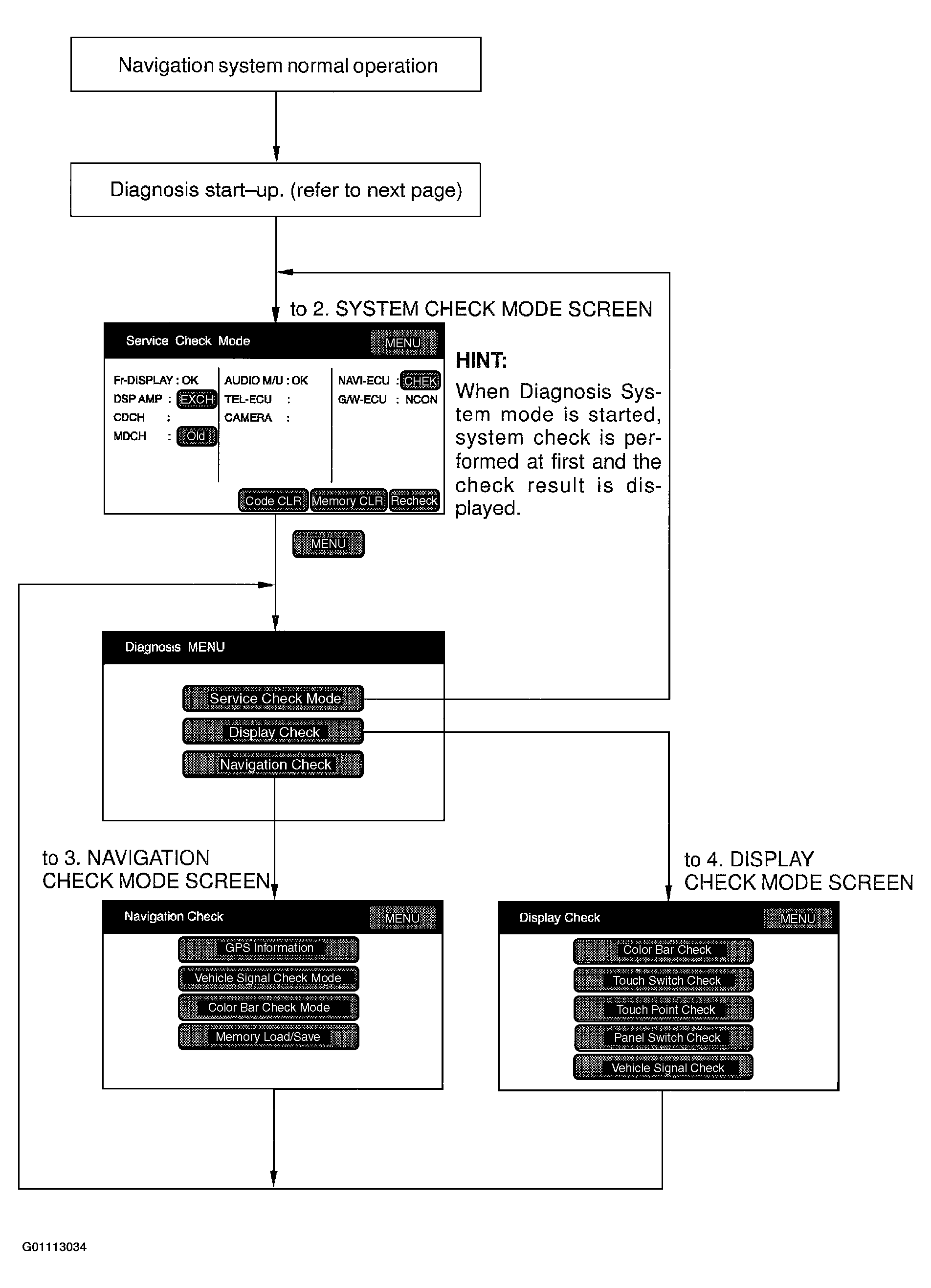
  1. DIAGNOSIS SYSTEM MODE 
    NOTE: Diagnosis System Mode is operated as follows. See Fig 1.
    Fig 1: Entering Diagnosis System Mode
    G01113034Courtesy of © TOYOTA, LICENSE AGREEMENT TMS1002
    1. Diagnosis Start-Up 

      To start the diagnosis menu, there are 2 ways: using a diagnosis check wire and using a switch.

    2. Start-Up By Switch Operation 
      1. Vehicle speed is 0 km/h (0 mph).
      2. Parking brake switch is pressed.
      3. Press the Display switch to display the Screen Adjustment screen.
        Fig 2: Locating TRAF/DISPLAY Button
        G01113035Courtesy of © TOYOTA, LICENSE AGREEMENT TMS1002
      4. Repeatedly touch the upper and lower bottom parts of the left end of the screen 3 times.
        Fig 3: Locating Concealed Touch Switches
        G01113036Courtesy of © TOYOTA, LICENSE AGREEMENT TMS1002
    3. Finishing Diagnosis System Mode 

      Turn the ignition switch from ACC to OFF to finish the mode. If it is started by switch operation.

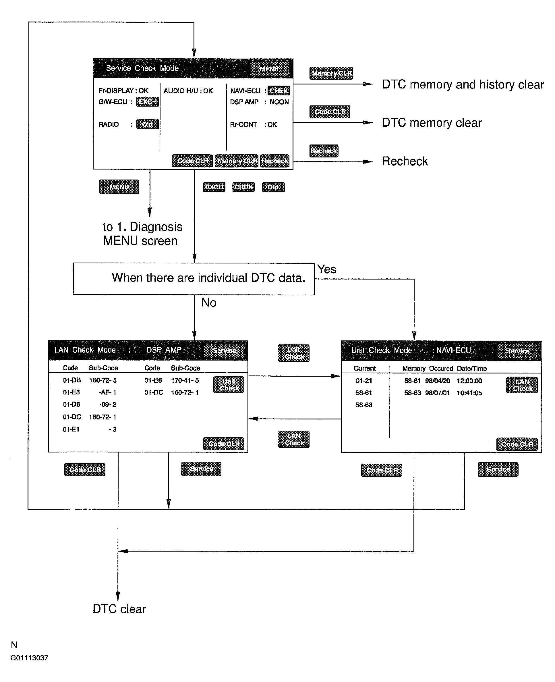
  2. SERVICE CHECK MODE 
    NOTE: Service Check Mode is operated as follows. see Fig 4.
    Fig 4: Performing Service Check Mode
    G01113037Courtesy of © TOYOTA, LICENSE AGREEMENT TMS1002
    1. Service Check Screen 
      Fig 5: Identifying Service Check Screen
      G01113038Courtesy of © TOYOTA, LICENSE AGREEMENT TMS1002
      1. By performing system check and collecting data of diagnosis memory, this mode checks the current and past condition of the vehicle.
      2. List of all components name or physical addresses.

        It displays only the components that have been connected at least once.

      3. The check result is displayed for all components.
      4. The check result is displayed by 6 abbreviations: "OK", "EXCH", "CHEK", "NCON", "NRES" and "Old". ("EXCH", "CHEK" and "Old" have a function as switches.)
      5. Based on all information obtained from "System Check Request", "Diagnosis Memory Request" and "Current Diagnosis Result" command, the following results are displayed:

        OK: No error is identified.

        EXCH: One or more error codes requesting for exchange are detected in any check result.

        CHEK: Except the conditions for "EXCH", one or more error codes requesting for check are detected in any check result.

      6. The other check results are as follows:

        NCON: No response to "Diagnosis ON Instruction" command and it is not connected when the system is started.

        Old: One or more error codes are detected when responding to "Diagnosis ON Instruction" command because of the old version.

        NRES: No response to all commands of "System Check Request", "Diagnosis Memory Request" and "Current Diagnosis Result". Or no error is detected by any one of "System Check Request" or "Diagnosis Memory Request" when no response to the other command.

      7. "EXCH", "CHEK" and "Old" are functioned as switches any by pressing these, LAN Check Mode and Unit Check Mode are activated.
      8. Memory Clear Switch

        Pressing this switch for 3 seconds deletes all information about master component registration and diagnosis memory of all components.

      9. DTC Clear Switch

        Pressing this switch for 3 seconds deletes diagnosis memory of all components.

      10. Recheck Switch

        Pressing this switch rechecks the system.

      11. Menu Switch

        Pressing this switch activates the Diagnosis Menu Screen.

    2. Lan Check Mode Screen 
      Fig 6: Identifying LAN Check Mode Screen
      G01113039Courtesy of © TOYOTA, LICENSE AGREEMENT TMS1002
      1. As a detailed screen in the System Check Mode, LAN Check Mode is displayed.
      2. Communication codes (logical address "01") are extracted from the diagnosis data obtained by "Diagnosis Memory Request" and displayed.
      3. Component Name

        Names of the components to be checked are displayed.

      4. Segment

        Logical address codes corresponding to DTC are displayed.

      5. DTC

        DTC displayed.

      6. Related Components Address

        Physical address codes corresponding to DTC are displayed.

      7. Connection Confirmation Number

        Connection confirmation numbers corresponding to DTC is displayed.

      8. Number of Occurrence

        The number of occurrence of the same DTC is displayed.

      9. DTC Clear Switch

        Pressing this switch for 3 seconds deletes DTC memory of the selected diagnosis component. When returning to the System Check Mode, the check result is shown as a blank.

      10. Unit Check Mode Screen Switch

        Pressing this switch activates the Unit Check Mode screen.

      11. System Check Mode Screen Switch

        Pressing this switch activates the System Check Mode screen.

    3. Unit Check Mode Screen 
      Fig 7: Identifying Unit Check Mode Screen
      G01113040Courtesy of © TOYOTA, LICENSE AGREEMENT TMS1002
      1. As a detailed screen in the System Check Mode, the Unit Check Mode is displayed.
      2. Up to 6 error codes detected by "The DTC obtained during the system check (including when starting the diagnosis mode)" can be displayed as "Current".
      3. Up to 6 error codes detected by "DTC stored in the past" can be displayed as "Memory".
      4. Component Name

        Names of the components are displayed.

      5. Segment

        Logical address numbers corresponding to DTC are displayed.

      6. DTC

        DTC is displayed.

      7. Year/Month/Day/Hour/Minute/Second

        The date and time stamped at the time of code occurrence is displayed in the order of year-month-day-hour-minute-second. (Year is shown in 2-digit number.) If the date and time data is invalid, it is displayed as a blank.

        NOTE: Time data is obtained after turning the ignition from ACC to ON. Until the valid time data is obtained, the data shown in the display shall be considered as invalid.

        If stored before a valid time data is obtained, the data shall not be displayed.

      8. DTC Clear Switch

        Pressing this switch for 3 seconds deletes all diagnosis memory of the component. When returning to the System Check Mode, the check result is displayed as a blank.

      9. LAN Check Mode Screen Switch

        Pressing this switch activates the LAN Check Mode screen.

      10. System Check Mode Screen Switch

        Pressing this switch activates the System Check Mode screen.

  3. NAVIGATION CHECK MODE 
    NOTE: Navigation Check Mode is operated as follows. See Fig 8.
    Fig 8: Navigation Check Mode Procedure
    G01113041Courtesy of © TOYOTA, LICENSE AGREEMENT TMS1002
    1. Navigation Check Mode Screen 
      Fig 9: Identifying Navigation Check Mode
      G01113042Courtesy of © TOYOTA, LICENSE AGREEMENT TMS1002

      Various check screens for the Navigation ECU can be started from this menu screen.

      1. GPS Information Mode Screen Switch

        Pressing this switch activates GPS Information Mode Screen.

      2. Vehicle Sensor Mode Screen Switch

        Pressing this switch activates the Vehicle Signal Mode screen

      3. Color Bar Check Mode Screen Switch

        Pressing this switch activates the Color Bar Check Mode screen

      4. Diagnosis Menu Screen Switch

        Pressing this switch activates the Diagnosis Menu screen.

    2. GPS Information Mode Screen 
      Fig 10: Identifying GPS Information Mode Screen
      G01113043Courtesy of © TOYOTA, LICENSE AGREEMENT TMS1002
      1. This screen displays GPS related data.
        NOTE: Data is updated every 1 second.
      2. Satellite Information

        The angle of elevation of relevant satellite, azimuth signal level, and receiving condition of signals are displayed.

        NOTE: The reception status shows receiving.

        "T": means in operation but measurement is not being used for positioning.

        "P": means measurement is being used for positioning.

        "-": means no data can be received.

        Display area for up to 8 satellites is ensured.

        Data shall be updated corresponding to change of information.

      3. Time data: The time data obtained from a GPS receiver is displayed in month, day, year, hour and minute.
      4. The displayed time is Greenwich Mean Time.
      5. Position Data: The latitude and longitude of the current location are displayed in degree and minute.
      6. Measurement Status is displayed in the following 5 items.

        2D: 2 dimensions.

        3D: 3 dimensions.

        NG: GPS information cannot be used.

        error: Receiving error occurs.

        -: Other than the above.

      7. Navigation Check Screen Switch

        Pressing this switch activates the Navigation Check screen.

    3. Vehicle Signal Check Mode Screen 
      Fig 11: Identifying Vehicle Signal Check Mode Screen
      G01113044Courtesy of © TOYOTA, LICENSE AGREEMENT TMS1002
      1. Status of the vehicle sensor which are input to the Navigation ECU is checked in this screen.
        NOTE: Data is updated every 1 second
      2. ACC signal status: Displayed as ON/OFF.
      3. REV signal status: Displayed as ON/OFF.
      4. SPD signal status: The following is displayed:

        The cumulative value of the input pulse after displaying this screen. (shown in 5 digits)

        Vehicle speed (Unit: km/h, mph)

      5. Output condition of the gyro sensor: The following is displayed:
        • Voltage (Unit: mV, LSB: 1mV)
        • Relative azimuthal angle to the current point (0 degree).

          Assuming the angle at a point when this screen is activated as 0 degree.

      6. Navigation Check Menu Screen Switch

        Pressing this switch displays the Navigation Check screen.

    4. Color Bar Check Mode Screen 
      Fig 12: Identifying Color Bar Check Mode Screen
      G01113045Courtesy of © TOYOTA, LICENSE AGREEMENT TMS1002
      1. Color display of the Navigation ECU is checked in this screen.
      2. Color Bars:

        Five colors of "BLACK", "RED", "GREEN", "BLUE" and "WHITE" are displayed as bars.

      3. Navigation Check Screen Switch

        Pressing this switch displays the Navigation Check screen.

  4. DISPLAY CHECK MODE 
    NOTE: Display Check Mode is operated as follows. see Fig 13.
    Fig 13: Display Check Mode Procedure
    G01113046Courtesy of © TOYOTA, LICENSE AGREEMENT TMS1002
    1. Display Check Menu Screen 
      Fig 14: Identifying Display Check Mode
      G01113047Courtesy of © TOYOTA, LICENSE AGREEMENT TMS1002
      1. Various screens to check the display are started from this screen.
      2. Color Bar Check Mode Switch

        Pressing this switch activates the Color Bar Check Mode screen.

      3. Touch Switch Check Mode Switch

        Pressing this switch activates the Touch Switch Check Mode screen.

      4. Touch Point Check Mode Switch

        Pressing this switch activates the Touch Point Check Mode screen.

      5. Vehicle Signal Check Mode Switch

        Pressing this switch activates the Vehicle Signal Check Mode screen.

      6. Diagnosis MENU Screen Switch

        Pressing this switch activates the Diagnosis MENU screen.

    2. Color Bar Check Mode Screen. 
      Fig 15: Identifying Color Bar Check Mode Screen
      G01113048Courtesy of © TOYOTA, LICENSE AGREEMENT TMS1002
      1. Color display is checked in this screen.
      2. Color Bar:

        Black, Red, Green, Blue, White and Stripe is displayed in bars.

        If a bar is touched, color or stripe of the bar appears all over the screen. When touched again, it returns to the previous screen.

      3. Display Check Screen Switch

        Pressing this switch activates the Display Check Mode screen.

    3. Touch Switch Check Mode Screen 
      Fig 16: Identifying Touch Switch Check Mode Screen
      G01113049Courtesy of © TOYOTA, LICENSE AGREEMENT TMS1002
      1. Operating condition is checked line by line in the Touch Switch Check Mode screen.
      2. Check Line

        Lines are displayed by using infrared beams in this screen.

        Once a beam is blocked off by touching the screen with a fingertip, the blocked part of the line is deleted.

      3. Horizontal Line Check Screen Switch:

        Pressing this switch activates a screen in which beams of horizontal lines are checked.

      4. Display Check Mode Switch

        Pressing this switch activates the Display Check Mode screen.

    4. Touch Point Check Mode Screen 
      Fig 17: Identifying Touch Point Check Mode Screen
      G01113050Courtesy of © TOYOTA, LICENSE AGREEMENT TMS1002
      1. In this screen, the position detected by the pressure sensing touch switch is checked.
      2. Press Point

        The detected point is indicated by a cross-hair cursor.

      3. Display Check Screen Switch

        Pressing this switch activates the Display Check Mode screen.

    5. Vehicle Signal Check Mode Screen 
      Fig 18: Identifying Vehicle Signal Check Mode Screen
      G01113051Courtesy of © TOYOTA, LICENSE AGREEMENT TMS1002
      1. Status of the Vehicle Signal which has been loaded into the display is checked in this screen.
      2. Signal Description

        Battery: Displays battery voltage in V.

        IG: Displays ON or OFF of the ignition switch.

        PKB: Displays ON (applied) or OFF (released) of the parking brake.

        SPEED: Displays the vehicle speed in km/h.

        TAIL: Displays ON or OFF of the tail light switch.

      3. Display Check Screen Switch

        Pressing this switch activates the Display Check Mode screen.