LEMON Manuals: Even more car manuals for everyone: 1960-2025
Home >> Lexus >> 2003 >> LS 430 >> Repair and Diagnosis >> External Pages >> Different car >> Section 412 (Introduction) >> Precaution
April 5, 2026: LEMON Manuals is launched! Read the announcement.

Section 412 (Introduction): Precaution

WARNING: This page is about a different car, the 2003 Toyota 4Runner. However, it is still accessible from the selected car via links, so may be relevant.
  1. BASIC REPAIR HINT 
    1. HINTS ON OPERATIONS
      Fig 1: Basic Repair Hints On Operation Diagram
      G02814406Courtesy of © TOYOTA, LICENSE AGREEMENT TMS1002
      Fig 2: Basic Repair Hints On Operation
      G02814407Courtesy of © TOYOTA, LICENSE AGREEMENT TMS1002
    2. JACKING UP AND SUPPORTING VEHICLE
      1. Care must be taken when jacking up and supporting the vehicle. Be sure to lift and support the vehicle at the proper locations (See page VEHICLE LIFT AND SUPPORT LOCATIONS ).
    3. PRECOATED PARTS
      1. Precoated parts are bolts, nuts, etc. that are coated with a seal lock adhesive at the factory.
        Fig 3: Identifying Precoated Part
        G02814408Courtesy of © TOYOTA, LICENSE AGREEMENT TMS1002
      2. If a precoated part is retightened, loosened or caused to move in any way, it must be recoated with the specified adhesive.
      3. NOTE: Check the torque with the lower limit value of the torque tolerance.
      4. When reusing precoated parts, clean off the old adhesive and dry the part with compressed air. Then apply the specified seal lock adhesive to the bolt, nut or threads.
      5. Depending on the seal lock agent to apply, there may be a case where it is necessary to leave it for a specified time until it hardens.
    4. GASKETS
      1. When necessary, use a sealer on gaskets to prevent leaks.
    5. BOLTS, NUTS AND SCREWS
      1. Carefully observe all the specifications for tightening torques. Always use a torque wrench.
    6. FUSES
      1. When replacing fuses, be sure that a new fuse has the correct amperage rating. DO NOT exceed the rating, or use one with a lower rating.
        Fig 4: Identifying Medium Current Fuse And High Current Fuse
        G02814409Courtesy of © TOYOTA, LICENSE AGREEMENT TMS1002
        Fig 5: Fuses Illustration
        G02814410Courtesy of © TOYOTA, LICENSE AGREEMENT TMS1002
    7. CLIPS
        NOTE:

        If the clip is damaged during operation, always replace it with a new clip.

      1. The removal and installation methods of typical clips used in body parts are shown in Fig 6 and Fig 7.
      Fig 6: Removal And Installation Methods Of Typical Clips (1 Of 2)
      G02814411Courtesy of © TOYOTA, LICENSE AGREEMENT TMS1002
      Fig 7: Removal And Installation Methods Of Typical Clips (2 Of 2)
      G02814412Courtesy of © TOYOTA, LICENSE AGREEMENT TMS1002
    8. REMOVAL AND INSTALLATION OF VACUUM HOSES
      1. To disconnect vacuum hoses, pull them by holding the end, not the middle of the hose.
        Fig 8: Identifying Correct And Incorrect Method Of Disconnecting Hoses
        G02814413Courtesy of © TOYOTA, LICENSE AGREEMENT TMS1002
      2. When disconnecting vacuum hoses, use tags to identify where they should be reconnected.
        Fig 9: Identifying Vacuum Hoses Tags
        G02814414Courtesy of © TOYOTA, LICENSE AGREEMENT TMS1002
      3. After completing the job, make a double check whether the vacuum hoses are properly connected. A label under the hood shows the proper layout.
      4. When using a vacuum gauge, never force the hose onto a connector that is too large. Use a step-down adapter for adjustment. Once the hose has been stretched, it may leak air.
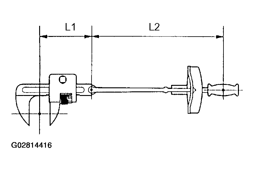
    9. TORQUE WHEN USING TORQUE WRENCH WITH EXTENSION TOOL
      1. When SST or an extension tool is combined with the torque wrench to extend its entire length, if you tighten until the reading of the torque wrench reaches the specified torque value, the actual torque becomes excessive.
        Fig 10: Identifying Length Of Torque Wrench With Extension Tool
        G02814415Courtesy of © TOYOTA, LICENSE AGREEMENT TMS1002
      2. In articles, only the specified torque is described. In case of using SST or extension tool, calculate the reading of the torque wrench by the following formula.
      3. Formula T'=T x L2/(L1 + L2)
        Fig 11: Identifying Length Of Torque Wrench With Extension Tool
        G02814416Courtesy of © TOYOTA, LICENSE AGREEMENT TMS1002
    TORQUE WRENCH WITH EXTENSION TOOL DIMENSION DESCRIPTION

    Reading Specifiation
    T' Reading of torque wrench {N.m (kgf.cm, ft.lbf)}
    T Torque {N.m (kgf.cm, ft.lbf)}
    L1 Length of SST or extension tool (cm)
    L2 Length of torque wrench (cm)
  2. FOR VEHICLES EQUIPPED WITH SRS AIRBAG AND SEAT BELT PRETENSIONER 
    WARNING:

    The 4RUNNER is equipped with an SRS (Supplemental Restraint System), such as the driver AIRBAG, front passenger AIRBAG, side AIRBAG, curtain shield AIRBAG and seat belt pretensioner.

    Failure to carry out the service operations in the correct sequence could cause the supplemental restraint system to unexpectedly deploy while servicing. It may lead to a serious accident.

    Furthermore, if a mistake is made when servicing the supplemental restraint system, it is possible that the SRS will fail to operate when required. Before servicing (including removal or installation of parts, inspection or replacement), be sure to read the following items carefully. Then follow the correct procedures .

    1. GENERAL NOTICE
      1. Malfunction symptoms of the supplemental restraint system are difficult to be confirmed, so the diagnostic trouble codes become the most important source of information when troubleshooting. When troubleshooting the supplemental restraint system, always check the diagnostic trouble codes before disconnecting the battery (see page AIR BAG RESTRAINT SYSTEMS article).
      2. Work must be started after 90 seconds from the time that the ignition switch is turned to the "LOCK" position and the negative (-) terminal cable is disconnected from the battery.

        (The supplemental restraint system is equipped with a back-up power source. So, if work is started within 90 seconds after disconnecting the negative (-) terminal cable from the battery, the SRS may deploy).

        When the negative (-) terminal cable is disconnected from the battery, memory of the clock and audio systems is cancelled. So, before starting work, make a record of the memorized contents in each memory system. Then, when work is finished, reset the clock and audio systems as before. To avoid erasing the memory in each memory system, never use a back-up power supply from another battery.

      3. Even in case of a minor collision where the SRS does not deploy, the horn button assembly, instrument panel passenger AIRBAG assembly, front seat AIRBAG assembly, curtain shield AIRBAG assembly and seat belt pretensioner should be inspected (See AIR BAG RESTRAINT SYSTEMS article)
      4. Never use the SRS related parts from another vehicle. When replacing the parts, replace them with new parts.
      5. Before repairs, remove the AIRBAG sensor if shocks are likely to be applied to the sensor during repairs.
      6. Never disassemble and repair the AIRBAG sensor assembly, horn button assembly, instrument panel passenger AIRBAG assembly, front seat AIRBAG assembly and the curtain shield AIRBAG assembly or seat belt pretensioner.
      7. If the AIRBAG sensor assembly, the side AIRBAG sensor assembly, the horn button assembly, the instrument panel passenger AIRBAG assembly, the front seat AIRBAG assembly or the curtain shield AIRBAG assembly have been dropped, or if there are cracks, dents or other defects in the case, bracket or connector, replace them with new ones.
      8. Do not directly expose the AIRBAG sensor assembly, the horn button assembly, the instrument panel passenger AIRBAG assembly, the front seat AIRBAG assembly, the curtain shield AIRBAG assembly or the seat belt pretensioner to hot air or flames.
      9. Use a volt/ohmmeter with high impedance (10 kΩ/V minimum) for troubleshooting of an electrical circuit.
      10. Information labels are attached to the SRS components. Follow the instructions on the notices.
      11. After work on the supplemental restraint system is completed, check the SRS warning light (see page AIR BAG RESTRAINT SYSTEMS article).
    2. SPIRAL CABLE (in Combination Switch)
      1. The steering wheel must be fitted correctly to the steering column with the spiral cable at the neutral position, otherwise cable disconnection and other troubles may occur. Refer to page AIR BAG RESTRAINT SYSTEMS article concerning the correct installation of the steering wheel.
        Fig 12: Identifying Steering Wheel Marks
        G02814417Courtesy of © TOYOTA, LICENSE AGREEMENT TMS1002
    3. HORN BUTTON ASSEMBLY (with AIRBAG)
      1. When removing the horn button assembly or handling a new horn button, it should be placed with the pad top surface facing upward. Placing it with the pad surface facing downward may lead to a serious accident if the AIRBAG deploys for some reasons. Also, do not place the horn button on the top of one another.
      2. Never measure the resistance of the AIRBAG squib (This may cause the AIRBAG to inflate, which is very dangerous).
      3. Grease should not be applied to the horn button assembly, and the pad should not be cleaned with detergents of any kinds.
      4. Store the horn button assembly where the ambient temperature remains below 93°C (200°F), without high humidity and away from electrical noise.
      5. When using electric welding, first disconnect the AIRBAG connector (2 yellow pins) under the steering column near the combination switch connector before starting work.
      6. When disposing of the vehicle or the horn button assembly alone, the AIRBAG should be deployed using SST before disposal (see page AIR BAG RESTRAINT SYSTEMS article).

        Perform the operation in a safe place away from electrical noise.

        Fig 13: Identifying Correct Method Of Disposing Horn Button Assembly
        G02814418Courtesy of © TOYOTA, LICENSE AGREEMENT TMS1002
        Fig 14: Precaution: Never Measure The Resistance Of AIRBAG Squib
        G02814419Courtesy of © TOYOTA, LICENSE AGREEMENT TMS1002
    4. INSTRUMENT PANEL PASSENGER AIRBAG ASSEMBLY
      1. Always place a removed or new instrument panel passenger AIRBAG assembly with the AIRBAG inflation direction facing upward. Placing the AIRBAG assembly with the AIRBAG inflation direction facing downward could cause a serious accident if the AIRBAG deploys.
      2. Never measure the resistance of the AIRBAG squib (This may cause the AIRBAG to inflate, which is very dangerous).
      3. Grease should not be applied to the instrument panel passenger AIRBAG assembly, and the AIRBAG door should not be cleaned with detergents of any kind.
      4. Store the AIRBAG assembly where the ambient temperature remains below 93°C (200°F), without high humidity and away from electrical noise.
      5. When using electric welding, first disconnect the AIRBAG connector (4 yellow pins) installed on the assembly before starting work.
      6. When disposing of a vehicle or the AIRBAG assembly alone, the AIRBAG should be deployed using SST before disposal (see page AIR BAG RESTRAINT SYSTEMS article).

        Perform the operation in a safe place away from electrical noise.

        Fig 15: Identifying Correct Method Of Disposing Instrument Panel Passenger AIRBAG Assembly
        G02814420Courtesy of © TOYOTA, LICENSE AGREEMENT TMS1002
        Fig 16: Precaution: Never Measure The Resistance Of AIRBAG Squib
        G02814421Courtesy of © TOYOTA, LICENSE AGREEMENT TMS1002
    5. FRONT SEAT AIRBAG ASSEMBLY
      1. Always place a removed or new front seat AIRBAG assembly with the AIRBAG inflation direction facing upward. Placing the AIRBAG assembly with the AIRBAG inflation direction facing downward could cause a serious accident if the AIRBAG deploys.
      2. Never measure the resistance of the AIRBAG squib (This may cause the AIRBAG to inflate, which is very dangerous).
      3. Grease should not be applied to the front seat AIRBAG assembly, and the AIRBAG door should not be cleaned with detergents of any kind.
      4. Store the AIRBAG assembly where the ambient temperature remains below 93°C (200°F), without high humidity and away from electrical noise.
      5. When using electric welding, first disconnect the AIRBAG connector (2 yellow pins) installed on the assembly before starting work.
      6. When disposing of a vehicle or the side AIRBAG assembly alone, the AIRBAG should be deployed using SST before disposal (see AIR BAG RESTRAINT SYSTEMS article).

        Perform the operation in a safe place away from electrical noise.

        Fig 17: Identifying Correct Method Of Disposing Front Seat AIRBAG Assembly
        G02814422Courtesy of © TOYOTA, LICENSE AGREEMENT TMS1002
        Fig 18: Precaution: Never Measure Resistance Of Front Seat AIRBAG Squib
        G02814423Courtesy of © TOYOTA, LICENSE AGREEMENT TMS1002
    6. CURTAIN SHIELD AIRBAG ASSEMBLY
      1. Always place the removed or new curtain shield AIRBAG assembly in a clear plastic bag, and keep it in a safe place.
        NOTE: Protection bag is not re-useable.
        CAUTION: Never disassemble the curtain shield AIRBAG assembly.
      2. Never measure the resistance of the AIRBAG squib (This may cause the AIRBAG to inflate, which is very dangerous).
      3. Grease should not be attached to the curtain shield AIRBAG assembly, and the surface should not be cleared with detergents of any kind.
      4. Store the AIRBAG assembly where the ambient temperature remains below 93°C (200°F), without high humidity and away from electrical noise.
      5. When using electric welding, first disconnect the AIRBAG connector (2 yellow pins) into the instrument panel before starting work.
      6. When disposing of a vehicle or the curtain shield AIRBAG assembly alone, the AIRBAG should be deployed using SST before disposal (see page AIR BAG RESTRAINT SYSTEMS article). Perform the operation in a safe place away from electrical noise.
        Fig 19: Identifying Correct Method Of Disposing Curtain Shield AIRBAG Assembly
        G02814424Courtesy of © TOYOTA, LICENSE AGREEMENT TMS1002
        Fig 20: Precaution: Never Measure The Resistance Of Curtain Shield AIRBAG Squib
        G02814425Courtesy of © TOYOTA, LICENSE AGREEMENT TMS1002
    7. SEAT BELT PRETENSIONER
      1. Never measure the resistance of the seat belt pretensioner (This may cause the seat belt pretensioner to activate, which is very dangerous).
      2. Never disassemble the seat belt pretensioner.
      3. Never install the seat belt pretensioner to another vehicle.
      4. Store the seat belt pretensioner where the ambient temperature remains below 80°C (176°F) without high humidity and away from electrical noise.
      5. When using electric welding, first disconnect the connector (2 yellow pins) before starting work.
      6. When disposing of a vehicle or the seat belt pretensioner alone, the seat belt pretensioner should be activated before disposal (see page AIR BAG RESTRAINT SYSTEMS article). Perform the operation in a safe place away from electrical noise.
        Fig 21: Precaution: Never Measure The Resistance Of Seat Belt Pretensioner
        G02814426Courtesy of © TOYOTA, LICENSE AGREEMENT TMS1002
      7. The seat belt pretensioner is hot after activated, so cool it down sufficiently before disposal. Never apply water to cool down the seat belt pretensioner.
      8. Oil or water should not be put on the front seat outer belt, and the front seat outer belt should not be cleaned with detergents of any kind.
    8. AIRBAG SENSOR ASSEMBLY
      1. Never reuse the AIRBAG sensor assembly involved in a collision where the SRS has deployed.
      2. The connectors to the AIRBAG sensor assembly should be connected or disconnected with the sensor mounted on the floor. If the connectors are connected or disconnected while the AIRBAG sensor assembly is not mounted to the floor, it could cause an undesired ignition of the supplemental restraint system.
      3. Work must be started after 90 seconds from the time that the ignition switch is turned to the "LOCK" position and the negative (-) terminal cable is disconnected from the battery, even if only loosening the set bolts of the AIRBAG sensor assembly.
    9. WIRE HARNESS AND CONNECTOR
      1. The SRS wire harness is integrated with the instrument panel wire harness assembly. All the connectors in the system are in a standard yellow color. If the SRS wire harness becomes disconnected or the connector becomes broken due to an accident, etc., repair or replace it.
  3. ELECTRONIC CONTROL 
    1. REMOVAL AND INSTALLATION OF BATTERY TERMINAL
      1. Before performing electronic work, disconnect the battery negative (-) terminal cable beforehand so as to prevent burnt-out damage by short.
      2. When disconnecting and installing the terminal cable, turn the ignition switch and lighting switch OFF, and loosen the terminal nut completely. Perform these operations without twisting or prying the terminal.
      3. When the battery terminal is removed, all the memories of the clock, radio, DTCs, etc. will be erased. So before removing it, check them and make a note.
      4. When the battery terminal is disconnected, the sliding roof position memory is erased.

        Make sure to reset the sliding roof to the zero point. See SLIDING ROOF/CONVERTIBLE .

        Fig 22: Disconnecting Battery Negative Terminal
        G02814427Courtesy of © TOYOTA, LICENSE AGREEMENT TMS1002
    2. HANDLING OF ELECTRONIC PARTS
      1. Do not open the cover or case of the ECU unless absolutely necessary (If the IC terminals are touched, the IC may be destroyed by static electricity).
      2. To disconnect electronic connectors, pull the connector itself, not the wires.
      3. Be careful not to drop electronic components, such as sensors or relays. If they are dropped on a hard floor, they should be replaced and not be reused.
        Fig 23: Identifying Wrong Method Of Handling Electronic Parts
        G02814428Courtesy of © TOYOTA, LICENSE AGREEMENT TMS1002
      4. When cleaning the engine with steam, protect the electronic components, air filter and emission-related components from water.
      5. Never use an impact wrench to remove or install temperature switches or temperature sensors.
      6. When checking the continuity at the wire connector, insert the tester probe carefully to prevent terminals from bending.
  4. REMOVAL AND INSTALLATION OF FUEL CONTROL PARTS 
    1. PLACE FOR REMOVING AND INSTALLING OF FUEL SYSTEM PARTS
      1. Work in a place with good air ventilation and without anything flammable such as welder, grinder, drill, electric motor or stove in the surroundings.
      2. Never work in a place such as a pit or nearby a pit, as there is a possibility that vaporized fuel is filled in those places.
    2. REMOVING AND INSTALLING OF FUEL SYSTEM PARTS
      1. Prepare a fire extinguisher before starting operation.
      2. For prevention of the static electricity, install a ground on the fuel changer, vehicle and fuel tank, and do not spray much water so as to prevent slipping.
      3. Never use any electric equipment like an electric motor or a working light, as they may cause sparks or high temperature.
      4. Never use an iron hammer, as it may cause sparks.
      5. Dispose of the shop rag separately from any fuel deposits.
  5. REMOVAL AND INSTALLATION OF ENGINE INTAKE PARTS 
    1. If any metal tip is mixed in the inlet pass, that may give a bad effect to the engine and turbocharger.
    2. When removing and installing the inlet system parts, close the opening of the removed inlet system parts and the engine with a clean shop rag or gummed tape.
      Fig 24: Covering Opening Of Inlet System Part
      G02814429Courtesy of © TOYOTA, LICENSE AGREEMENT TMS1002
    3. When installing the inlet system parts, check that there is no mixing of a metal tip.
  6. HANDLING OF HOSE CLAMPS 
    1. Before removing the hose, check the clamp position to restore it securely.
    2. Change the deformed or dented clamp into a new one.
    3. In case of reusing the hose, install the clamp on the hose where it has a clamp track.
      Fig 25: Identifying Spring Type Clamp
      G02814430Courtesy of © TOYOTA, LICENSE AGREEMENT TMS1002
    4. For a spring type clamp, make adjustment by adding force to the arrow mark direction after the installation.
  7. FOR VEHICLES EQUIPPED WITH MOBILE COMMUNICATION SYSTEM 
    1. Install an antenna as far away from the ECU and sensors of the vehicle electronic systems as possible.
      Fig 26: Identifying Position Of Antenna And ECU Of Vehicle Electronic System
      G02814431Courtesy of © TOYOTA, LICENSE AGREEMENT TMS1002
    2. Install an antenna feeder at least 20 cm (7.87 in.) away from the ECU and sensors of the vehicle electronic systems. For details of the ECU and sensors locations, refer to the section on the applicable component.
    3. Prevent the antenna feeder from getting entangled with the other wirings, and keep the antenna feeder separately from the other wirings as much as possible.
    4. Check that the antenna and feeder are correctly adjusted.
    5. Do not install any powerful mobile communication system.
  8. FOR VEHICLES EQUIPPED WITH VEHICLE SKID CONTROL (VSC) SYSTEM 
    1. NOTICES WHEN USING DRUM TESTER
        NOTE:
        • Confirm that the VSC warning light blinks.
        • The VSC system will be reset when the engine is restarted.
        • Fasten the vehicle with lock chains.
        Fig 27: Identifying DLC 3 Terminals
        G02814432Courtesy of © TOYOTA, LICENSE AGREEMENT TMS1002
      1. When using a drum tester, be sure to start the engine with the ignition switch OFF, and connect SST to the terminals TS and CG of the DLC3 before measurement in order to cancel the VSC operation.

        SST 09843-18040

    2. NOTICES OF RELATED OPERATIONS TO VSC
      1. Do not carry out unnecessary installation and removal, because it might disorder the adjustment of the parts related to the VSC.
      2. Be sure to carry out the preparation for operation and the confirmation of operation completion, in accordance with the instructions of the text, when the operations related to the VSC are performed.
  9. WHEN SERVICING FULL-TIME 4WD VEHICLES 

    The Full-time 4WD 4RUNNER is equipped with the mechanical lock type center differential system.

    During tests using a brake tester or chassis dynamometer, such as braking force tests or speedometer tests, if only the front or rear wheels are to be rotated, it is necessary to set the position of the center differential to FREE or LOCK depending on the type of the test being performed.

    Fig 28: Identifying Center Differential Lock Indicator Light, Center Differential Lock Switch And 4WD Switch
    G02814433Courtesy of © TOYOTA, LICENSE AGREEMENT TMS1002

    Center differential FREE condition: 

    Fig 29: Identifying Center Differential Lock And Free Condition
    G02814436Courtesy of © TOYOTA, LICENSE AGREEMENT TMS1002
    Fig 30: Center Differential Free Condition Chart
    G02814434Courtesy of © TOYOTA, LICENSE AGREEMENT TMS1002

    Center differential LOCK condition: 

    Fig 31: Center Differential Lock Condition Chart
    G02814435Courtesy of © TOYOTA, LICENSE AGREEMENT TMS1002
    NOTE: Center differential "LOCK" --> "FREE" selecting procedures:
    • Operate the switch only when all of 4 wheels are stopped or driven in a straight line.
    • Never operate the switch when any wheel is slipping.
    • Never operate the switch when any wheel is spinning freely.
    • Never operate the switch when swerving or cornering.
    NOTE:
    • Center differential "LOCK" >--< "FREE" selecting procedures:

      Move the vehicle forward or backward slightly if the indicator light does not operate correctly when the center differential lock switch is turned ON or OFF.

    • 4WD switch "H4" >--< "L4" position switching procedures: When switching, always put the shift lever of the transmission in N position. In other positions, switching cannot be performed.
      Fig 32: Identifying 4WD Switch "H4" >--< "L4" Position
      G02814437Courtesy of © TOYOTA, LICENSE AGREEMENT TMS1002
  10. WHEN TESTING BRAKES, SPEEDOMETER, ETC. 
    1. When carrying out any kind of servicing or testing on a Full-time 4WD 4RUNNER in which the front or rear wheels are to be rotated (braking test, speedometer test), be sure to observe the precautions given below. Incorrect preparations or test procedures may cause danger as well as unsuccessful test results.

      Before starting any such servicing or test, be sure to check the following items:

      • Center differential mode position (FREE or LOCK)
        Fig 33: Identifying Center Differential Lock Indicator Light, Center Differential Lock Switch And 4WD Switch
        G02814438Courtesy of © TOYOTA, LICENSE AGREEMENT TMS1002
      • Vehicle skid control (VSC) system:

        If the vehicle is equipped with this system, the slip indicator light, the VSC/TRAC indicator light and the VSC OFF indicator light come on with the ignition switch turned ON. They will go off in a few seconds.

        Fig 34: Identifying Vehicle Skid Control System Lights
        G02814439Courtesy of © TOYOTA, LICENSE AGREEMENT TMS1002
      • Whether wheels should be touching ground or jacked up
      • Transmission gear position (N position)
      • 4WD switch position (H4 or L4 position)
      • Maximum testing vehicle speed
      • Maximum testing time

    2. Using Braking Tester:

      Test by low-speed type brake tester (Vehicle Speed: Below 0.5 km/h or 0.3 mph) and observe the following instructions before the test.

      Fig 35: Positioning Front Wheel On Tester (Braking Tester)
      G02814440Courtesy of © TOYOTA, LICENSE AGREEMENT TMS1002
      1. Position the wheels to be tested (front or rear) on the tester.
      2. Put the center differential in FREE position.
      3. If the vehicle is equipped with the Vehicle Skid Control (VSC) system, prohibit the system from the activation (See step 2.).
      4. Shift the transmission shift lever to "N" position.
      NOTE:

      Do not forget to change the Vehicle Skid Control (VSC) & Traction Control (TRAC) system to operational condition after the test. Check that the VSC warning indicator light goes off when restarting the engine.

    3. Using Speedometer Tester:

      Observe the following instructions and then test with the rear wheels.

      Fig 36: Positioning Rear Wheel On Tester (Speedometer Tester)
      G02814441Courtesy of © TOYOTA, LICENSE AGREEMENT TMS1002
      1. Position the rear wheels on the tester roller.
      2. Position the front wheels on the free roller or jack them up.
      3. Put the center differential in FREE position.
      4. If the vehicle is equipped with the Vehicle Skid Control (VSC) & Traction Control (TRAC) system, prohibit the system from the activation (See step 2.).
      5. Ensure that the vehicle does not move using wires.
      CAUTION: The maximum speed should be less than 60 km/h (37 mph) and maximum driving time should be 1 minute.
      NOTE:
      • Sudden shifting, braking, acceleration or deceleration is not allowed.
      • Do not forget to change the Vehicle Skid Control (VSC) & Traction Control (TRAC) system to operational condition after the test. Check that the VSC warning indicator light goes off when restarting the engine.
    4. Using Chassis Dynamometer:

      Observe the following instructions and then test with the rear wheels.

      1. Remove the front propeller shaft.
      2. Put the center differential in LOCK position.
      3. If the vehicle is equipped with the Vehicle Skid Control (VSC) & Traction Control (TRAC) system, prohibit the system from the activation (See step 2.).
      4. Ensure that the vehicle is securely fixed.

      Fig 37: Identifying Removed Front Propeller Shaft
      G02814442Courtesy of © TOYOTA, LICENSE AGREEMENT TMS1002
      NOTE:
      • Sudden shifting, braking, acceleration or deceleration is not allowed.
      • Do not forget to change the Vehicle Skid Control (VSC) & Traction Control (TRAC) system to operational condition after the test. Check that the VSC warning indicator light goes off when restarting the engine.
    5. On-Vehicle Wheel Balancing:

      When doing on-vehicle wheel balancing on a full-time 4WD vehicle, to prevent each wheel from being rotated at different speed in different directions (which could damage the center differential), always be sure to observe the following precautions.

      Fig 38: On Vehicle Wheel Balancing
      G02814443Courtesy of © TOYOTA, LICENSE AGREEMENT TMS1002
      1. All 4 wheels should be jacked up, being apart from the ground completely.
      2. Put the center differential in LOCK position.
      3. If the vehicle is equipped with the Vehicle Skid Control (VSC) & Traction Control (TRAC) system, prohibit the system from the activation (See step 2.).
      4. The parking brake lever should be fully released.
      5. No brake should be applied.
      6. The wheels should be driven on the wheel balancer with the engine running.
      7. Carry out the wheel balancing with the transmission position in D position.
      NOTE:
      • When doing this balancing, pay attention to the other wheels rotating at the same time.
      • Sudden acceleration, deceleration or braking is not allowed.
      • Do not forget to change the Vehicle Skid Control (VSC) & Traction Control (TRAC) system to operational condition after the test. Check that the VSC warning indicator light goes off when restarting the engine.
  11. FOR VEHICLES EQUIPPED WITH CATALYTIC CONVERTER 
    WARNING: If large amount of unburned gasoline flows into the converter, it may cause overheating and a fire hazard. To prevent this, observe the following precautions.
    1. Use only unleaded gasoline.
    2. Avoid prolonged idling.

      Avoid running the engine at idle speed for more than 20 minutes.

    3. Avoid a spark jump test.
      1. Perform a spark jump test only when absolutely necessary. Perform this test as rapidly as possible.
      2. While testing, never race the engine.
    4. Avoid a prolonged engine compression measurement.

      Engine compression measurements must be performed as rapidly as possible.

    5. Do not run the engine when the fuel tank is nearly empty. This may cause the engine to misfire and create an extra load on the converter.
  12. WHEN TOWING FULL-TIME 4WD VEHICLES 
    • Use one of the methods shown below to tow the vehicle.
    • If the vehicle has trouble in the chassis and drive train, use method 1 (flat bed truck).
      Fig 39: Towing Method Full-Time 4WD Vehicles
      G02814444Courtesy of © TOYOTA, LICENSE AGREEMENT TMS1002
    NOTE: Do not use any towing method other than those shown in Fig 39.
    • For example, the towing methods shown in Fig 40 are dangerous or damage the vehicle, so do not use them.
      Fig 40: Identifying Wrong Methods Of Towing Vehicle
      G02814445Courtesy of © TOYOTA, LICENSE AGREEMENT TMS1002