LEMON Manuals: Even more car manuals for everyone: 1960-2025
Home >> Lexus >> 2003 >> LS 430 >> Repair and Diagnosis >> External Pages >> Different car >> Section 484 (Power Window Control System - Diagnostics) >> Power Windows Do Not Operate At All >> Inspection Procedure
April 5, 2026: LEMON Manuals is launched! Read the announcement.

Inspection Procedure

WARNING: This page is about a different car, the 2004 Toyota 4Runner. However, it is still accessible from the selected car via links, so may be relevant.
  1. INSPECT FUSE (POWER) 
    1. Remove the fuse from the instrument panel J/B assy.
    2. Check the continuity.

    Standard: Continuity 

    NG: REPLACE FUSE 

    OK: Go To Next Step 

  2. INSPECT INSTRUMENT PANEL JUNCTION BLOCK ASSY 
    1. Remove the power window relay.
    2. Turn the ignition switch ON.
    3. Check the voltage between the J/B terminals 1 and 2.
    Fig 1: Inspecting Instrument Panel Junction Block Assy
    G02835333Courtesy of © TOYOTA, LICENSE AGREEMENT TMS1002

    Standard: 10 - 14 V 

    NG: REPLACE INSTRUMENT PANEL JUNCTION/BLOCK ASSY 

    OK: Go To Next Step 

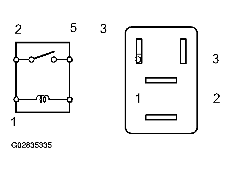
  3. INSPECT POWER WINDOW RELAY (POWER) 
    1. Remove the relay from the backside of the instrument panel J/B assy.
    2. Fig 2: Inspecting Power Window Relay (Power)
      G02835335Courtesy of © TOYOTA, LICENSE AGREEMENT TMS1002
    3. Check the continuity.
    Fig 3: Standard
    G02835334Courtesy of © TOYOTA, LICENSE AGREEMENT TMS1002

    NG: REPLACE POWER WINDOW RELAY 

    OK: Go To Next Step 

  4. CHECK WIRE HARNESS (TERMINAL B2, BW OR E) 
    1. Disconnect the D17 switch connector.
    2. Check the voltage or continuity between each terminal of the wire harness side connector and the body ground.
    Fig 4: Checking Wire Harness (Terminal B2, BW Or E)
    G02835337Courtesy of © TOYOTA, LICENSE AGREEMENT TMS1002
    Fig 5: Standard
    G02835336Courtesy of © TOYOTA, LICENSE AGREEMENT TMS1002

    NG: REPAIR OR REPLACE HARNESS AND CONNECTOR 

    OK: Go To Next Step 

  5. CHECK WIRE HARNESS (TERMINAL B) 
    1. Turn the ignition switch ON.
    2. Check the voltage between terminal 6 of the wire harness side connector and the body ground.
    Fig 6: Checking Wire Harness (Terminal B)
    G02835339Courtesy of © TOYOTA, LICENSE AGREEMENT TMS1002
    Fig 7: Standard
    G02835338Courtesy of © TOYOTA, LICENSE AGREEMENT TMS1002

    OK: REPLACE POWER WINDOW REGULATOR MASTER SWITCH ASSY 

    NG: REPAIR OR REPLACE HARNESS AND CONNECTOR (POWER WINDOW RELAY <=> MASTER SWITCH)