LEMON Manuals: Even more car manuals for everyone: 1960-2025
Home >> Lexus >> 2003 >> LS 430 >> Repair and Diagnosis >> External Pages >> Different car >> Section 898 (Introduction) >> Repair Instruction >> Precaution
April 5, 2026: LEMON Manuals is launched! Read the announcement.

Repair Instruction: Precaution

WARNING: This page is about a different car, the 2005 Toyota 4Runner. However, it is still accessible from the selected car via links, so may be relevant.
  1. BASIC REPAIR HINT 
    1. HINTS ON OPERATIONS
      Fig 1: Identifying Basic Operations Repair Hints
      G02583170Courtesy of © TOYOTA, LICENSE AGREEMENT TMS1002
    2. JACKING UP AND SUPPORTING VEHICLE
      1. Care must be taken when jacking up and supporting the vehicle. Be sure to lift and support the vehicle at the proper locations (see VEHICLE LIFT AND SUPPORT LOCATIONS  ).
        Fig 2: Identifying Seal Lock Adhesive
        G02583171Courtesy of © TOYOTA, LICENSE AGREEMENT TMS1002
    3. PRECOATED PARTS
      1. Precoated parts are bolts and nuts, that are coated with a seal lock adhesive at the factory.
      2. If a precoated part is retightened, loosened or moved in anyway, it must be recoated with the specified adhesive.
      3. When reusing precoated parts, clean off the old adhesive and dry the part with compressed air. Then apply new seal lock adhesive appropriate to the bolts and nut.
        NOTE: Perform the torque with the lower limit value of the torque tolerance.
      4. Some seal lock agents harden slowly. You may have to wait for the seal lock agent to harden.
    4. GASKETS
      1. When necessary, use a sealer on gaskets to prevent leaks.
    5. BOLTS, NUTS AND SCREWS
      1. Carefully follow all the specifications for tightening torques. Always use a torque wrench.
    6. FUSES
      1. When replacing fuses, be sure that the new fuse has the correct amperage rating. DO NOT exceed the rating or use one with a lower rating.
        Fig 3: Identifying Medium And High Current Fuses
        G02583172Courtesy of © TOYOTA, LICENSE AGREEMENT TMS1002
        Fig 4: Fuse Descriptions Chart
        G02583173Courtesy of © TOYOTA, LICENSE AGREEMENT TMS1002
    7. CLIPS
      1. The removal and installation methods of typical clips used in body parts are shown in the table below.

        HINT: If clips are damaged during a procedure, always replace the damaged clip with a new clip.

        Fig 5: Clips Removal And Installation Methods (1 Of 2)
        G02583174Courtesy of © TOYOTA, LICENSE AGREEMENT TMS1002
        Fig 6: Clips Removal And Installation Methods (2 Of 2)
        G02583175Courtesy of © TOYOTA, LICENSE AGREEMENT TMS1002
    8. REMOVAL AND INSTALLATION OF VACUUM HOSES
      1. To disconnect vacuum hoses, pull and twist from the end of the hose. Do not pull from the middle of the hose as this may cause damage.
        Fig 7: Identifying Correct Way Of Disconnecting Vacuum Hoses
        G02583176Courtesy of © TOYOTA, LICENSE AGREEMENT TMS1002
      2. When disconnecting vacuum hoses, use tags to identify where they should be reconnected.
      3. After completing the job, double check that the vacuum hoses are properly connected. The label under the hood shows the proper layout.
      4. When using a vacuum gauge, never force the hose onto a connector that is too large. Use a step-down adapter for adjustment. Once the hose has been stretched, it may leak air.
        Fig 8: Using Tags For Proper Identification
        G02583177Courtesy of © TOYOTA, LICENSE AGREEMENT TMS1002
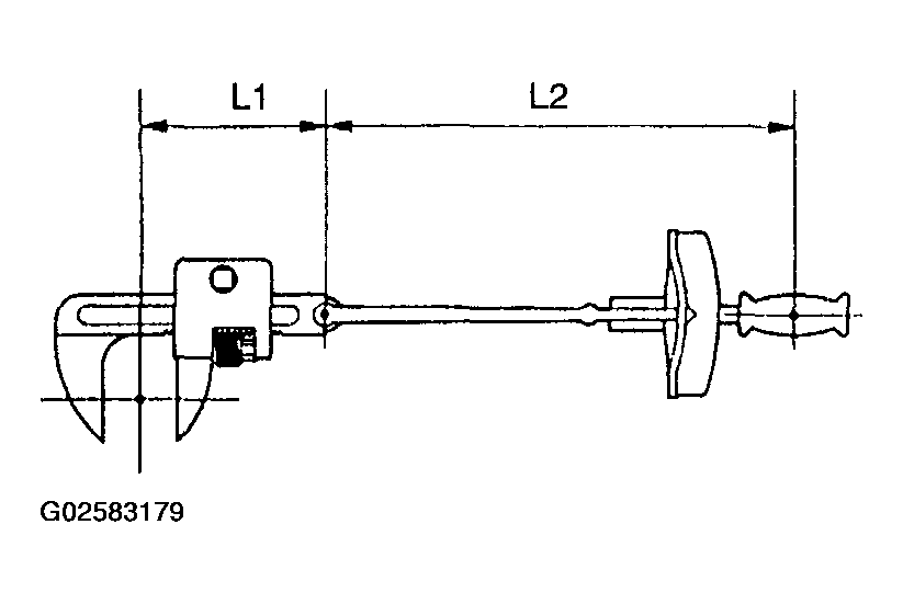
    9. TORQUE WHEN USING TORQUE WRENCH WITH EXTENSION TOOL
      1. If SST or an extension tool is combined with the torque wrench to extend its length, do not tighten the torque wrench to the specified torque values in this information. The resulting torque will be excessive.
      2. Use the formula below to calculate special torque values for situations where SST or an extension tool is combined with the torque wrench.
      3. Formula: T'=T x L2/(L1 + L2)
    Fig 9: Identifying Torque Wrench With Extension Tool (1 Of 2)
    G02583178Courtesy of © TOYOTA, LICENSE AGREEMENT TMS1002
    TORQUE WRENCH DIMENSION DETAILS

    T' Reading of torque wrench {N.m (kgf.cm, ft.lbf)}
    T Torque {N.m (kgf.cm, ft.lbf)}
    L1 Length of SST or extension tool (cm)
    L2 Length of torque wrench (cm)
    Fig 10: Identifying Torque Wrench With Extension Tool (2 Of 2)
    G02583179Courtesy of © TOYOTA, LICENSE AGREEMENT TMS1002
  2. FOR VEHICLES EQUIPPED WITH SRS AIRBAG AND SEAT BELT PRETENSIONER 

    HINT: The 4-RUNNER is equipped with a Supplemental Restraint System (SRS) and seat belt pretensioner.

    Failure to carry out the service operations in the correct sequence could cause the SRS to unexpectedly deploy during servicing and lead to serious injury.

    Furthermore, if a mistake is made when servicing the SRS, it is possible that the SRS may fail to operate I properly. Before servicing (including removal or installation of parts, inspection or replacement), be sure to read the following information carefully.

    1. GENERAL NOTICE
      1. Malfunction symptoms of the SRS are difficult to confirm so the Diagnostic Trouble Codes (DTCs) become the most important source of information when troubleshooting. When troubleshooting the SRS, always check the DTCs before disconnecting the battery (see CHECK MODE PROCEDURE ).
      2. Work must be started at least 90 seconds after the ignition switch is turned to the LOCK position and the negative (-) terminal cable is disconnected from the battery.

        (The SRS is equipped with a back-up power source. So, if work is started within 90 seconds after disconnecting the negative (-) terminal cable from the battery, the SRS may deploy).

        When the negative (-) terminal cable is disconnected from the battery, clock and audio system memory is erased. Before starting work, make a record of the settings of each memory system. When work is finished, reset the clock and audio systems as before. Never use a back-up power source (battery or other) to avoid erasing system memory. The back-up power source may power the SRS and cause it to deploy.

        CAUTION: Never use a back-up power source (battery or other) in an attempt to avoid erasing system memory. The back-up power source inadvertently may inadvertently power the SRS and cause it to deploy.
      3. In minor collisions where the SRS does not deploy, the horn button assembly, instrument panel passenger airbag assembly, front seat airbag assembly, curtain shield airbag assembly and seat belt pretensioner should be inspected before further use of the vehicle (see DISPOSAL ,DISPOSAL , FRONT SEAT AIRBAG ASSY LH ,DISPOSAL , and DISPOSAL ).
      4. Never use SRS parts from another vehicle. When replacing parts, use new parts.
      5. Before repairs, remove the airbag sensor if impacts are likely to be applied to the sensor during repairs.
      6. Never disassemble and repair the airbag sensor assembly, horn button assembly, instrument panel passenger airbag assembly, front seat airbag assembly, curtain shield airbag assembly or seat belt pretensioner.
      7. Replace the center airbag sensor assembly, side airbag sensor assembly, horn button assembly or the instrument panel passenger airbag assembly, front seat airbag assembly or curtain shield airbag assembly if: 1) damage has occurred from being dropped, or 2) cracks, dents or other defects in the case, bracket or connector are present.
      8. Do not directly expose the airbag sensor assembly, the horn button assembly, the instrument panel passenger airbag assembly, front seat airbag assembly, the curtain shield airbag assembly or the seat belt pretensioner to hot air or flames.
      9. Use a voltmeter/ohm meter with high impedance (10 kΩ/V minimum) for troubleshooting electrical circuits.
      10. Information labels are attached to the SRS components. Follow the instructions on the labels.
      11. After work on the SRS is completed, check the SRS warning light (see CHECK MODE PROCEDURE ).
    2. SPIRAL CABLE (in Combination Switch)
      1. The steering wheel must be fitted correctly to the steering column with the spiral cable at the neutral position, otherwise cable disconnection and other problems may occur. Refer to SPIRAL CABLE SUB-ASSY for information about correct installation of the steering wheel.
        Fig 11: Locating Match Mark On Steering Column With Spiral Cable
        G02583180Courtesy of © TOYOTA, LICENSE AGREEMENT TMS1002
    3. HORN BUTTON ASSEMBLY (with Airbag)
      1. When removing the horn button assembly or handling a new horn button, it should be placed with the pad surface facing up. See illustration below.

        Placing the horn button with the pad surface facing down may lead to a serious accident if the airbag accidently inflates. Also, do not place anything on top of the horn button.

      2. Never measure the resistance of the airbag squib. This may cause the airbag to inflate, which could cause serious injury.
      3. Grease or detergents of any kind should not be applied to the steering wheel pad.
      4. Store the horn button assembly in an area where the ambient temperature is below 93°C (200°F), the humidity is not high and electrical noise is not nearby.
      5. When using electric welding anywhere on the vehicle, disconnect the airbag ECU connectors (4 pins). These connectors contain shorting springs. This feature reduces the possibility of the airbag or seat belt pretensioner deploying due to currents entering the squib wiring.
      6. When disposing of the vehicle or the horn button assembly by itself, the airbag should be inflated using an SST before DISPOSAL . Perform the operation in a safe place away from electrical noise.
        Fig 12: Identifying Correct Way Placing Handling Horn Button
        G02583181Courtesy of © TOYOTA, LICENSE AGREEMENT TMS1002
        Fig 13: Precautions For Supplement Restraint System
        G02583182Courtesy of © TOYOTA, LICENSE AGREEMENT TMS1002
    4. INSTRUMENT PANEL PASSENGER AIRBAG ASSY
      1. Always place a removed or new instrument panel passenger airbag assembly with the airbag inflation direction facing up.

        Placing the airbag assembly with the airbag inflation direction facing down could cause a serious accident if the airbag inflates.

      2. Never measure the resistance of the airbag squib. This may cause the airbag to inflate, which could cause serious injury.
      3. Grease or detergents of any kinds should not be applied to the instrument panel passenger air-bag assembly.
      4. Store the airbag assembly in an area where the ambient temperature is below 93°C (200°F), the humidity is not high and electrical noise is not nearby.
      5. When using electric welding anywhere on the vehicle, disconnect the airbag ECU connectors (4 pins). These connectors contain shorting springs. This feature reduces the possibility of the airbag deploying due to currents entering the squib wiring.
      6. When disposing of a vehicle or the airbag assembly unit by itself, the airbag should be deployed using SST before DISPOSAL .

        Activate in a safe place away from electrical noise.

        Fig 14: Identifying Correct Way Of Storing Instrument Panel Passenger Airbag Assembly
        G02583183Courtesy of © TOYOTA, LICENSE AGREEMENT TMS1002
        Fig 15: Precautions For Supplement Restraint System
        G02583184Courtesy of © TOYOTA, LICENSE AGREEMENT TMS1002
    5. FRONT SEAT AIRBAG ASSEMBLY
      1. Always place a removed or new front seat airbag assembly with the airbag inflation direction facing up. Placing the airbag assembly with the airbag inflation direction facing downward could cause a serious accident if the airbag deploys.
      2. Never measure the resistance of the airbag squib. This may cause the airbag to inflate, which is very dangerous.
      3. Grease should not be applied to the front seat airbag assembly, and the airbag door should not be cleaned with detergents of any kind.
      4. Store the airbag assembly in an area where the ambient temperature is below 93°C (200°F), the humidity is not high and electrical noise is not nearby.
      5. When using electric welding anywhere on the vehicle, disconnect the airbag ECU connectors (2 pins). These connectors contain shorting springs. This feature reduces the possibility of the airbag deploying due to currents entering the squib wiring.
      6. When disposing of a vehicle or the airbag assembly unit by itself, the airbag should be deployed using SST before disposal (see FRONT SEAT AIRBAG ASSY LH ).

        Activate in a safe place away from electrical noise.

        Fig 16: Precautions For Supplement Restraint System
        G02583185Courtesy of © TOYOTA, LICENSE AGREEMENT TMS1002
    6. CURTAIN SHIELD AIRBAG ASSEMBLY
      1. Always place the removed or new curtain shield airbag assembly in a clear plastic bag, and keep it in a safe place.
        NOTE: Plastic bag is not reusable.
        CAUTION: Never disassemble the curtain shield airbag assembly.
      2. Never measure the resistance of the airbag squib. This may cause the airbag to inflate, which is very dangerous.
      3. Grease should not be attached to the curtain shield airbag assembly, and the surface should not be cleared with detergents of any kind.
      4. Store the airbag assembly in an area where the ambient temperature is below 93°C (200°F), the humidity is not high and electrical noise is not nearby.
      5. When using electric welding anywhere on the vehicle, disconnect the airbag ECU connectors (2 pins). These connectors contain shorting springs. This feature reduces the possibility of the airbag deploying due to currents entering the squib wiring.
      6. When disposing of a vehicle or the curtain shield airbag assembly unit by it self, the airbag should be deployed using SST before DISPOSAL .

        Activate in a safe place away from electrical noise.

        Fig 17: Identifying Correct Way Of Handling Curtain Shield Airbag Assembly
        G02583186Courtesy of © TOYOTA, LICENSE AGREEMENT TMS1002
        Fig 18: Precautions For Supplement Restraint System
        G02583187Courtesy of © TOYOTA, LICENSE AGREEMENT TMS1002
    7. SEAT BELT PRETENSIONER
      1. Never measure the resistance of the seat belt pretensioner. This may cause the seat belt pretensioner to activate, which is very dangerous.
      2. Never disassemble the seat belt pretensioner.
      3. Never install the seat belt pretensioner on another vehicle.
      4. Store the seat belt pretensioner in area where the ambient temperature is below 80°C (176°F), the humidity is not high and electrical noise is not nearby.
      5. When using electric welding anywhere on the vehicle, disconnect the airbag ECU connectors (2 pins). These connectors contain shorting springs. This feature reduces the possibility of the airbag deploying due to currents entering the squib wiring.
      6. When disposing of a vehicle or the seat belt pretensioner unit by itself, the seat belt pretensioner should be activated before DISPOSAL . Activate in a safe place away from electrical noise.
      7. The seat belt pretensioner is hot after being activated, so allow some time for it to cool down sufficiently before disposal. Never apply water to cool down the seat belt pretensioner.
      8. Oil or water should not be put on the front seat outer belt, and the front seat outer belt should not be cleaned with detergents of any kind.
        Fig 19: Precautions For Supplement Restraint System
        G02583188Courtesy of © TOYOTA, LICENSE AGREEMENT TMS1002
    8. AIRBAG SENSOR ASSEMBLY
      1. Never reuse an airbag sensor assembly that has been involved in a collision where the SRS has deployed.
      2. The connectors to the airbag sensor assembly should be connected or disconnected with the sensor mounted on the floor. If the connectors are connected or disconnected while the airbag sensor assembly is not mounted to the floor, it could cause accidental deployment of the SRS.
      3. Work must be started at least 90 seconds after the ignition switch is turned to the LOCK position and the negative (-) terminal cable is disconnected from the battery, even if only loosening the set bolts of the airbag sensor assembly.
    9. WIRE HARNESS AND CONNECTOR
      1. The SRS wire harness is integrated with the instrument panel wire harness assembly. All the connectors in the system are a standard yellow color. If the SRS wire harness becomes disconnected or the connector becomes broken, repair or replace it.
  3. ELECTRONIC CONTROL 
    1. REMOVAL AND INSTALLATION OF BATTERY TERMINAL
      1. Before performing electronic work, disconnect the battery negative (-) terminal cable beforehand to prevent component and wire damage caused by accidental short circuits.
        Fig 20: Identifying Battery Negative (-) Terminal Cable
        G02583189Courtesy of © TOYOTA, LICENSE AGREEMENT TMS1002
      2. When disconnecting and installing the terminal cable, turn the ignition switch and lighting switch OFF and loosen the terminal nut completely. Perform these operations without twisting or prying the terminal. Remove the battery cable from battery post.
      3. Clock settings, radio settings, DTCs and other data are erased when the battery cable is removed. Before removing the battery cable, record any necessary data.
      4. When disconnecting the battery's negative (-) terminal cable, re-initialize the following systems after the completion of the operation.
    2. HANDLING OF ELECTRONIC PARTS
      1. Do not open the cover or case of the ECU unless absolutely necessary. If the IC terminals are touched, the IC may be rendered inoperative by static electricity.
      2. To disconnect electronic connectors, pull the connector itself, not the wires.
        Fig 21: Precautions For Handling Electronic Parts
        G02583190Courtesy of © TOYOTA, LICENSE AGREEMENT TMS1002
      3. Be careful not to drop electronic components, such as sensors or relays. If they are dropped on a hard floor, they should be replaced.
      4. When cleaning the engine with steam, protect the electronic components, air filter and emission-related components from water.
      5. Never use an impact wrench to remove or install temperature switches or temperature sensors.
      6. When checking the continuity at the wire connector, insert the tester probe carefully to prevent terminals from bending.
  4. REMOVAL AND INSTALLATION OF FUEL CONTROL PARTS 
    1. PLACE FOR REMOVING AND INSTALLING OF FUEL SYSTEM PARTS
      1. Work in a place with good air ventilation and without any ignition sources, such as a welder, grinder, drill, electric motor or stove.
      2. Never work in a place such as a pit or near a pit because vaporized fuel will collect in those places.
    2. REMOVING AND INSTALLING OF FUEL SYSTEM PARTS
      1. Prepare a fire extinguisher before starting operation.
      2. To prevent static electricity, install a ground on the fuel changer, vehicle and fuel tank, and do not spray the area with water. The work surface will become slippery. Do not clean up spills with water as this will spread and gasoline and create a fire hazard.
      3. Never use any electric equipment like an electric motor or a working light, as they may create sparks or high temperatures.
      4. Never use an iron hammer, as it may create sparks.
      5. Dispose of fuel-contaminated shop rags separately using a fire resistant container.
  5. REMOVAL AND INSTALLATION OF ENGINE INTAKE PARTS 
    1. If any metal particle enters the inlet pass, this may damage the engine.
    2. When removing and installing the inlet system parts, cover the openings of the removed parts and engine openings. Use clean shop rags, gummed tape, or other suitable materials.
    3. When installing the inlet system parts, check that no metal particles have entered the engine or the installed part.
      Fig 22: Covering Intake Port
      G02583191Courtesy of © TOYOTA, LICENSE AGREEMENT TMS1002
  6. HANDLING OF HOSE CLAMPS 
    1. Before removing the hose, check the clamp position so that you can restore it in the same way.
    2. Replace deformed or dented clamps with new ones.
    3. When reusing a hose, attach the clamp on the clamp track portion of the hose.
    4. For a spring type clamp, to spread the tabs slightly after installation by pushing in the direction of the arrow marks as shown in the illustration.
      Fig 23: Identifying Proper Handling Of Hose Clamps
      G02583192Courtesy of © TOYOTA, LICENSE AGREEMENT TMS1002
  7. FOR VEHICLES EQUIPPED WITH MOBILE COMMUNICATION SYSTEM 
    1. Install the antenna as far away from the ECU and sensors of the vehicle electronic systems as possible.
      Fig 24: Installing Antenna As Far Away From ECU And Sensors Of The Vehicle Electronic Systems As Possible
      G02583193Courtesy of © TOYOTA, LICENSE AGREEMENT TMS1002
    2. Install an antenna feeder at least 20 cm (7.87 in.) away from the ECU and sensors of the vehicle electronic systems. For details of the ECU and sensors locations, refer to the information on applicable components.
    3. Keep the antenna and feeder separate from other wirings as much as possible. This will prevent signals from the communication equipment from affecting vehicle equipment and vice-versa.
    4. Check that the antenna and feeder are correctly adjusted.
    5. Do not install any high-powered mobile communication system.
  8. FOR VEHICLES EQUIPPED WITH VEHICLE STABILITY CONTROL (VSC) SYSTEM 
    1. NOTICES WHEN USING DRUM TESTER
      1. Before beginning testing, disable the Vehicle Skid Control system (VSC). To disable the VSC, turn the ignition switch OFF and connect SST to terminals TS and CG of DLC3.

        SST 09843-18040

        Fig 25: Identifying DLC3 TS And CG Terminals
        G02583194Courtesy of © TOYOTA, LICENSE AGREEMENT TMS1002
      NOTE:
      • Confirm that the VSC warning light blinks.
      • VSC system will be reset when the engine is restarted.
      • For safety, secure the vehicle with restraint chains while using a wheel dynamometer.
    2. NOTICES OF RELATED OPERATIONS TO VSC
      1. Do not carry out unnecessary installation and removal as it might affect the adjustment of VSC related parts.
      2. Be sure to follow the instructions for work preparation and final confirmation of proper operation of the VSC system.
  9. WHEN SERVICING FULL-TIME 4WD VEHICLES 

    The Full-time 4WD 4RUNNER is equipped with the mechanical lock type center differential system.

    During tests that require the use of a brake tester or chassis dynamometer, such as braking force tests or speedometer tests, if only the front or rear wheels are to be rotated, it is necessary to set the position of the center differential to FREE or LOCK depending on the type of the test being performed.

    Fig 26: Identifying Center Differential Lock Indicator Light And Center Differential Lock Switch
    G02583195Courtesy of © TOYOTA, LICENSE AGREEMENT TMS1002

    Center differential FREE condition: 

    Fig 27: Center Differential Free Condition Chart
    G02583196Courtesy of © TOYOTA, LICENSE AGREEMENT TMS1002

    Center differential LOCK condition: 

    Fig 28: Center Differential Lock Condition Chart
    G02583197Courtesy of © TOYOTA, LICENSE AGREEMENT TMS1002
    Fig 29: Identifying Indicator Light Conditions
    G02583198Courtesy of © TOYOTA, LICENSE AGREEMENT TMS1002
    NOTE: Center differential LOCK --> FREE selecting procedures:
    • Operate the switch only when all 4 wheels are stopped or driving in a straight line.
    • Never operate the switch when any wheel is slipping.
    • Never operate the switch when any wheel is spinning freely.
    • Never operate the switch when swerving or cornering.

    HINT:

    • Center differential LOCK <--> FREE selecting procedures: Move the vehicle forward or backward slightly if the indicator light does not operate correctly when the center differential lock switch is turned ON or OFF.
    • 4WD switch H4 <--> L4 position switching procedures: When switching, always put the shift lever of the transmission in N position. In other positions, the transfer gear cannot be changed.
      Fig 30: Identifying Center Differential Lock Switch
      G02583199Courtesy of © TOYOTA, LICENSE AGREEMENT TMS1002
  10. WHEN TESTING BRAKES, SPEEDOMETER, ETC. 
    1. When carrying out any kind of servicing or testing on a Full-time 4WD 4RUNNER in which the front or rear wheels are to be rotated (braking test, speedometer test), be sure to observe the precautions listed below.

      Incorrect preparations or test procedures may cause damage as well as unsuccessful test results.

      Before starting any such servicing or test, be sure to check the following items:

      • Center differential mode position (FREE or LOCK)
        Fig 31: Identifying Center Differential Lock Indicator Light And Center Differential Lock Switch
        G02583200Courtesy of © TOYOTA, LICENSE AGREEMENT TMS1002
      • Vehicle Stability Control (VSC) system:

        If the vehicle is equipped with this system, the slip indicator light, the VSC/TRAC warning light and the VSC OFF indicator light come on with the ignition switch turned ON. They will go off in a few seconds.

      • Whether wheels should be touching the ground or jacked up
      • Transmission gear position (N position)
      • 4WD switch position (H4 or L4 position)
      • Maximum testing vehicle speed
      • Maximum testing time
        Fig 32: Identifying VSC System Indicator Light
        G02583201Courtesy of © TOYOTA, LICENSE AGREEMENT TMS1002
    2. Using Braking Tester:

      Test by low-speed type brake tester (Vehicle Speed: Below 0.5 km/h or 0.3 mph) and observe the following instructions before the test.

      1. Position the wheels to be tested (front or rear) on the tester.
      2. Put the center differential in FREE position.
      3. Deactivate the Vehicle Stability Control (VSC) system.
      4. Shift the transmission shift lever to N position.
        Fig 33: Testing Brakes Using Braking Tester
        G02583202Courtesy of © TOYOTA, LICENSE AGREEMENT TMS1002

      HINT:

      Do not forget to change the Vehicle Stability Control (VSC) & Traction Control (TRAC) system to operational condition after the test. Check that the VSC/TRAC warning indicator light goes off when restarting the engine.

    3. Using Speedometer Tester:

      Observe the following instructions and then test with the rear wheels.

      1. Position the rear wheels on the tester roller.
      2. Position the front wheels on the free roller or jack them up.
      3. Put the center differential in FREE position.
      4. Deactivate the Vehicle Stability Control (VSC) & Traction Control (TRAC) system.
      5. Ensure that the vehicle does not move using chains.
        Fig 34: Testing Brakes Using Speedometer Tester
        G02583203Courtesy of © TOYOTA, LICENSE AGREEMENT TMS1002
      NOTE: The maximum speed should be less than 60 km/h (37 mph) and maximum driving time should be 1 minute.

      HINT:

      • Do not suddenly shift gears, brake, accelerate or decelerate.
      • Do not forget to reactivate the Vehicle Stability Control (VSC) & Traction Control (TRAC) system. Check that the VSC warning light goes off when restarting the engine.
    4. Using Chassis Dynamometer:

      Observe the following instructions and then test with the rear wheels.

      1. Remove the front propeller shaft.
      2. Put the center differential in LOCK position.
      3. Deactivate the Vehicle Stability Control (VSC) & Traction Control (TRAC) system.
      4. Make sure that the vehicle is securely fixed.
        Fig 35: Testing Brakes Using Chassis Dynamometer
        G02583204Courtesy of © TOYOTA, LICENSE AGREEMENT TMS1002

      HINT:

      • Do not suddenly shift gears, brakes, accelerate or decelerate.
      • Do not forget to reactivate the Vehicle Stability Control (VSC) & Traction Control (TRAC) system. Check that the VSC warning indicator light goes off when restarting the engine.
    5. On-Vehicle Wheel Balancing:

      When doing on-vehicle wheel balancing on a full-time 4WD vehicle, to prevent each wheel from being rotated at different speed in different directions (which could damage the center differential), always be sure to observe the following precautions.

      1. All 4 wheels should be jacked up, so they do not touch the ground at all.
      2. Put the center differential in LOCK position.
      3. Deactivate the Vehicle Stability Control (VSC) & Traction Control (TRAC) system.
      4. Fully release the parking brake lever.
      5. None of the brakes should be applied.
      6. Drive the wheels on the wheel balancer with the engine running.
      7. Carry out the wheel balancing with the transmission position in D position.
        Fig 36: Identifying On-Vehicle Wheel Balancing Procedure
        G02583205Courtesy of © TOYOTA, LICENSE AGREEMENT TMS1002

      HINT:

      • When balancing, pay attention to the other wheels rotating at the same time.
      • Do not suddenly shift gears, brake, accelerate or decelerate.
      • Do not forget to reactivate the Vehicle Stability Control (VSC) & Traction Control (TRAC) system to operational condition after the test. Check that the VSC warning indicator light goes off when restarting the engine.
  11. FOR VEHICLES EQUIPPED WITH CATALYTIC CONVERTER 
    CAUTION: If a large amount of unburned gasoline or gasoline vapors flow into the converter, it may cause overheating and create a fire hazard. To prevent this, observe the following precautions.
    1. Use only unleaded gasoline.
    2. Avoid prolonged idling.

      Avoid idling the engine for more than 20 minutes.

    3. Avoid a spark jump test.
      1. Perform a spark jump test only when absolutely necessary. Perform this test as rapidly as possible.
      2. While testing, never race the engine.
    4. Avoid a prolonged engine compression measurement.

      Engine compression measurements must be performed as rapidly as possible.

    5. Do not run the engine when the fuel tank is nearly empty. This may cause the engine to misfire and create an extra load on the converter.
  12. WHEN TOWING FULL-TIME 4WD VEHICLES 
    • Use one of the methods shown below to tow the vehicle.
    • If the vehicle has trouble with the chassis or drive train, use method 1 (flat bed truck).
      Fig 37: Identifying Various Vehicle Towing Method (Full-Time 4WD Vehicles)
      G02583206Courtesy of © TOYOTA, LICENSE AGREEMENT TMS1002
NOTE: Do not use any towing method other than those shown above.