LEMON Manuals: Even more car manuals for everyone: 1960-2025
Home >> Lexus >> 2003 >> LX 470 >> Repair and Diagnosis >> Body & Frame >> Door Locks >> Engine Immobilizer System >> Registration Procedure
April 5, 2026: LEMON Manuals is launched! Read the announcement.

Registration Procedure

HINT:

In the case of having lost all the already registered master keys, you are not able to do additional registration or deletion. Change the Transponder key ECU and then register the new key codes following the registration procedure of the automatic registration mode.

  1. KEY REGISTRATION IN AUTOMATIC REGISTRATION MODE 
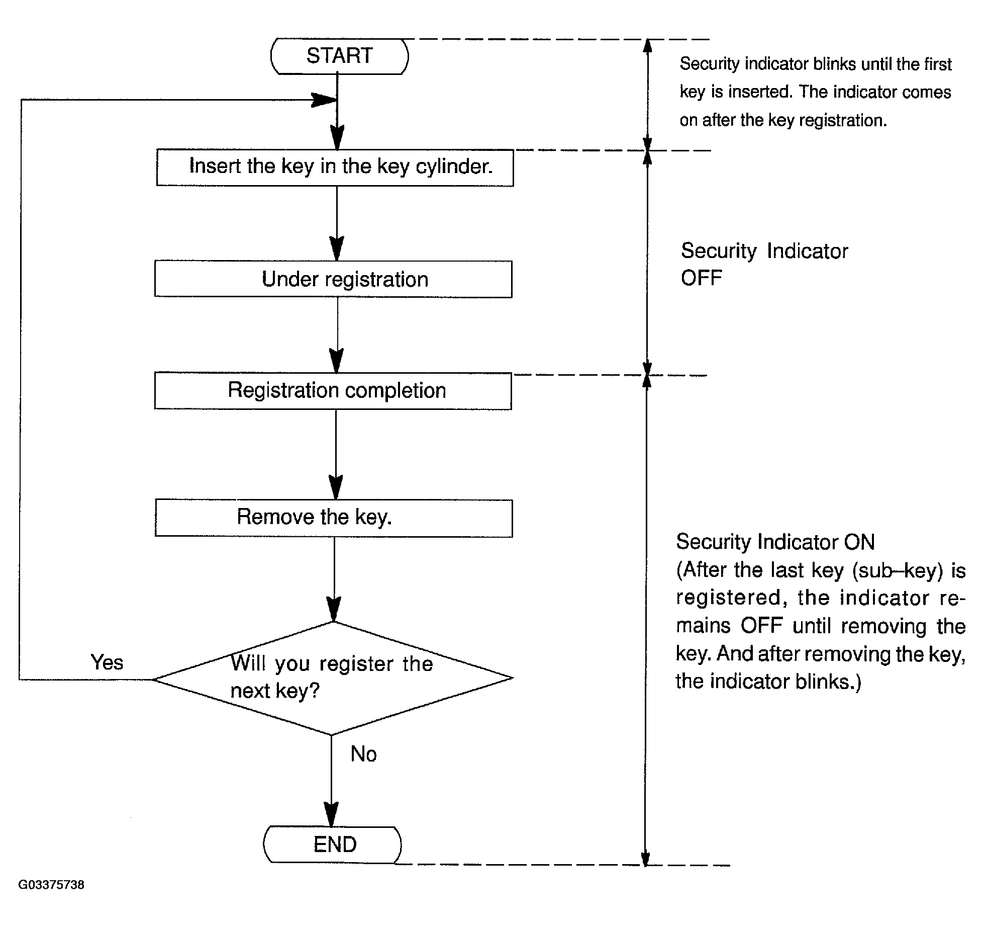
    1. Registration of a new transponder key.

      HINT:

      • This must be done when you install a new Transponder key ECU.
      • The new Transponder key ECU is on the automatic key code registration mode. The already fixed of key codes for this Transponder key ECU can be registered. On this type of vehicle, up to 4 key codes can be registered.
      • A master and sub key are registered automatically.
      Fig 1: Registration Procedure Flow Chart
      G03375738Courtesy of © TOYOTA, LICENSE AGREEMENT TMS1002

      HINT:

      • When a key is not inserted in the key cylinder on the automatic registration mode, the security indicator always comes.
      • When the immobilizer system operates normally and the key is pulled out, the security indicator blinks.
    2. Automatic registration mode completion

      If completing the mode forcibly when registering more than 1 key code on the automatic registration mode, perform the following procedures.

      After registering 1 more key code with master key, perform step (1) or (2) without pulling the key out or inserting the already registered key.

      1. Turn the ignition switch LOCK -> ON 5 times within 10 sec.
      2. With the LEXUS hand-held tester, require automatic registration mode completion.
  2. REGISTRATION OF ADDITIONAL MASTER KEY AND SUB KEY 

    It is possible to carry out additional registration of the supply key.

    HINT:

    • It is possible to register up to 5 master key codes including the already registered key code.
    • It is possible to register up to 3 sub key codes including the already registered key code.
    • When any operation period described below is over, registration mode cannot be completed.
    • When the next procedure is performed while the previous timer is working, the timer stops counting time, and then the next timer starts.
    • When replacing "Ignition Cylinder Key Set" or "Lock Cylinder Set", perform registration following the procedure using the original master key. However, after the registration of the additional master key, as the original master key and the original sub-key is not necessary any more, erase registration of those key codes.
    • For the registration order, it is not necessary to distinguish between Main and Sub. (Main key and Sub key are automatically identified)

    When a registration error in the transponder key ECU is detected, the security indicator indicates the following codes.

    INDICATOR CODES

    2-1 Communication error between the key to be registered and the transponder key ECU
    2-2 When trying to register the key that is already registered
    2-3 When exceeding the number of keys which can be registered (Master key: 5, Sub key: 3)
    Fig 2: Blink Patterns
    G03375739Courtesy of © TOYOTA, LICENSE AGREEMENT TMS1002

    Using LEXUS hand-held tester:

    Fig 3: Additional Master Key & Sub Key Registration Procedure Flow Chart
    G03375740Courtesy of © TOYOTA, LICENSE AGREEMENT TMS1002

    HINT:

    Follow the screen of the hand-held tester for detailed procedure.

  3. ERASURE OF TRANSPONDER KEY CODE 

    Using LEXUS hand-held tester:

    Fig 4: Erasure Of Transponder Key Code Flow Chart
    G03375741Courtesy of © TOYOTA, LICENSE AGREEMENT TMS1002

    HINT:

    • Follow the screen of the hand-held tester for more detailed procedure.