LEMON Manuals: Even more car manuals for everyone: 1960-2025
Home >> Lexus >> 2003 >> SC 430 >> Repair and Diagnosis >> External Pages >> Different car >> Section 214 (Wireless Door Lock Control System (W/Smart Key System) - Diagnosis) >> Inspection >> Notes
April 5, 2026: LEMON Manuals is launched! Read the announcement.

Section 214 (Wireless Door Lock Control System (W/Smart Key System) - Diagnosis): Inspection: Notes

WARNING: This page is about a different car, the 2004 Lexus LS 430. However, it is still accessible from the selected car via links, so may be relevant.
  1. WIRELESS DOOR LOCK DIAGNOSTIC MODE 
    1. Switch to self-diagnostic mode on the hand-held tester.

      HINT:

      This mode checks signal transmission/reception between the door control transmitter, door control receiver and theft warning ECU (theft deterrent ECU). If all of a customer's door control transmitters do not function, it is possible the door control transmitter(s) and/or wire harness is malfunctioning.

      1. Switch to self-diagnostic mode on the hand-held tester.
      2. Turn the ignition switch ON.
      3. Please refer to the hand-held tester operator manual for further details.

      HINT:

      Do not lock or unlock doors during self-diagnostic mode.

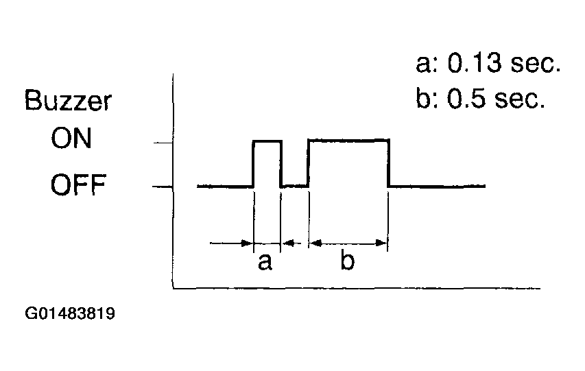
    2. Check that the system has switched to self-diagnostic mode by listening to the wireless door lock buzzer. The buzzer should sound according to the illustration on the left.
      Fig 1: Checking System Has Switched To Self-Diagnostic Mode By Listening To Wireless Door Lock Buzzer
      G01483819Courtesy of © TOYOTA, LICENSE AGREEMENT TMS1002
    3. Inspect the diagnosis outputs when the door control transmitter switch is held down (the diagnosis outputs can be checked with the sound of the wireless door lock buzzer).
      Fig 2: Inspecting Diagnosis Outputs When Door Control Transmitter Switch Is Held Down
      G01483820Courtesy of © TOYOTA, LICENSE AGREEMENT TMS1002

      HINT:

      If "unmatching recognition code" or "no diagnosis output" is output, perform the inspections below.

      • Wireless door lock transmitter.
      • Door control receiver (inner mirror).
      • Door control receiver (luggage).
      • Wire harness between the door control receiver and theft warning ECU assy.
  2. INSPECTION TRANSMITTER SUB-ASSY MODULE SET DOOR CONTROL 
    1. Inspect operation of the transmitter.
      1. Remove the outer cover using a screwdriver.
      2. Remove the battery (lithium battery) from the transmitter.
      3. Install a new or normal battery (lithium battery).

        HINT:

        When a new or normal battery is not available, first connect 2 new 1.5 V batteries in series. Then connect leads to the batteries and use the leads to apply 3 V to the transmitter, as shown in the illustration.

      4. From outside the vehicle, approximately 1 m (3.28 ft) from the driver side outside door handle, test the transmitter by pointing its key plate at the vehicle and pressing a transmitter switch.

        OK: Go to next step 

        The door lock can be operated via the transmitter 

        HINT:

        • The operational are differs depending on the user, the way the transmitter is held and the location.
        • The transmitter's faint electric waves may be affected if the area has strong electric wave or noise. The transmitter's operation area may be shortened or the transmitter may not function.
        Fig 3: Identifying Inspection Transmitter Sub-Assy Module Set Door Control
        G01483821Courtesy of © TOYOTA, LICENSE AGREEMENT TMS1002
  3. INSPECT DOOR CONTROL RECEIVER (INNER MIRROR) 
    1. Disconnect the 119 receiver connector.
    2. Measure the resistance of each terminal of the wire harness side connector and body ground.

      Standard: 

      Fig 4: Inspecting Door Control Receiver (Inner Mirror)
      G01483822Courtesy of © TOYOTA, LICENSE AGREEMENT TMS1002

      If the result is not as specified, repair or replace the wire harness and connector.

    3. Reconnect the 119 receiver connector.
    4. Measure the resistance of each terminal of the wire harness side connector.

      Standard: 

      Fig 5: Identifying Terminals Resistance Specification Table
      G01483823Courtesy of © TOYOTA, LICENSE AGREEMENT TMS1002
      Fig 6: Identifying Terminals Resistance Specification Table
      G01483824Courtesy of © TOYOTA, LICENSE AGREEMENT TMS1002

      If the result is not as specified, replace the door control receiver.

  4. INSPECT DOOR CONTROL RECEIVER (LUGGAGE) 
    1. Disconnect the D30 receiver connector.
    2. Measure the resistance and voltage between the wire harness side connector and body ground.

      Standard: 

      Fig 7: Inspecting Door Control Receiver (Luggage)
      G01483825Courtesy of © TOYOTA, LICENSE AGREEMENT TMS1002

      If the result is not as specified, repair or replace the wire harness and connector.

    3. Reconnect the D30 receiver connector.
    4. Measure the voltage between the terminal and body ground.

      Standard: 

      Fig 8: Identifying Terminals Voltage And Resistance Specification Table
      G01483826Courtesy of © TOYOTA, LICENSE AGREEMENT TMS1002

      If the result is not as specified, replace the door control receiver.

      Fig 9: Identifying Terminals Voltage And Resistance Specification Table
      G01483827Courtesy of © TOYOTA, LICENSE AGREEMENT TMS1002
  5. INSPECT WIRELESS DOOR BUZZER 
    1. Disconnect the K1 receiver connector.
    2. Measure the resistance of each terminal of the wire harness side connector and body ground.

      Standard: 

      Fig 10: Inspecting Wireless Door Buzzer
      G01483828Courtesy of © TOYOTA, LICENSE AGREEMENT TMS1002
      Fig 11: Identifying Terminals Voltage And Resistance Specification Table
      G01483829Courtesy of © TOYOTA, LICENSE AGREEMENT TMS1002

      If the result is not as specified, repair or replace the wire harness and connector.

    3. Reconnect the K1 receiver connector.
    4. Measure the resistance between terminals 1 and 3 of the buzzer.

      Standard: Approximately 1 kΩ 

    NOTE:
    • The buzzer circuit is built into the theft warning ECU, not into the buzzer itself.
    • When battery voltage is directly applied to the buzzer, the buzzer does not sound.

    If the result is not as specified, replace the door control receiver.

  6. INSPECT WIRELESS DOOR BUZZER 
    1. Measure the resistance between terminals 1 and 2 of the buzzer controller.

      Standard: 

      Fig 12: Inspecting Wireless Door Buzzer
      G01483830Courtesy of © TOYOTA, LICENSE AGREEMENT TMS1002
      Fig 13: Identifying Terminals Resistance Specification Table
      G01483831Courtesy of © TOYOTA, LICENSE AGREEMENT TMS1002

      If the result is not as specified, repair or replace the wire harness and connector.