LEMON Manuals: Even more car manuals for everyone: 1960-2025
Home >> Lexus >> 2003 >> SC 430 >> Repair and Diagnosis >> External Pages >> Different car >> Section 440 (Headlight Cleaner System) >> Inspection
April 5, 2026: LEMON Manuals is launched! Read the announcement.

Section 440 (Headlight Cleaner System): Inspection

WARNING: This page is about a different car, the 2003 Lexus LS 430. However, it is still accessible from the selected car via links, so may be relevant.
  1. INSPECT HEADLIGHT CLEANER SWITCH CONTINUITY 
    SPECIFIED CONDITION

    Switch position Tester connection Specified condition
    OFF - No continuity
    ON 10 - 11 Continuity
    Illumination circuit 2 - 3 Continuity

    If continuity is not as specified, replace the switch.

    Fig 1: Identifying Headlight Cleaner Switch Terminals
    G03376892Courtesy of © TOYOTA, LICENSE AGREEMENT TMS1002
  2. INSPECT HEADLIGHT CLEANER SWITCH CIRCUIT 

    Disconnect the switch connector and inspect the connector on wire harness side, as shown.

    Fig 2: Identifying Headlight Cleaner Switch Terminals
    G03376893Courtesy of © TOYOTA, LICENSE AGREEMENT TMS1002
    SPECIFIED CONDITION

    Tester connection Condition Specified condition
    10 - Ground Headlight ON Continuity
    10 - Ground Headlight OFF No continuity

    If circuit is not as specified, inspect the circuits connected to other parts.

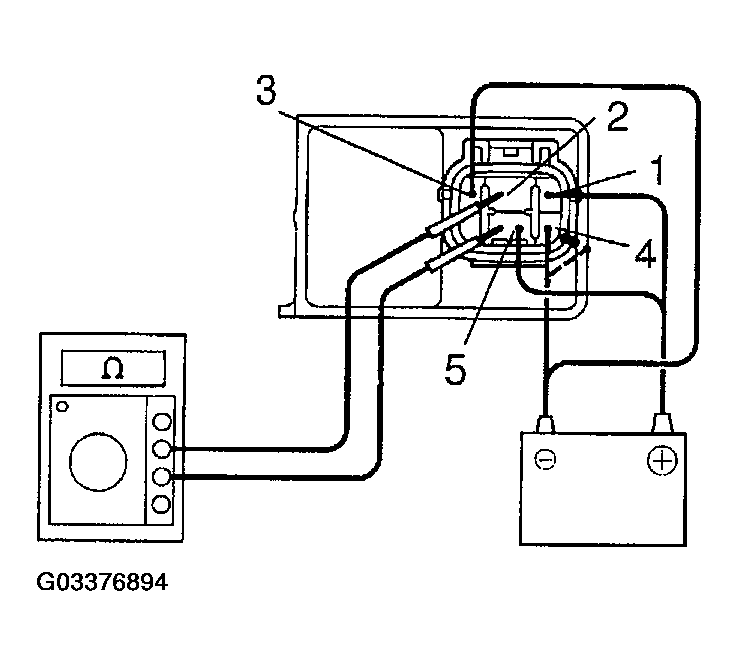
  3. INSPECT HEADLIGHT CLEANER RELAY OPERATION 
    1. Check that no continuity exists between terminals 2 and 5.
    2. Connect the positive (+) lead from the battery to terminals 1 and 5, and the negative (-) lead to terminal 3.
    3. Connect the negative (-) lead from the battery to terminal 4, and check that continuity exists between terminals 2 and 5 for 0.9 - 1.1 seconds, then no continuity exists.

      If operation is not as specified, replace the motor.

      Fig 3: Inspecting Headlight Cleaner Relay Operation
      G03376894Courtesy of © TOYOTA, LICENSE AGREEMENT TMS1002
  4. INSPECT HEADLIGHT CLEANER RELAY CIRCUIT 

    Disconnect the connector from the relay and inspect the connector on wire harness side, as shown.

    Fig 4: Identifying Headlight Cleaner Relay Components
    G03376895Courtesy of © TOYOTA, LICENSE AGREEMENT TMS1002
    SPECIFIED CONDITION

    Tester connection Condition Specified condition
    2 - Ground 3 - Ground Constant Continuity
    4 - Ground Ignition switch ON, light control switch in HEAD and cleaner switch OFF No continuity
    4 - Ground Ignition switch ON, light control switch in HEAD and cleaner switch ON or daytime running light system operating Continuity
    1 - Ground Ignition switch OFF or ACC No voltage
    1 - Ground Ignition switch ON Battery voltage
    5 - Ground Constant Battery voltage

    If circuit is not as specified, inspect the circuits connected to other parts.

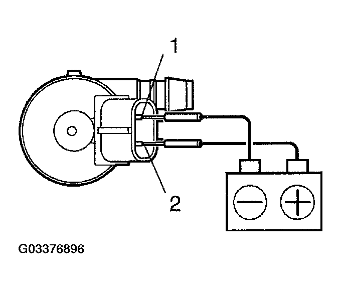
  5. INSPECT HEADLIGHT CLEANER MOTOR OPERATION 

    Connect the positive (+) lead from the battery to terminal 2 and the negative (-) lead to terminal 1, check that the motor operates.

    NOTE: These tests must be performed quickly (within 20 seconds) to prevent the coil from burning out.

    If operation is not as specified, replace the motor.

    Fig 5: Inspecting Headlight Cleaner Motor Operation
    G03376896Courtesy of © TOYOTA, LICENSE AGREEMENT TMS1002
  6. INSPECT HEADLIGHT CLEANER MOTOR CIRCUIT 

    Disconnect the connector from the cleaner motor and inspect the connector on wire harness side, as shown.

    Fig 6: Identifying Headlight Cleaner Motor Terminals
    G03376897Courtesy of © TOYOTA, LICENSE AGREEMENT TMS1002
    SPECIFIED CONDITION

    Tester connection Condition Specified condition
    2 - Ground Constant Continuity

    If circuit is not as specified, inspect the circuits connected to other parts.