LEMON Manuals: Even more car manuals for everyone: 1960-2025
Home >> Lexus >> 2003 >> SC 430 >> Repair and Diagnosis >> External Pages >> Different car >> Section 548 (Air Conditioning System) >> Air Conditioning Control Assembly >> Inspection
April 5, 2026: LEMON Manuals is launched! Read the announcement.

Air Conditioning Control Assembly: Inspection

WARNING: This page is about a different car, the 2004 Lexus LX 470. However, it is still accessible from the selected car via links, so may be relevant.
  1. w/o LEXUS navigation system: 

    INSPECT ILLUMINATION OPERATION 

    1. Connect the positive (+) lead from the battery to terminal C10 and negative (-) lead to terminal C19 then check that the indicators' illuminate.

      If operation is not as specified, check the faulty bulb.

    2. Remove the bulb (See DISASSEMBLY ).
      Fig 1: Checking Indicator Illumination Operation (W/O Lexus Navigation System)
      G02987340Courtesy of © TOYOTA, LICENSE AGREEMENT TMS1002
    3. Using the tester as shown in Fig 2 , test the continuity.

    If continuity exists, replace the heater control.

    If no continuity exists, replace the bulb.

    Fig 2: Checking Indicator Bulb Continuity (W/O Lexus Navigation System)
    G02987341Courtesy of © TOYOTA, LICENSE AGREEMENT TMS1002
  2. w/o LEXUS navigation system: 

    INSPECT INDICATORS OPERATION 

    1. Connect the positive (+) lead from the battery to terminal C22 and negative (-) lead to terminal C12.
    2. Check that the indicators come on while operate the switches.

    If operation is not as specified, replace the heater control.

  3. INSPECT A/C CONTROL ASSEMBLY CIRCUIT (See  TERMINALS OF ECU  ) 
    Fig 3: Inspecting Indicators Operation (W/O Lexus Navigation System)
    G02987342Courtesy of © TOYOTA, LICENSE AGREEMENT TMS1002
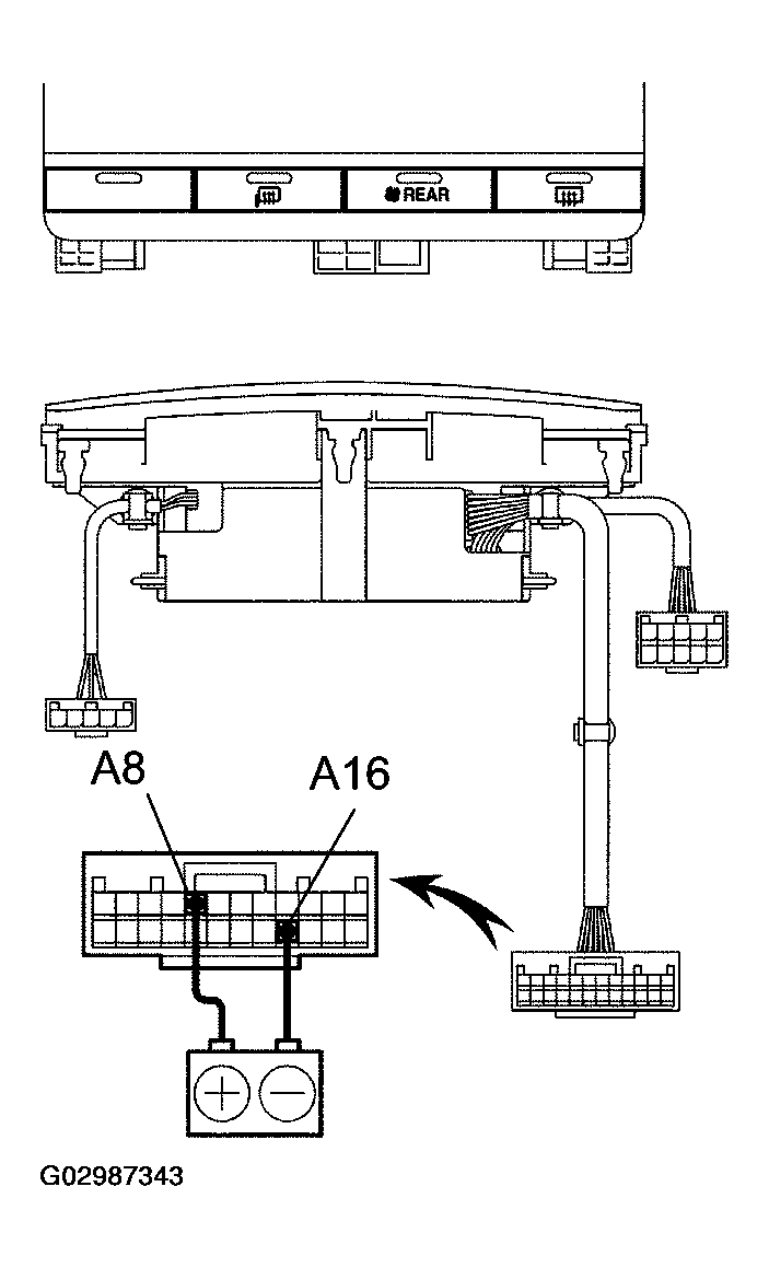
  4. w/ LEXUS navigation system: 

    INSPECT INDICATORS OPERATION 

    1. Connect the positive (+) lead from the battery to terminal A8 and negative (-) lead to terminal A16.
    2. Check that the indicators come on while operating the switches.

    If operation is not as specified, replace the heater control.

  5. INSPECT A/C CONTROL ASSEMBLY CIRCUIT (See  TERMINALS OF ECU  ) 
    Fig 4: Inspecting Indicators Operation (W/ Lexus Navigation System)
    G02987343Courtesy of © TOYOTA, LICENSE AGREEMENT TMS1002