LEMON Manuals: Even more car manuals for everyone: 1960-2025
Home >> Lexus >> 2003 >> SC 430 >> Repair and Diagnosis >> External Pages >> Different car >> Section 548 (Air Conditioning System) >> Room Temperature Sensor (For Front A/C) >> Inspection
April 5, 2026: LEMON Manuals is launched! Read the announcement.

Room Temperature Sensor (For Front A/C): Inspection

WARNING: This page is about a different car, the 2004 Lexus LX 470. However, it is still accessible from the selected car via links, so may be relevant.
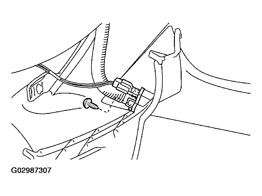
  1. REMOVE ROOM TEMPERATURE SENSOR 
    1. Remove the lower No. 1 panel set screw.
    2. Release the lower No. 1 panel set claws.
      Fig 1: Removing Room Temperature Sensor
      G02987307Courtesy of © TOYOTA, LICENSE AGREEMENT TMS1002
    3. Disconnect the connector and the aspirator hose.
    4. Remove the screw and the room temperature sensor.
  2. INSPECT ROOM TEMPERATURE SENSOR CIRCUIT 

    (See  DTC 11 FRONT ROOM TEMPERATURE SENSOR CIRCUIT  ) 

  3. INSTALL ROOM TEMPERATURE SENSOR 
    1. Install the room temperature sensor to the lower No. 1 panel with the screw.
    2. Connect the aspirator hose and the connector.
    3. Install the lower No. 1 panel with the screw.