LEMON Manuals: Even more car manuals for everyone: 1960-2025
Home >> Lexus >> 2003 >> SC 430 >> Repair and Diagnosis >> General Information >> Identification >> Introduction >> Identification Information >> Vehicle Identification And Serial Numbers
April 5, 2026: LEMON Manuals is launched! Read the announcement.

Vehicle Identification And Serial Numbers

  1. VEHICLE IDENTIFICATION NUMBER 
    1. The vehicle identification number is stamped on the vehicle identification number plate and the certification label, as shown in the illustration.

      A: Vehicle Identification Number Plate 

      B: Certification Label 

    Fig 1: Identifying Vehicle Identification Number Plate And Certification Label Locations
    G03370143Courtesy of © TOYOTA, LICENSE AGREEMENT TMS1002
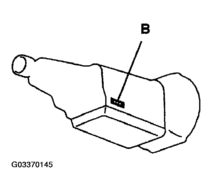
  2. ENGINE SERIAL NUMBER AND TRANSMISSION SERIAL NUMBER 
    1. The engine serial number is stamped on the cylinder block of the engine, and the transmission serial number is stamped on the housing, as shown in the illustration.

      A: Engine Serial Number 

      B: Transmission Serial Number 

    Fig 2: Identifying Engine Serial Number Location
    G03370144Courtesy of © TOYOTA, LICENSE AGREEMENT TMS1002
    Fig 3: Identifying Transmission Serial Number Location
    G03370145Courtesy of © TOYOTA, LICENSE AGREEMENT TMS1002