LEMON Manuals: Even more car manuals for everyone: 1960-2025
Home >> Lexus >> 2005 >> ES 330 V6-3.3L (3MZ-FE) >> Repair and Diagnosis >> Service and Repair >> Basic Repair Hints
April 5, 2026: LEMON Manuals is launched! Read the announcement.

Basic Repair Hints

BASIC REPAIR HINTS




a. HINTS ON OPERATIONS

b. JACKING UP AND SUPPORTING VEHICLE
1. Care must be taken when jacking up and supporting the vehicle. Be sure to lift and support the vehicle at the proper locations.




c. PRECOATED PARTS
1. Precoated parts are bolts, nuts, etc. that are coated with a seal lock adhesive at the factory.
2. If a precoated part is retightened, loosened or caused to move in any way, it must be recoated with the specified adhesive.
3 When reusing precoated parts, clean off the old adhesive and dry the part with compressed air. Then apply the specified seal lock adhesive to the bolt, nut or threads.

NOTE: Perform the torque checking with the lower limit value of the torque tolerance.

4. Depending on the seal lock agent to apply, there may be a case where it is necessary to leave it for a specified time until it hardens.

d. GASKETS
1. When necessary, use a sealer on gaskets to prevent leaks.

e. BOLTS, NUTS AND SCREWS
1. Carefully observe all the specifications for tightening torques. Always use a torque wrench.







f. FUSES
1. When replacing fuses, be sure that a new fuse has the correct amperage rating. DO NOT exceed the rating, or use one with a lower rating.

Part 1:




Part 2:




g. CLIPS
1. The removal and installation methods of typical clips used in body parts are shown in the table.

HINT: If the clip is damaged during the operation, always replace it with a new clip.

h. REMOVAL AND INSTALLATION OF VACUUM HOSES




1. To disconnect vacuum hoses, pull them by holding the end, not the middle of the hose.




2. When disconnecting vacuum hoses, use tags to identify where they should be reconnected.
3. After completing the job, make a double check whether the vacuum hoses are properly connected. A label under the hood shows the proper layout.
4. When using a vacuum gauge, never force the hose onto a connector that is too large. Use a step-down adapter for adjustment. Once the hose has been stretched, it may leak air.







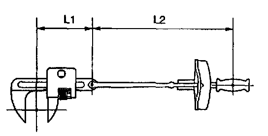
i. TORQUE WHEN USING TORQUE WRENCH WITH EXTENSION TOOL
1. When a SST or extension tool is combined with the torque wrench to extend its entire length, if you tighten until the reading of the torque wrench reaches the specified torque value, the actual torque becomes excessive.
2. In case of using SST or extension tool, calculate the reading of the torque wrench by the following formula.




3. Formula T'=T x L2/(L1 + L2)