LEMON Manuals: Even more car manuals for everyone: 1960-2025
Home >> Lexus >> 2005 >> ES 330 >> Repair and Diagnosis >> Brakes >> Traction Control >> Abs With EBD System - Diagnostics >> Pre-Check
April 5, 2026: LEMON Manuals is launched! Read the announcement.

Abs With EBD System - Diagnostics: Pre-Check

  1. DIAGNOSIS SYSTEM 
    1. Release the parking brake pedal.
    2. Check the warning light.

      When the ignition switch is turned ON, check that the ABS warning light and BRAKE warning light turns on for 3 sec.

      HINT:

      Fig 1: Locating ABS Brake Warning Light
      G02937935Courtesy of © TOYOTA, LICENSE AGREEMENT TMS1002
    3. In case of not using hand-held tester:

      Check the DTC.

      1. Using SST, connect terminals Tc and CG of DLC3. SST 09843-18040
      2. Turn the ignition switch ON.
      3. Read the DTC from the ABS warning light on the combination meter.

        HINT:

      4. Codes are explained in the code table on DIAGNOSTIC TROUBLE CODE CHART  .

        If 2 or more malfunctions are indicated at the same time the lowest numbered DTC will be displayed 1st.

      5. After completing the check, remove the SST from the DLC3.

      SST 09843-18040

    4. In case of using hand-held tester:

      Check the DTC.

      1. Read the DTC by following the prompts on the tester screen.

      HINT:

      Please refer to the hand-held tester operator's manual for further details.

    5. In case of not using hand-held tester:

      Clear DTC.

      1. Using SST, connect the terminals Tc and CG of the DLC3.

        SST 09843-18040

      2. Turn the ignition switch ON.
        Fig 3: Identifying Normal Code Blinking Pattern
        G02937937Courtesy of © TOYOTA, LICENSE AGREEMENT TMS1002
      3. Clear DTC stored in ECU by depressing the brake pedal 8 or more times within 5 sec.
      4. Check that the ABS warning light shows the normal code.
      5. Remove the SST from the DLC3.

      SST 09843-18040

      HINT:

      Disconnecting the battery cable during repairs will not erase the DTC in the ECU.

    6. In case of using hand-held tester:

      Clear the DTC.

      1. Turn the ignition switch ON.
      2. Operate the hand-held tester to erase the codes.

    HINT:

    Please refer to the hand-held tester operator's manual for further details.

    Fig 4: Identifying DTC Clearing Procedures
    G02937938Courtesy of © TOYOTA, LICENSE AGREEMENT TMS1002
  2. DATA LIST 

    HINT:

    According to the DATA LIST displayed by the hand-held tester, you can read the value of the switch, sensor, actuator and so on without parts removal. Reading the DATA LIST as a first step of troubleshooting is one of the method to shorten the labor time.

    1. Connect the hand-held tester to the DLC3.
    2. Turn the ignition switch ON.
    3. According to the display on tester, read the "DATA LIST".
    Fig 5: Data List Chart (1 Of 2)
    G02937939Courtesy of © TOYOTA, LICENSE AGREEMENT TMS1002
    Fig 6: Data List Chart (2 Of 2)
    G02937940Courtesy of © TOYOTA, LICENSE AGREEMENT TMS1002
  3. ACTIVE TEST 

    HINT:

    Performing the ACTIVE TEST using the hand-held tester allows the relay, VSV, actuator and so on to operate without parts removal. Performing the ACTIVE TEST as a first step of troubleshooting is one of the method to shorten the labor time.

    It is possible to display the DATA LIST during the ACTIVE TEST.

    1. Connect the hand-held tester to the DLC3.
    2. Turn the ignition switch ON.
    3. According to the display on tester, perform the "ACTIVE TEST".
    ACTIVE TEST

    Item Vehicle Condition / Test Details Diagnostic Note
    SFRR Turns ABS solenoid (SFRR) ON / OFF Operation of solenoid (clicking sound) can be heard
    SFRH Turns ABS solenoid (SFRH) ON / OFF Operation of solenoid (clicking sound) can be heard
    SFLR Turns ABS solenoid (SFLR) ON / OFF Operation of solenoid (clicking sound) can be heard
    SFLH Turns ABS solenoid (SFLH) ON / OFF Operation of solenoid (clicking sound) can be heard
    SRRR Turns ABS solenoid (SRRR) ON / OFF Operation of solenoid (clicking sound) can be heard
    SRRH Turns ABS solenoid (SRRH) ON / OFF Operation of solenoid (clicking sound) can be heard
    SRLR Turns ABS solenoid (SRLR) ON / OFF Operation of solenoid (clicking sound) can be heard
    SRLH Turns ABS solenoid (SRLH) ON / OFF Operation of solenoid (clicking sound) can be heard
    ACTIVE TEST

    Item Vehicle Condition / Test Details Diagnostic Note
    SFRR & SFRH Turns ABS solenoid SFRR & SFRH ON / OFF Operation of solenoid (clicking sound) can be heard
    SFLR & SFLH Turns ABS solenoid SFLR & SFLH ON / OFF Operation of solenoid (clicking sound) can be heard
    SRH & SRR Turns ABS solenoid SRH & SRR ON / OFF Operation of solenoid (clicking sound) can be heard
    SRLR & SRLH Turns ABS solenoid SRLR & SRLH ON / OFF Operation of solenoid (clicking sound) can be heard
    SFRH & SFLH Turns ABS solenoid SFRH & SFLH ON / OFF Operation of solenoid (clicking sound) can be heard
    SOL RELAY Turns ABS solenoid relay ON / OFF Operation of solenoid (clicking sound) can be heard
    ABS MOT RELAY Turns ABS motor relay ON / OFF Operation of motor can be heard
    ABS WARN LIGHT Turns ABS warning light ON / OFF Observe combination meter
    BRAKE WRN LIGHT Turns BRAKE warning light ON / OFF Observe combination meter
  4. FREEZE FRAME DATA 
    1. The vehicle (sensor) status at the occurrence of abnormality of the diagnosis code and during the ABS operation can be memorized and displayed using the hand-held tester.
    2. Only one record of freeze frame data is stored, however, freeze frame data during the ABS operating is always updated. After the storage of freeze frame data, up to 31 ignition "ON" operations are stored and displayed.

      HINT:

      If the ignition switch "ON" operation exceeds 31 times, "31" appears on the display.

    3. If the diagnosis code abnormality occurs, the freeze frame data at the occurrence of the abnormality is stored but the ABS actuation data is deleted.
    Fig 7: Freeze Frame Data Chart
    G02937941Courtesy of © TOYOTA, LICENSE AGREEMENT TMS1002

    *: If no conditions are specifically stated for "Idling", it means the shift lever is at N or P position, the A/C switch is OFF and all accessory switches are OFF.

  5. SPEED SENSOR SIGNAL CHECK 

HINT:

  1. In case of not using hand-held tester:

    Check the speed sensor signal.

    1. Turn the ignition switch ON.
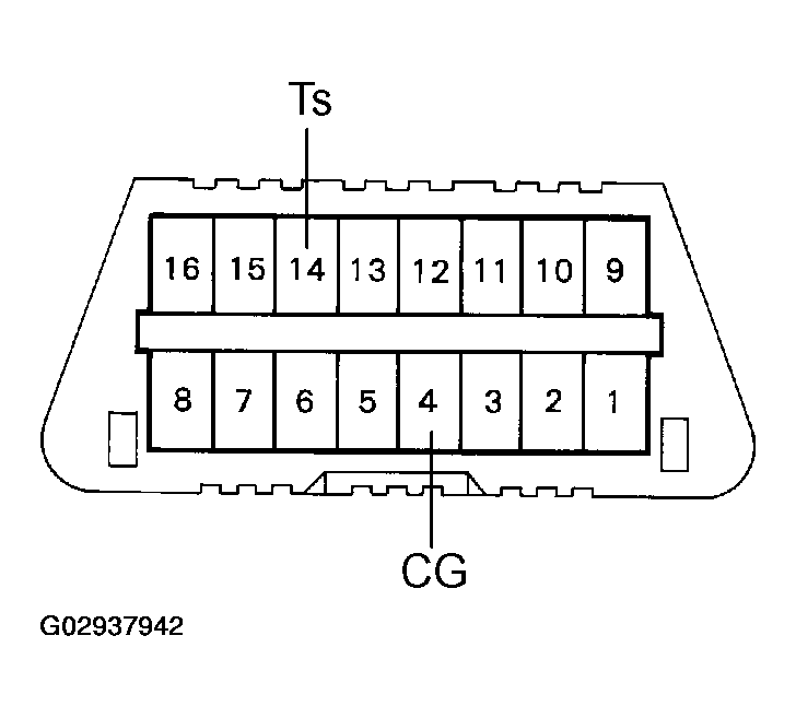
    2. Using SST, connect the terminals Ts and CG of DLC3.

      SST 09843-18040

    3. Start the engine.
      Fig 8: Identifying DLC3 Connector TS & CG Terminals
      G02937942Courtesy of © TOYOTA, LICENSE AGREEMENT TMS1002
    4. Check that the ABS warning light blinks.

      HINT:

      If the ABS warning light does not blink, inspect the ABS warning light circuit and Ts circuit (See ABS WARNING LIGHT CIRCUIT (REMAINS ON)  , ABS WARNING LIGHT CIRCUIT (DOES NOT LIGHT UP)  and TS TERMINAL CIRCUIT  ).

    5. Drive the vehicle straight forward.

      HINT:

      Drive the vehicle faster than 45 km/h (28 mph) for several sec.

    6. Stop the vehicle.
    7. Using SST, connect the terminals Tc and CG of the DLC3.

      SST 09843-18040

      Fig 9: Identifying ABS Warning Light Blinking Pattern
      G02937943Courtesy of © TOYOTA, LICENSE AGREEMENT TMS1002
    8. Read the number of blinks of the ABS warning light.

      HINT:

      • See the list of DTC shown on the 05-427.
      • If every sensor is normal, a normal code is output (A cycle of 0.25 sec. ON and 0.25 sec. OFF is repeated).
      • If 2 or more malfunctions are indicated at the same time, the lowest numbered code will be displayed.
      Fig 10: Identifying Malfunction Code Blinking Pattern (72, 76)
      G02937944Courtesy of © TOYOTA, LICENSE AGREEMENT TMS1002
    9. After doing the check, turn the ignition switch OFF, and remove the SST from the DLC3.

    SST 09843-18040

  2. In case of using hand-held tester:

    Check the sensor signal.

    1. Do step ( 34 5 to ( 6) on the previous page.
    2. Read the DTC by following the prompts on the tester screen.

HINT:

Please refer to the hand-held tester operator's manual for further details.