LEMON Manuals: Even more car manuals for everyone: 1960-2025
Home >> Lexus >> 2005 >> ES 330 >> Repair and Diagnosis >> External Pages >> Different car >> Section 126 (Navigation System - Diagnostics) >> Navigation System >> AVC-LAN Diagram
April 5, 2026: LEMON Manuals is launched! Read the announcement.

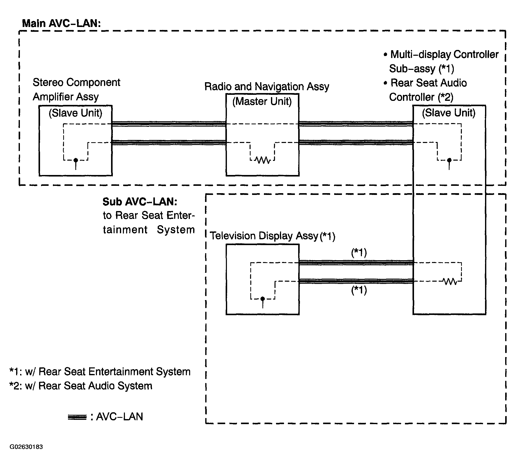
AVC-LAN Diagram

WARNING: This page is about a different car, the 2005 Toyota Sienna. However, it is still accessible from the selected car via links, so may be relevant.
Fig 1: AVC-LAN Diagram
G02630183Courtesy of © TOYOTA, LICENSE AGREEMENT TMS1002

HINT:

Titles for each unit are stated in the following order: part name (physical address) [Name indicated by DTC]

  1. RADIO AND NAVIGATION ASSY (physical address: 140) [AVN] 
    1. Logical address: 01 (Communication control)

      HINT:

      Methods used to verify the cause of the problem are listed in order of probability in the verification column.

      RADIO AND NAVIGATION ASSY (physical address: 140) [AVN] LOGICAL ADDRESS: 01 (COMMUNICATION CONTROL)

      DTC Name Diagnosis Verification Reference
      D5 *1 *5 Absence of registration unit The device indicated by the sub code is (was) disconnected from the system when turning the ignition switch to the ACC or ON position.
      The communication condition with the device indicated by the code cannot be obtained when the engine starts.
      Inspection for the device indicated by the sub code.
      (Refer to the inspection list for the device indicated by the sub code.)
      Refer to step ( b)
      D8 *2 *5 No response to connection check The device indicated by the sub code is (was) disconnected from the system after engine start. Inspection for the device indicated by the sub code.
      (Refer to the inspection list for the device indicated by the sub code.)
      Refer to step ( b)
      D9 *1 *5 Last mode error The device (for audio visual system) that had functioned before the engine stopped is (was) disconnected from the system when the ignition switch is (was) in the ACC or ON position. Inspection for the device indicated by the sub code.
      (Refer to the inspection list for the device indicated by the sub code.)
      Refer to step ( b)
      DA *5 No response to ON/OFF command No response is identified when changing mode (audio and visual mode change). Sound and image do not change by switch operation. Inspection for the device indicated by the sub code.
      (Refer to the inspection list for the device indicated by the sub code.)
      Refer to step ( b)
      DB *1 *5 Mode status error A dual alarm is detected. Inspection for the device indicated by the sub code.
      (Refer to the inspection list for the device indicated by the sub code.
      Refer to step ( b)
      DC *3 *5 Failure in transmission A transmission failure to the device indicated by the sub code is detected.
      NOTE: This DTC may have no direct relationship with the malfunction.
      Inspection for the device indicated by the sub code.
      (Refer to the inspection list for the device indicated by the sub code.)
      Refer to step ( b)
      DE *4 *5 Slave reset A slave device has been disconnected after engine start. Inspection for the device indicated by the sub code.
      (Refer to the inspection list for the device indicated by the sub code.)
      Refer to step ( b)
      21 ROM error A malfunction exists in ROM. Replace radio and navigation assy RADIO RECEIVER ASSY
      22 RAM error A malfunction exists in RAM. Replace radio and navigation assy RADIO RECEIVER ASSY

      HINT:

      • *1: This code may be stored depending on the battery condition or engine start voltage even if no failure is detected.
      • *2: If the power connector is disconnected after the engine starts, this code is stored after 180 seconds.
      • *3: This code may be stored if the ignition key is turned to the START position again with the engine running.
      • *4: This code may be stored if the ignition key is held in the START position for 1 minute or more before returning to the ON position.
      • *5: If the device is reported as not existing during verification, check the power source circuit and AVC-LAN circuit for the device.
    2. The inspection list for the device indicated by the sub code

      HINT:

      Methods used to verify the cause of the problem are listed in order of probability in the verification column.

      Fig 2: Problem Cause Verification Table
      G02630184Courtesy of © TOYOTA, LICENSE AGREEMENT TMS1002
    3. Logical address: 21 (SW): 23 (SW with name): 24 (SW converting): 25 (command SW)

      HINT:

      Methods used to verify the cause of the problem are listed in order of probability in the verification column.

      LOGICAL ADDRESS: 21 (SW): 23 (SW WITH NAME): 24 (SW CONVERTING): 25 (COMMAND SW) DIAGNOSIS

      DTC Name Diagnosis Verification Reference
      10 Panel switch error The panel SW detection circuit has a failure. Replace radio and navigation assy RADIO RECEIVER ASSY
    4. Logical address: 58 (Navigation): 80 (GPS)

      HINT:

      Methods used to verify the cause of the problem are listed in order of probability in the verification column.

      Fig 3: Radio And Navigation Assy (Physical Address 140) [AVN] Logical Address 58 (Navigation) 80 (GPS) DTC Table)
      G02630185Courtesy of © TOYOTA, LICENSE AGREEMENT TMS1002
  2. STEREO COMPONENT AMPLIFIER ASSY (Physical address: 440) [DSP AMP] 
    1. Logical address: 01 (Communication control)

    HINT:

    Methods used to verify the cause of the problem are listed in order of probability in the verification column.

    Fig 4: Stereo Component Amplifier Assy (Physical Address 440) [DSP AMP] Logical Address 01 (Communication Control) DTC Table
    G02630186Courtesy of © TOYOTA, LICENSE AGREEMENT TMS1002
  3. STEREO COMPONENT CONTROLLER ASSY (Physical address: 1F4) [RSA] 
    1. Logical address: 01 (Communication control)

    HINT:

    Methods used to verify the cause of the problem are listed in order of probability in the verification column.

    Fig 5: Stereo Component Controller Assy (Physical Address: 1F4) [RSA] Logical Address: 01 (Communication Control) DTC Table (1 Of 2)
    G02630187Courtesy of © TOYOTA, LICENSE AGREEMENT TMS1002
    Fig 6: Stereo Component Controller Assy (Physical Address 1F4) [RSA] Logical Address 01 (Communication Control) DTC Table (2 Of 2)
    G02630188Courtesy of © TOYOTA, LICENSE AGREEMENT TMS1002
  4. MULTI-DISPLAY CONTROLLER SUB-ASSY (Physical address: 1F6) [RSE ECU] 
    1. Logical address: 01 (Communication control)

    HINT:

    Methods used to verify the cause of the problem are listed in order of probability in the verification column.

    Fig 7: Multi-Display Controller Sub-Assy (Physical Address: 1F6) [RSE ECU] Logical Address: 01 (Communication Control) DTC Table
    G02630189Courtesy of © TOYOTA, LICENSE AGREEMENT TMS1002