LEMON Manuals: Even more car manuals for everyone: 1960-2025
Home >> Lexus >> 2005 >> ES 330 >> Repair and Diagnosis >> External Pages >> Different car >> Section 155 (Starting System & Charging System) >> Starting System >> Inspection
April 5, 2026: LEMON Manuals is launched! Read the announcement.

Starting System: Inspection

WARNING: This page is about a different car, the 2005 Toyota Sienna. However, it is still accessible from the selected car via links, so may be relevant.
  1. INSPECT STARTER ASSY 
    NOTE: These tests must be performed within 3 to 5 seconds to avoid burning out the coil.
    1. Do pull-in test
      1. Disconnect the field coil lead from terminal C.
      2. Connect the battery to the magnetic switch as shown in Fig 1 . Check that the clutch pinion gear is extended.

      If the clutch pinion gear does not move, replace the magnetic switch.

      Fig 1: Connecting Battery To Magnetic Switch
      G02608832Courtesy of © TOYOTA, LICENSE AGREEMENT TMS1002
    2. Do hold-in test
      1. Disconnect the negative (-) lead from the terminal C with the above condition ( a) is being maintained.

        Check that the pinion gear remains extended.

      If the clutch pinion gear returns inward, replace the magnetic switch.

      Fig 2: Disconnecting Negative (-) Lead From Terminal C
      G02608833Courtesy of © TOYOTA, LICENSE AGREEMENT TMS1002
    3. Inspect clutch pinion gear return
      1. Disconnect the negative (-) lead from the switch body. Check that the clutch pinion gear returns.

      If the clutch pinion gear does not return, replace the magnetic switch.

      Fig 3: Disconnecting Negative (-) Lead From Switch Body
      G02608834Courtesy of © TOYOTA, LICENSE AGREEMENT TMS1002
    4. Do no-load performance test
      1. Connect the field coil lead wire to terminal C. Make sure that the lead is not grounded.
      2. Clamp the starter in a vise.
      3. Connect the battery and an ammeter to the starter as shown.
      4. Check that the starter rotates smoothly and steadily with the clutch pinion gear extended. Check that the ammeter reads the specified current.

      Specified current: 90 A or less at 11.5 V 

    Fig 4: Connecting Battery & Ammeter To Starter
    G02608835Courtesy of © TOYOTA, LICENSE AGREEMENT TMS1002
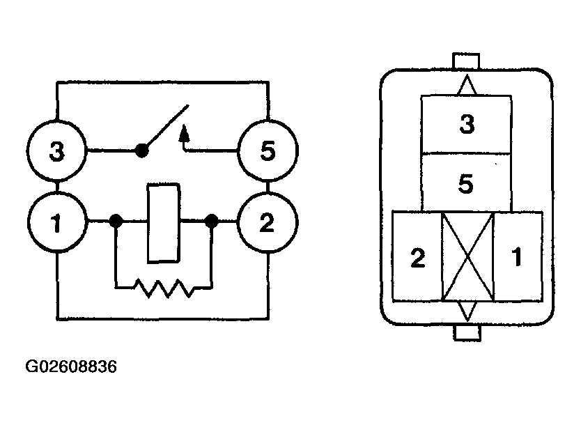
  2. INSPECT STARTER RELAY ASSY 
    1. Continuity inspection.
      1. Using an ohmmeter, check for continuity between each terminal.

      Specified condition: 

    TERMINAL SPECIFIED CONDITION

    Terminal No. Specified condition
    1 - 2 Continuity
    3 - 5 No continuity
    Continuity (Applying battery voltage terminals 1 and 2)
    Fig 5: Starter Relay Circuit
    G02608836Courtesy of © TOYOTA, LICENSE AGREEMENT TMS1002