LEMON Manuals: Even more car manuals for everyone: 1960-2025
Home >> Lexus >> 2005 >> GS 300 >> Repair and Diagnosis >> Accessories & Equipment >> Headlights >> Headlight Beam Level Control System >> Headlight Beam Level Control System >> Inspection >> Notes
April 5, 2026: LEMON Manuals is launched! Read the announcement.

Headlight Beam Level Control System: Inspection: Notes

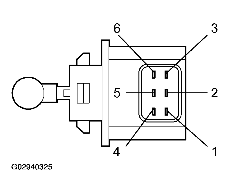
  1. INSPECT HEADLIGHT BEAM LEVEL CONTROL ACTUATOR RESISTANCE 
    1. Check that continuity exists between terminals 2 and 5.
    2. Check that resistance exists between terminals, as shown in HEADLIGHT BEAM LEVEL CONTROL ACTUATOR TERMINALS AND RESISTANCE CHART .
      HEADLIGHT BEAM LEVEL CONTROL ACTUATOR TERMINALS AND RESISTANCE CHART

      Terminal Resistance (Ω)
      2 - 1 26 - 30
      2 - 3 26 - 30
      2 - 6 26 - 30
      5 - 1 26 - 30
      5 - 3 26 - 30
      5 - 4 26 - 30
      5 - 6 26 - 30

      If resistance value is not as specified, replace the actuator.

      Fig 1: Identifying Headlight Beam Level Control Actuator Connector Terminals
      G02940325Courtesy of © TOYOTA, LICENSE AGREEMENT TMS1002
  2. INSPECT FRONT HEIGHT CONTROL SENSOR 
    1. Connect 3 dry batteries of 1.5 V in series.
    2. Connect terminal 1 to the batteries' positive (+) terminal, and terminal 4 to the batteries' negative (-) terminal, then apply voltage about 4.5 V between terminals 1 and 4.
      Fig 2: Inspecting Front Height Control Sensor
      G02940326Courtesy of © TOYOTA, LICENSE AGREEMENT TMS1002
    3. Measure the voltage between terminals 2 and 4, when the height control sensor link is slowly moved up and down.
      FRONT HEIGHT CONTROL SENSOR

      Sensor Link Position Voltage
      Max. HI Approx. 4.05 V
      N Approx. 2.25 V
      Min. LO Approx. 0.45 V

      If voltage is not as specified, replace the height control sensor.

  3. INSPECT REAR HEIGHT CONTROL SENSOR 
    1. Connect 3 dry batteries of 1.5 V in series.
    2. Connect terminal 3 to the batteries' positive (+) terminal, and terminal 1 to the batteries' negative (-) terminal, then apply voltage about 4.5 V between terminals 1 and 3.
      Fig 3: Inspecting Rear Height Control Sensor
      G02940327Courtesy of © TOYOTA, LICENSE AGREEMENT TMS1002
    3. Measure the voltage between terminals 1 and 2, when the height control sensor link is slowly moved up and down.
      REAR HEIGHT CONTROL SENSOR

      Sensor Link Position Voltage
      Max. HI Approx. 4.05 V
      N Approx. 2.25 V
      Min. LO Approx. 0.45 V

      If voltage is not as specified, replace the height control sensor.

  4. Connector disconnected: INSPECT HEADLIGHT BEAM LEVEL CONTROL ECU CIRCUIT 

    Disconnect the connector from the ECU and inspect the connector on the wire harness side, as shown in Fig 4.

    Fig 4: Identifying Head Light Beam Level Control Connector Terminals
    G02940328Courtesy of © TOYOTA, LICENSE AGREEMENT TMS1002
    HEADLIGHT BEAM LEVEL CONTROL ECU CIRCUIT

    Tester connection Condition Specified condition
    A1 - A5 Ignition switch OFF 26 - 30 Ω
    A1 - A6 Ignition switch OFF 26 - 30 Ω
    A1 - A7 Ignition switch OFF 26 - 30 Ω
    A1 - A8 Ignition switch OFF 26 - 30 Ω
    A4 - B4 Ignition switch ON and light control switch HEAD Below 1.5 V
    B1 - B3 Ignition switch OFF 3.5 - 6.5 kΩ
    B5 - B7 Ignition switch OFF 3.5 - 6.5 kΩ
    A4 - Ground Ignition switch OFF Continuity

    If circuit is not as specified, perform the inspection shown in Reference INSPECTION USING OSCILLOSCOPE  .

  5. Connector connected: INSPECT HEADLIGHT BEAM LEVEL CONTROL ECU CIRCUIT 

    Connect the connector from the ECU and inspect the connector, as shown in HEADLIGHT BEAM LEVEL CONTROL ECU CIRCUIT .

    Fig 5: Identifying Headlight Beam Level Control Connector Terminals
    G02940329Courtesy of © TOYOTA, LICENSE AGREEMENT TMS1002
    HEADLIGHT BEAM LEVEL CONTROL ECU CIRCUIT

    Tester connection Condition Specified condition
    A1 - A4 Ignition switch ON Battery positive voltage
    A1 - A5 Ignition switch ON, when stopping and bouncing the vehicle. Pulse generation
    A1 - A6 Ignition switch ON, when stopping and bouncing the vehicle. Pulse generation
    A1 - A7 Ignition switch ON, when stopping and bouncing the vehicle. Pulse generation
    A1 - A8 Ignition switch ON, when stopping and bouncing the vehicle. Pulse generation
    B2 - B3 Ignition switch ON Approx. 2.5 V
    B6 - B7 Ignition switch ON Approx. 2.5 V
    B1 - B3 Ignition switch ON 5V
    B5 - B7 Ignition switch ON 5V

    If the circuit is not as specified, replace the ECU.