LEMON Manuals: Even more car manuals for everyone: 1960-2025
Home >> Lexus >> 2005 >> GS 430 >> Repair and Diagnosis >> Body & Frame >> Door Locks >> Power Door Lock Control System >> Inspection
April 5, 2026: LEMON Manuals is launched! Read the announcement.

Power Door Lock Control System: Inspection

  1. Master switch: INSPECT DRIVER'S DOOR LOCK CONTROL SWITCH CONTINUITY 
    DRIVER'S DOOR LOCK CONTROL SWITCH CONTINUITY CHECK

    Switch position Tester connection Specified condition
    LOCK 5 - 16 Continuity
    OFF - No continuity
    UNLOCK 16 - 17 Continuity
    Fig 1: Inspecting Driver's Door Lock Control Switch Continuity (Master Switch)
    G02940504Courtesy of © TOYOTA, LICENSE AGREEMENT TMS1002

    If continuity is not as specified, replace the switch.

  2. Master switch: INSPECT DRIVER'S DOOR LOCK CONTROL SWITCH CIRCUIT 

    (See  POWER WINDOW MASTER SWITCH CIRCUIT  ) 

  3. INSPECT PASSENGER'S DOOR LOCK CONTROL SWITCH CONTINUITY 
    PASSENGER'S DOOR LOCK CONTROL SWITCH CONTINUITY CHECK

    Switch position Tester connection Specified condition
    LOCK 2 - 3 Continuity
    OFF - No continuity
    UNLOCK 1 - 2 Continuity
    Fig 2: Inspecting Passenger's Door Lock Control Switch Continuity
    G02940505Courtesy of © TOYOTA, LICENSE AGREEMENT TMS1002

    If continuity is not as specified, replace the switch.

  4. INSPECT PASSENGER'S DOOR LOCK CONTROL SWITCH CIRCUIT 

    (See  DOOR LOCK CONTROL SWITCH CIRCUIT  ) 

  5. INSPECT PASSENGER'S DOOR LOCK CONTROL SWITCH ILLUMINATION 

    Connect the positive (+) lead from the battery to terminal 4 and the negative (-) lead to terminal 2, and check that the indicator light lights up.

    If operation is not as specified, replace the switch.

    Fig 3: Inspecting Passenger's Door Lock Control Switch Illumination
    G02940506Courtesy of © TOYOTA, LICENSE AGREEMENT TMS1002
  6. Front left side door: INSPECT DOOR KEY LOCK AND UNLOCK SWITCH CONTINUITY 
    DOOR KEY LOCK AND UNLOCK SWITCH CONTINUITY CHECK

    Switch position Tester connection Specified condition
    LOCK 3 - 5 Continuity
    OFF - No continuity
    UNLOCK 3 - 6 Continuity
    Fig 4: Inspecting Door Key Lock And Unlock Switch (Front Left Side Door)
    G02940507Courtesy of © TOYOTA, LICENSE AGREEMENT TMS1002

    If continuity is not as specified, replace the switch.

  7. Front left side door: INSPECT DOOR KEY LOCK AND UNLOCK SWITCH CIRCUIT 

    (See  DOOR KEY LOCK AND UNLOCK SWITCH CIRCUIT  ) 

  8. Front right side door: INSPECT DOOR KEY LOCK AND UNLOCK SWITCH CONTINUITY 
    DOOR KEY LOCK AND UNLOCK SWITCH CONTINUITY CHECK

    Switch position Tester connection Specified condition
    LOCK 2 - 4 Continuity
    OFF - No continuity
    UNLOCK 1 - 4 Continuity
    Fig 5: Inspecting Door Key Lock And Unlock Switch (Front Right Side)
    G02940508Courtesy of © TOYOTA, LICENSE AGREEMENT TMS1002

    If continuity is not as specified, replace the switch.

  9. Front right side door: INSPECT DOOR KEY LOCK AND UNLOCK SWITCH CIRCUIT 

    (See  DOOR KEY LOCK AND UNLOCK SWITCH CIRCUIT  ) 

  10. Front door: INSPECT DOOR UNLOCK DETECTION SWITCH CONTINUITY 
    DOOR UNLOCK DETECTION SWITCH CONTINUITY CHECK

    Switch position Tester connection Specified condition
    OFF (Door Lock set to LOCK) - No continuity
    ON (Door Lock set to UNLOCK) 3 - 4 Continuity
    Fig 6: Inspecting Door Unlock Detection Switch (Front Door)
    G02940509Courtesy of © TOYOTA, LICENSE AGREEMENT TMS1002

    If continuity is not as specified, replace the switch.

  11. Front door: INSPECT DOOR UNLOCK DETECTION SWITCH CIRCUIT 

    Driver side: (See  CIRCUIT DESCRIPTION  ) 

    Passenger side (See  CIRCUIT DESCRIPTION  ) 

  12. Rear door: INSPECT DOOR UNLOCK DETECTION SWITCH CONTINUITY 
    DOOR UNLOCK DETECTION SWITCH CONTINUITY CHECK

    Switch position Tester connection Specified condition
    OFF (Door Lock set to LOCK) - No continuity
    ON (Door Lock set to UNLOCK) 3 - 4 (Left side) Continuity
    ON (Door Lock set to LOCK) 1 - 2 (right side) Continuity
    Fig 7: Inspecting Door Unlock Detection Switch (Rear Door)
    G02940510Courtesy of © TOYOTA, LICENSE AGREEMENT TMS1002

    If continuity is not as specified, replace the switch.

  13. Rear door: INSPECT DOOR UNLOCK DETECTION SWITCH CIRCUIT 

    Rear LH side (See  DOOR UNLOCK DETECTION SWITCH  ) 

    Rear RH side (See  DOOR UNLOCK DETECTION SWITCH  ) 

  14. Front left side door: INSPECT DOOR LOCK MOTOR OPERATION 
    1. Connect the positive (+) lead from the battery to terminal 1 and the negative (-) lead to terminal 2, and check that the door lock link moves to UNLOCK position.
    2. Reverse the polarity and check that the door lock link moves to LOCK position.

    If operation is not as specified, replace the door lock assembly.

    Fig 8: Inspecting Door Lock Motor Operation (Front Left Side Door)
    G02940511Courtesy of © TOYOTA, LICENSE AGREEMENT TMS1002
  15. Front left side door: INSPECT DOOR LOCK MOTOR CIRCUIT 

    (See  DOOR LOCK MOTOR CIRCUIT  ) 

  16. Front right side door: INSPECT DOOR LOCK MOTOR OPERATION 
    1. Connect the positive (+) lead from the battery to terminal 5 and the negative (-) lead to terminal 6, and check that the door lock link moves to UNLOCK position.
    2. Reverse the polarity and check that the door lock link moves to LOCK position.

    If operation is not as specified, replace the door lock assembly.

    Fig 9: Inspecting Door Lock Motor Operation (Front Right Side Door)
    G02940512Courtesy of © TOYOTA, LICENSE AGREEMENT TMS1002
  17. Front right side door: INSPECT DOOR LOCK MOTOR CIRCUIT 

    (See  DOOR LOCK MOTOR CIRCUIT  ) 

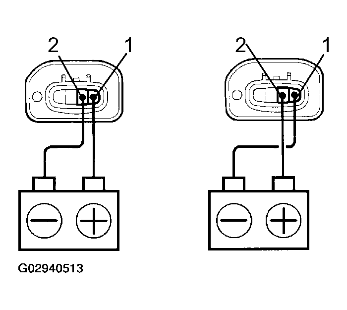
  18. Rear left side door: INSPECT DOOR LOCK MOTOR OPERATION 
    1. Connect the positive (+) lead from the battery to terminal 1 and the negative (-) lead to terminal 2, and check that the door lock link moves to UNLOCK position.
    2. Reverse the polarity and check that the door lock link moves to LOCK position.

    If operation is not as specified, replace the door lock assembly.

    Fig 10: Inspecting Door Lock Motor Operation (Rear Left Side Door)
    G02940513Courtesy of © TOYOTA, LICENSE AGREEMENT TMS1002
  19. Rear left side door: INSPECT DOOR LOCK MOTOR CIRCUIT 

    (See  DOOR LOCK MOTOR CIRCUIT  ) 

    Fig 11: Inspecting Door Lock Motor Operation (Rear Right Side Door)
    G02940514Courtesy of © TOYOTA, LICENSE AGREEMENT TMS1002
  20. Rear right side door: INSPECT DOOR LOCK MOTOR OPERATION 
    1. Connect the positive (+) lead from the battery to terminal 3 and the negative (-) lead to terminal 4, and check that the door lock link moves to UNLOCK position.
    2. Reverse the polarity and check that the door lock link moves to LOCK position.

    If operation is not as specified, replace the door lock assembly.

  21. Rear right side door: INSPECT DOOR LOCK MOTOR CIRCUIT 

    (See  DOOR LOCK MOTOR CIRCUIT  ) 

  22. Front left side door: INSPECT PTC THERMISTOR OPERATION (Using an ammeter) 
    1. Connect the negative (-) lead from the battery to terminal 2.
    2. Connect the positive (+) lead from the ammeter to terminal 1 and the negative (-) lead to battery negative (-) terminal, and check that the current changes from approximately 3.2 A to less than 0.5 A within 20 to 70 seconds.
      Fig 12: Connecting Battery To Terminals 1 And 2 (Front Left Side Door)
      G02940515Courtesy of © TOYOTA, LICENSE AGREEMENT TMS1002
    3. Disconnect the leads from terminals.
    4. Approximately 60 seconds later, connect the positive (+) lead from the battery to terminal 2 and the negative (-) lead to terminal 1, and check that the door lock moves to the LOCK position.

    If operation is not as specified, replace the door lock assembly.

    Fig 13: Connecting Battery To Terminals And Checking Door Lock Moves To Lock Position (Front Left Side Door)
    G02940516Courtesy of © TOYOTA, LICENSE AGREEMENT TMS1002
  23. Front right side door: INSPECT PTC THERMISTOR OPERATION (Using an ammeter) 
    1. Connect the negative (-) lead from the battery to terminal 6.
    2. Connect the positive (+) lead from the ammeter to terminal 5 and the negative (-) lead to battery negative (-) terminal, and check that the current changes from approximately 3.2 A to less than 0.5 A within 20 to 70 seconds.
      Fig 14: Connecting Battery To Terminals (Front Right Side Door)
      G02940517Courtesy of © TOYOTA, LICENSE AGREEMENT TMS1002
    3. Disconnect the leads from terminals.
    4. Approximately 60 seconds later, connect the positive (+) lead from the battery to terminal 6 and the negative (-) lead to terminal 5, and check that the door lock moves to the LOCK position.

    If operation is not as specified, replace the door lock assembly.

    Fig 15: Connecting Battery To Terminals And Checking Door Lock Moves To Lock Position (Front Right Side Door)
    G02940518Courtesy of © TOYOTA, LICENSE AGREEMENT TMS1002
  24. Rear left side door: INSPECT PTC THERMISTOR OPERATION (Using an ammeter) 
    1. Connect the negative (-) lead from the battery to terminal 2.
    2. Connect the positive (+) lead from the ammeter to terminal 1 and the negative (-) lead to battery negative (-) terminal, and check that the current changes from approximately 3.2 A to less than 0.5 A within 20 to 70 seconds.
      Fig 16: Connecting Battery To Terminals (Rear Left Side Door)
      G02940519Courtesy of © TOYOTA, LICENSE AGREEMENT TMS1002
    3. Disconnect the leads from terminals.
    4. Approximately 60 seconds later, connect the positive (+) lead from the battery to terminal 2 and the negative (-) lead to terminal 1, and check that the door lock moves to the LOCK position.

    If operation is not as specified, replace the door lock assembly.

    Fig 17: Connecting Battery Terminals And Checking Door Lock Moves To Lock Position (Rear Left Side Door)
    G02940520Courtesy of © TOYOTA, LICENSE AGREEMENT TMS1002
  25. Rear right side door: INSPECT PTC THERMISTOR OPERATION (Using an ammeter) 
    1. Connect the negative (-) lead from the battery to terminal 4.
    2. Connect the positive (+) lead from the ammeter to terminal 3 and the negative (-) lead to battery negative (-) terminal, and check that the current changes from approximately 3.2 A to less than 0.5 A within 20 to 70 seconds.
      Fig 18: Connecting Battery To Terminals (Rear Right Side Door)
      G02940521Courtesy of © TOYOTA, LICENSE AGREEMENT TMS1002
    3. Disconnect the leads from terminals.
    4. Approximately 60 seconds later, connect the positive (+) lead from the battery to terminal 4 and the negative (-) lead to terminal 3, and check that the door lock moves to the LOCK position.

    If operation is not as specified, replace the door lock assembly.

    Fig 19: Connecting Battery To Terminals And Checking Door Lock Moves To Lock Position (Rear Right Side Door)
    G02940522Courtesy of © TOYOTA, LICENSE AGREEMENT TMS1002
  26. Front left side door: INSPECT PTC THERMISTOR OPERATION (Using an ammeter with a current-measuring probe) 
    1. Connect the positive (+) lead from the battery to terminal 1 and the negative (-) lead to terminal 2.
      Fig 20: Connecting Battery To Terminals 1 And 2 (Front Left Side Door)
      G02940523Courtesy of © TOYOTA, LICENSE AGREEMENT TMS1002
    2. Attach a current-measuring probe to either the positive (+) lead or the negative (-) lead, and check that the current changes from approximately 3.2 A to less than 0.5 A within 20 to 70 seconds.
    3. Disconnect the leads from terminals.
    4. Approximately 60 seconds later, reverse the polarity, and check that the door lock moves to the LOCK position.

    If operation is not as specified, replace the door lock assembly.

    Fig 21: Reversing Polarity And Checking Door Lock Moves To Lock Position (Front Left Side Door)
    G02940524Courtesy of © TOYOTA, LICENSE AGREEMENT TMS1002
  27. Front right side door: INSPECT PTC THERMISTOR OPERATION (Using an ammeter with a current-measuring probe) 
    1. Connect the positive (+) lead from the battery to terminal 5 and the negative (-) lead to terminal 6.
    2. Attach a current-measuring probe to either the positive (+) lead or the negative (-) lead, and check that the current changes from approximately 3.2 A to less than 0.5 A within 20 to 70 seconds.
      Fig 22: Connecting Battery To Terminals 5 And 6 (Front Right Side Door)
      G02940525Courtesy of © TOYOTA, LICENSE AGREEMENT TMS1002
    3. Disconnect the leads from terminals.
    4. Approximately 60 seconds later, reverse the polarity, and check that the door lock moves to the LOCK position.

    If operation is not as specified, replace the door lock assembly.

    Fig 23: Reversing Polarity And Checking Door Lock Moves To Lock Position (Front Right Side Door)
    G02940526Courtesy of © TOYOTA, LICENSE AGREEMENT TMS1002
  28. Rear left side door: INSPECT PTC THERMISTOR OPERATION (Using an ammeter with a current-measuring probe) 
    1. Connect the positive (+) lead from the battery to terminal 1 and the negative (-) lead to terminal 2.
    2. Attach a current-measuring probe to either the positive (+) lead or the negative (-) lead, and check that the current changes from approximately 3.2 A to less than 0.5 A within 20 to 70 seconds.
      Fig 24: Connecting Battery To Terminals 1 And 2 (Rear Left Side Door)
      G02940527Courtesy of © TOYOTA, LICENSE AGREEMENT TMS1002
    3. Disconnect the leads from terminals.
    4. Approximately 60 seconds later, reverse the polarity, and check that the door lock moves to the LOCK position.

    If operation is not as specified, replace the door lock assembly.

    Fig 25: Reversing Polarity And Checking Door Lock Moves To Lock Position (Rear Left Side Door)
    G02940528Courtesy of © TOYOTA, LICENSE AGREEMENT TMS1002
  29. Rear right side door: INSPECT PTC THERMISTOR OPERATION (Using an ammeter with a current-measuring probe) 
    1. Connect the positive (+) lead from the battery to terminal 3 and the negative (-) lead to terminal 4.
    2. Attach a current-measuring probe to either the positive (+) lead or the negative (-) lead, and check that the current changes from approximately 3.2 A to less than 0.5 A within 20 to 70 seconds.
      Fig 26: Connecting Battery To Terminals (Rear Right Side Door)
      G02940529Courtesy of © TOYOTA, LICENSE AGREEMENT TMS1002
    3. Disconnect the leads from terminals.
    4. Approximately 60 seconds later, reverse the polarity, and check that the door lock moves to the LOCK position.

    If operation is not as specified, replace the door lock assembly.

    Fig 27: Reversing Polarity and Checking Door Lock Moves To Lock Position
    G02940530Courtesy of © TOYOTA, LICENSE AGREEMENT TMS1002
  30. INSPECT LUGGAGE COMPARTMENT DOOR OPENER MOTOR OPERATION 

    Connect positive (+) lead to the terminal 1 and negative (-) lead to the opener motor body, and check that the motor operates.

    Fig 28: Inspecting Luggage Compartment Door Opener Motor Operation
    G02940531Courtesy of © TOYOTA, LICENSE AGREEMENT TMS1002
  31. INSPECT LUGGAGE COMPARTMENT DOOR OPENER MOTOR CIRCUIT 

    (See  LUGGAGE OPENER MOTOR CIRCUIT  ) 

  32. INSPECT LUGGAGE COMPARTMENT DOOR OPENER MAIN SWITCH CONTINUITY 
    LUGGAGE COMPARTMENT DOOR OPENER MAIN SWITCH CONTINUITY CHECK

    Switch operation Tester connection Specified condition
    OFF (Push) - No continuity
    ON (Push and turn) 1 - 2 Continuity

    If continuity is not as specified, replace the switch.

  33. INSPECT LUGGAGE COMPARTMENT DOOR OPENER SWITCH CONTINUITY 
    LUGGAGE COMPARTMENT DOOR OPENER SWITCH CONTINUITY CHECK

    Switch operation Tester connection Specified condition
    OFF 2 - B Continuity
    ON (Pull) 1 - L Continuity
    ON (Pull) 2 - B Continuity
    Fig 29: Inspecting Luggage Compartment Door Opener Switch And Main Switch
    G02940532Courtesy of © TOYOTA, LICENSE AGREEMENT TMS1002

    If continuity is not as specified, replace the switch.

  34. INSPECT LUGGAGE COMPARTMENT DOOR OPENER SWITCH AND MAIN SWITCH CIRCUIT 

    (See  LUGGAGE OPENER SWITCH CIRCUIT  )