LEMON Manuals: Even more car manuals for everyone: 1960-2025
Home >> Lexus >> 2005 >> GS 430 >> Repair and Diagnosis >> Body & Frame >> Mirrors >> Power Mirror Control System >> Inspection
April 5, 2026: LEMON Manuals is launched! Read the announcement.

Power Mirror Control System: Inspection

  1. USA/CANADA models: INSPECT MIRROR SWITCH CONTINUITY 
    MIRROR SWITCH CONTINUITY CHECK (USA/CANADA MODELS)

    Switch position Tester connection Resistance ohms
    LEFT 8 - 9 100
    RIGHT 8 - 9 0
    Illumination 5 - 6 Continuity

    Measure resistance between terminals 7 and 9.

    SWITCH POSITION RESISTANCE (USA/CANADA MODELS)

    Switch position Resistance ohms
    UP Approx. 100
    RIGHT 250
    DOWN 470
    LEFT 800
    Fig 1: Inspecting Mirror Switch (USA/CANADA Models)
    G02940585Courtesy of © TOYOTA, LICENSE AGREEMENT TMS1002

    If continuity is not as specified, replace the switch.

  2. USA/CANADA models: INSPECT MIRROR SWITCH CIRCUIT 

    (See  MIRROR SWITCH CIRCUIT  ) 

  3. TAIWAN model: INSPECT MIRROR SWITCH CONTINUITY 
    MIRROR SWITCH CONTINUITY CHECK (TAIWAN MODEL)

    Switch position Tester connection Resistance ohms
    LEFT 8 - 9 100
    RIGHT 8 - 9 0
    Illumination 5 - 6 Continuity

    Measure resistance between terminals 7 and 9.

    SWITCH POSITION RESISTANCE (TAIWAN MODE)

    Switch position Resistance ohms
    UP Approx. 100
    RIGHT 250
    DOWN 470
    LEFT 800

    If continuity is not as specified, replace the switch.

  4. TAIWAN model: INSPECT RETRACT SWITCH CONTINUITY 
    RETRACT SWITCH CONTINUITY (TAIWAN MODEL)

    Switch position Tester connection Specified condition
    OFF - No continuity
    ON 1 - 2 Continuity
    Fig 2: Inspecting Mirror Switch Continuity (TAIWAN Model)
    G02940586Courtesy of © TOYOTA, LICENSE AGREEMENT TMS1002

    If continuity is not as specified, replace the switch.

  5. TAIWAN model: INSPECT MIRROR SWITCH CIRCUIT 

    (See  MIRROR SWITCH CIRCUIT  ) 

  6. w/o Driving position memory: INSPECT MIRROR MOTOR OPERATION 
    1. Connect the positive (+) lead from the battery to terminal 4 and the negative (-) lead to terminal 5, and check that the mirror turns to the left side.
      Fig 3: Checking Mirror Turns To Left Side (W/O Driving Position Memory)
      G02940587Courtesy of © TOYOTA, LICENSE AGREEMENT TMS1002
    2. Reverse the polarity, and check that the mirror turns to the right side.
      Fig 4: Checking Mirror Turns To Right Side (W/O Driving Position Memory)
      G02940588Courtesy of © TOYOTA, LICENSE AGREEMENT TMS1002
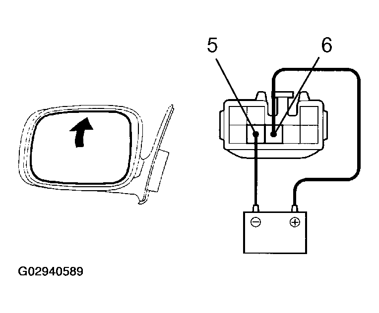
    3. Connect the positive (+) lead from the battery to terminal 6 and the negative (-) lead to terminal 5, and check that the mirror turns upward.
      Fig 5: Checking Mirror Turns Upward (W/O Driving Position Memory)
      G02940589Courtesy of © TOYOTA, LICENSE AGREEMENT TMS1002
    4. Reverse the polarity, and check that the mirror turns downward.
      Fig 6: Checking Mirror Turns Downward (W/O Driving Position Memory)
      G02940590Courtesy of © TOYOTA, LICENSE AGREEMENT TMS1002

    If operation is not as specified, replace the mirror assembly.

  7. w/o Driving position memory: INSPECT MIRROR MOTOR CIRCUIT 

    Left side: (See  MIRROR MOTOR CIRCUIT  ) 

    Right side: (See  MIRROR MOTOR CIRCUIT  ) 

  8. w/ Driving position memory: INSPECT MIRROR MOTOR OPERATION 
    1. Connect the positive (+) lead from the battery to terminal 1 and the negative (-) lead to terminal 2, and check that the mirror turns to the left side.
      Fig 7: Checking Mirror Turns To Left Side (W/Driving Position Memory)
      G02940591Courtesy of © TOYOTA, LICENSE AGREEMENT TMS1002
    2. Reverse the polarity, and check that the mirror turns to the right side.
      Fig 8: Checking Mirror Turns To Right Side (W/Driving Position Memory)
      G02940592Courtesy of © TOYOTA, LICENSE AGREEMENT TMS1002
    3. Connect the positive (+) lead from the battery to terminal 6 and the negative (-) lead to terminal 2, and check that the mirror turns upward.
      Fig 9: Checking Mirror Turns Upward (W/Driving Position Memory)
      G02940593Courtesy of © TOYOTA, LICENSE AGREEMENT TMS1002
    4. Reverse the polarity, and check that the mirror turns downward.
      Fig 10: Checking Mirror Turns Downward (W/Driving Position Memory)
      G02940594Courtesy of © TOYOTA, LICENSE AGREEMENT TMS1002

    If operation is not as specified, replace the mirror assembly.

  9. w/ Driving position memory: INSPECT MIRROR MOTOR CIRCUIT 

    Left side: (See  MIRROR MOTOR CIRCUIT  ) 

    Right side: (See  MIRROR MOTOR CIRCUIT  ) 

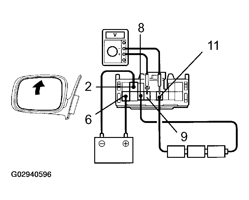
  10. w/ Driving position memory only: INSPECT MIRROR POSITION SENSORS OPERATION 

    HINT:

    Strip off the vinyl tape of the connector and remove terminals 1, 2, 6, 8, 9, 10 and 11 from the connector housing.

    1. Connect a series of three 1.5 V dry cell batteries.
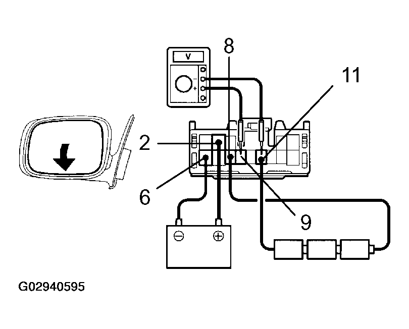
    2. Connect the positive (+) lead from the dry cell batteries to terminal 8 and the negative (-) lead to terminal 11.
    3. Connect the positive (+) lead from the voltmeter to terminal 9 and the negative (-) lead to terminal 11.
    4. Apply battery positive voltage to terminals 2 and 6, then check that the voltage gradually changes according to MIRROR POSITION SENSORS OPERATION (W/DRIVING POSITION MEMORY) (1 OF 2)  while the mirror moves between the uppermost position and lowermost position.
      MIRROR POSITION SENSORS OPERATION (W/DRIVING POSITION MEMORY) (1 OF 2)

      Mirror position Lowermost Mirror position Uppermost
      Voltage 2.8 - 5.0 Changes gradually 0 - 1.8
      Fig 11: Inspecting Driving Position Memory Mirror Motor Operation (Mirror Turning Most Down-Ward Position)
      G02940595Courtesy of © TOYOTA, LICENSE AGREEMENT TMS1002
      Fig 12: Inspecting Driving Position Memory Mirror Motor Operation (Mirror Turning Most Upper-Ward Position)
      G02940596Courtesy of © TOYOTA, LICENSE AGREEMENT TMS1002

      If voltage value is not as specified, replace the motor assembly.

    5. Disconnect the 4 leads of the battery and voltmeter.
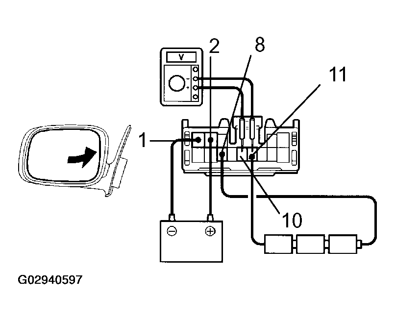
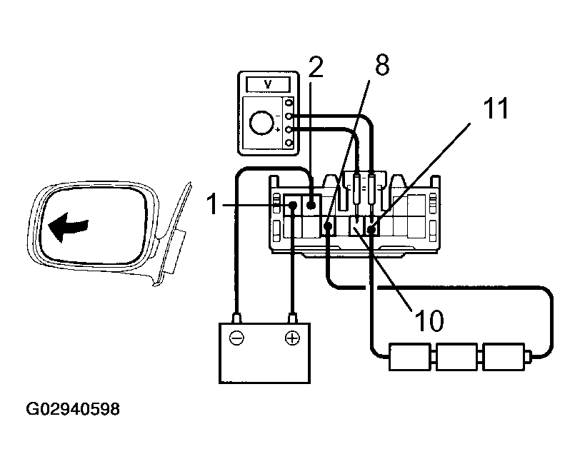
    6. Connect the positive (+) lead from the voltmeter to terminal 10 and negative (-) lead to terminal 11.
    7. Apply battery positive voltage to terminals 1 and 2, then inspect that the voltage gradually changes according to MIRROR POSITION SENSORS OPERATION (W/DRIVING POSITION MEMORY) (2 OF 2)  while the mirror moves between the left-most position and right-most position.
    MIRROR POSITION SENSORS OPERATION (W/DRIVING POSITION MEMORY) (2 OF 2)

    Mirror position Left-most Mirror position Right-most
    Voltage LEFT 2.8 - 5.0 Changes gradually 0 - 1.8
    Voltage RIGHT 0 - 1.8 Changes gradually 2.8 - 5.0
    Fig 13: Inspecting Driving Position Memory Mirror Motor Operation (Mirror Turning Most Right Position)
    G02940597Courtesy of © TOYOTA, LICENSE AGREEMENT TMS1002
    Fig 14: Inspecting Driving Position Memory Mirror Motor Operation (Mirror Turning Most Left Position)
    G02940598Courtesy of © TOYOTA, LICENSE AGREEMENT TMS1002

    If voltage value is not as specified, replace the motor assembly.

  11. w/ Driving position memory only: INSPECT MIRROR POSITION SENSORS CIRCUIT 

    Left side: (See  MIRROR POSITION SENSOR CIRCUIT (W/ MEMORY)  ) 

    Right side (See  MIRROR POSITION SENSOR CIRCUIT (W/MEMORY)  ) 

  12. INSPECT DRIVING POSITION MEMORY AND RETURN SWITCH CONTINUITY 
    DRIVING POSITION MEMORY AND RETURN SWITCH CONTINUITY

    Switch position Tester connection Specified condition
    SET switch ON 1 - 7 Continuity
    Return SW1 ON 1 - 3 Continuity
    Return SW2 ON 1 - 5 Continuity
    Fig 15: Inspecting Driving Position Memory & Returning Switch Continuity
    G02940599Courtesy of © TOYOTA, LICENSE AGREEMENT TMS1002

    If continuity is not as specified, replace the switch.

  13. INSPECT DRIVING POSITION MEMORY AND RETURN SWITCH CIRCUIT (See  MEMORY SWITCH CIRCUIT (W/ MEMORY)  ) 
  14. TAIWAN models: INSPECT ELECTRICAL RETRACT MOTOR OPERATION 
    1. When folded front position:
      1. Connect the positive (+) lead from the battery to terminal 1 and negative (-) lead to terminal 2, check that the mirror operates at retract position.
      2. Reverse the polarity, check that the mirror does not operate.

      If operation is not as specified, replace the mirror assembly.

      Fig 16: Inspecting Electrical Retract Motor Operation (Folded Front Position) (Taiwan Models)
      G02940600Courtesy of © TOYOTA, LICENSE AGREEMENT TMS1002
    2. Between folded front position and driving position:
      1. Connect the positive (+) lead from the battery to terminal 1 and negative (-) lead to terminal 2, check that the mirror operates at retract position.
      2. Reverse the polarity, check that the mirror operate at folded front position.

      If operation is not as specified, replace the mirror assembly.

    3. When driving position:
      1. Connect the positive (+) lead from the battery to terminal 1 and negative (-) lead to terminal 2, check that the mirror operates at retract position.
      2. Reverse the polarity, check that the mirror does not operate.

      If operation is not as specified, replace the mirror assembly.

    4. Between driving position and retract position:
      1. Connect the positive (+) lead from the battery to terminal 1 and negative (-) lead to terminal 2, check that the mirror operates at retract position.
      2. Reverse the polarity, check that the mirror operate at return position (Stopping at driving position).

      If operation is not as specified, replace the mirror assembly.

    5. When retract position:
      1. Connect the positive (+) lead from the battery to terminal 1 and negative (-) lead to terminal 2, check that the mirror does not operates.
      2. Reverse the polarity, check that the mirror operate at return position (Stopping at driving position).

      If operation is not as specified, replace the mirror assembly.