LEMON Manuals: Even more car manuals for everyone: 1960-2025
Home >> Lexus >> 2005 >> GS 430 >> Repair and Diagnosis >> Transmission >> Automatic Trans >> Automatic Transmission (On-Vehicle Service) >> Floor Shift Assembly >> Disassembly
April 5, 2026: LEMON Manuals is launched! Read the announcement.

Floor Shift Assembly: Disassembly

  1. REMOVE SHIFT LEVER KNOB AND SHIFT LEVER KNOB COVER 
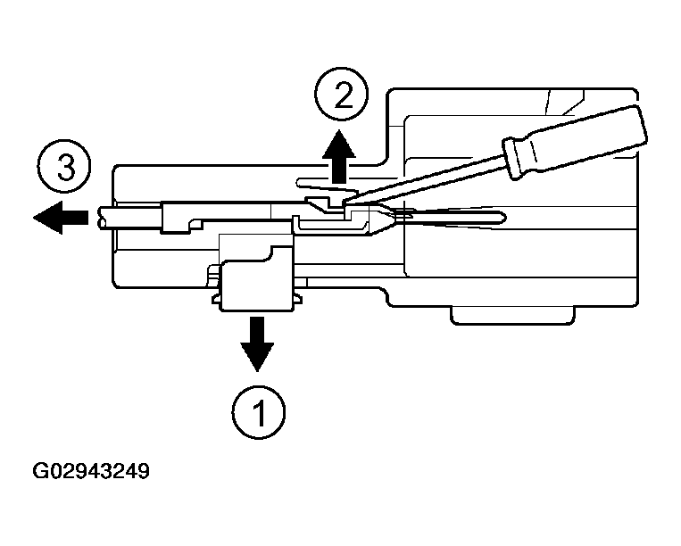
  2. REMOVE WIRE PROTECTOR 

    Using a screwdriver, remove the wire protector.

    Fig 1: Removing Wire Protector Using Screwdriver
    G02943243Courtesy of © TOYOTA, LICENSE AGREEMENT TMS1002
  3. REMOVE POSITION INDICATOR HOUSING 
    1. Using a screwdriver, remove the position indicator housing.
    2. Using a screwdriver, remove the shift lever cap from the position indicator housing.
      Fig 2: Removing Shift Lever Cap From Position Indicator Housing Using Screwdriver
      G02943244Courtesy of © TOYOTA, LICENSE AGREEMENT TMS1002
  4. REMOVE POSITION INDICATOR LENS 

    Using a screwdriver, remove the position indicator lens from the position indicator housing.

    Fig 3: Removing Position Indicator Lens Using Screwdriver
    G02943245Courtesy of © TOYOTA, LICENSE AGREEMENT TMS1002
  5. REMOVE SLIDE COVER 
  6. REMOVE SHIFT LOCK RELEASE LINK AND SPRING 
    1. Remove the 2 shift lever housing set bolts and nuts with the shift lock release link and spring.
    2. Using a screwdriver, separate the shift lock release spring from the shift lock release link.
      Fig 4: Locating Shift Lock Release Link And Spring
      G02943246Courtesy of © TOYOTA, LICENSE AGREEMENT TMS1002
  7. REMOVE SHIFT LEVER GUIDE HOUSING AND INDICATOR LAMP SUB-ASSEMBLY 
    1. Disconnect the indicator lamp wire and connector from the shift lever plate.
      Fig 5: Disconnecting Indicator Lamp Wire From Shift Lever Plate
      G02943247Courtesy of © TOYOTA, LICENSE AGREEMENT TMS1002
    2. Remove the shift lever guide housing with the indicator lamp sub-assembly from the shift lever plate.
    3. Remove the indicator lamp sub-assembly from the shift lever guide housing.
      Fig 6: Removing Shift Lever Guide Housing With Indicator Lamp Sub Assembly From Shift Lever Plate
      G02943248Courtesy of © TOYOTA, LICENSE AGREEMENT TMS1002
  8. DISASSEMBLE INDICATOR LAMP SUB-ASSEMBLY 
    1. Remove the bulb from the indicator lamp wire sub-assembly.
    2. Using a small screwdriver, remove the terminals of the indicator lamp wire sub-assembly from the connector, as shown in the illustration.
      Fig 7: Removing Terminals Of Indicator Lamp Wire Sub-Assembly From Connector Using Small Screwdriver
      G02943249Courtesy of © TOYOTA, LICENSE AGREEMENT TMS1002
  9. REMOVE SHIFT LEVER DETENT PIN, SHIFT LEVER SPRING DAMPER AND COMPRESSION SPRING FROM SHIFT LEVER SUB-ASSEMBLY 
    Fig 8: Removing Shift Lever Detent Pin, Shift Lever Spring Damper And Compression Spring From Shift Lever Sub Assembly
    G02943250Courtesy of © TOYOTA, LICENSE AGREEMENT TMS1002
  10. REMOVE SPRING HOLDER AND SHIFT LEVER TORSION SPRING 
    1. Using a screwdriver, remove the spring holder.
      Fig 9: Removing Spring Holder Using Screwdriver
      G02943251Courtesy of © TOYOTA, LICENSE AGREEMENT TMS1002
    2. Remove the shift lever torsion spring.
      Fig 10: Removing Shift Lever Torsion Spring
      G02943252Courtesy of © TOYOTA, LICENSE AGREEMENT TMS1002
  11. REMOVE 2 SHIFT LOCK CONTROL UNIT ASSEMBLY SET SCREWS 
    Fig 11: Removing 2 Shift Lock Control Unit Assembly Set Screws
    G02943253Courtesy of © TOYOTA, LICENSE AGREEMENT TMS1002
  12. REMOVE NO.1 SHIFT LOCK SWITCH PLATE 
    1. Disconnect the groove of the No.1 shift lock switch plate from the projection of the shift lock control unit.
    2. Raise the plate up to the direction shown in the illustration.
    3. Remove the plate.
      Fig 12: Removing No.1 Shift Lock Switch Plate
      G02943254Courtesy of © TOYOTA, LICENSE AGREEMENT TMS1002
    4. Remove the roller and shift lever anti-rattle cushion from the plate.
    5. Separate the shift lever anti-rattle cushion from the roller.
      Fig 13: Removing Roller And Shift Lever Anti-Rattle Cushion From Plate
      G02943255Courtesy of © TOYOTA, LICENSE AGREEMENT TMS1002
  13. REMOVE SHIFT LOCK PLATE STOPPER 
    1. Using pliers, remove the stopper.
    2. Remove the shift lever anti-rattle cushion and shift lock plate stopper cap from the shift lock release stopper.
    3. Remove the shift lock release spring from the shift lock plate stopper.
      Fig 14: Removing Shift Lock Plate Stopper Using Pliers
      G02943256Courtesy of © TOYOTA, LICENSE AGREEMENT TMS1002
  14. REMOVE SHIFT LOCK CONTROL UNIT ASSEMBLY 
    1. Remove the shift lock control unit assembly from the shift lever plate.
    2. Push the shift lock solenoid link lightly, turn and remove it.
    3. Remove the compression spring.
    4. Remove the slotted spring pin and separate the shift lock solenoid link.
      Fig 15: Removing Shift Lock Control Unit Assembly
      G02943257Courtesy of © TOYOTA, LICENSE AGREEMENT TMS1002
  15. REMOVE SHIFT LEVER SUB-ASSEMBLY 
    1. Using a pin punch and hammer, drive out the pin.
    2. Remove the shift lever sub-assembly.
      Fig 16: Driving Out Pin Using Pin Punch And Hammer
      G02943258Courtesy of © TOYOTA, LICENSE AGREEMENT TMS1002
    3. Remove the shift lever nut from the shift lever sub-assembly.
      Fig 17: Removing Shift Lever Nut From Shift Lever Sub Assembly
      G02943259Courtesy of © TOYOTA, LICENSE AGREEMENT TMS1002
  16. REMOVE CONTROL LEVER, SPACER AND CONTROL SHAFT 
    1. Remove the nut.
    2. Remove the 2 spacers and control shaft from the shift lever plate.
      Fig 18: Removing Control Lever, Spacer And Control Shaft
      G02943260Courtesy of © TOYOTA, LICENSE AGREEMENT TMS1002
    3. Disconnect the shift lever boot from shift lever plate.
    4. Remove the control lever.
      Fig 19: Disconnecting Shift Lever Boot From Shift Lever Plate
      G02943261Courtesy of © TOYOTA, LICENSE AGREEMENT TMS1002
  17. REMOVE CLIP, CONNECTING ROD SWIVEL, LOWER CONTROL SHAFT BUSHING, LOWER CONTROL SHAFT PIECE, PLATE WASHER AND SHIFT LEVER BOOT FROM CONTROL LEVER 
    1. Using pliers, remove the clip.
    2. Remove the connecting rod swivel, lower control shaft bushing, lower control shaft piece, 2 plate washers and shift lever boot from the control lever.
      Fig 20: Removing Clip Using Pliers
      G02943262Courtesy of © TOYOTA, LICENSE AGREEMENT TMS1002