LEMON Manuals: Even more car manuals for everyone: 1960-2025
Home >> Lexus >> 2005 >> GS 430 >> Repair and Diagnosis >> Transmission >> Automatic Trans >> Automatic Transmission (On-Vehicle Service) >> Shift Lock System >> Inspection
April 5, 2026: LEMON Manuals is launched! Read the announcement.

Shift Lock System: Inspection

  1. INSPECT SHIFT LOCK CONTROL ECU 

    Using a voltmeter, measure the voltage at each terminal.

    HINT:

    Do not disconnect the ECU connector.

    Fig 1: Identifying Shift Lock Control ECU Connector Terminals
    G02943235Courtesy of © TOYOTA, LICENSE AGREEMENT TMS1002
    Fig 2: Terminal And Specified Condition Chart
    G02943236Courtesy of © TOYOTA, LICENSE AGREEMENT TMS1002
  2. INSPECT KEY INTERLOCK SOLENOID 
    1. Disconnect the solenoid connector.
    2. Using an ohmmeter, measure the resistance between terminals 3 and 4.

      Standard resistance: 12 - 17 Ω 

      If the resistance value is not as specified, replace the solenoid.

      Fig 3: Measuring Resistance B/W Terminals 3 And 4 Using Ohmmeter
      G02943237Courtesy of © TOYOTA, LICENSE AGREEMENT TMS1002
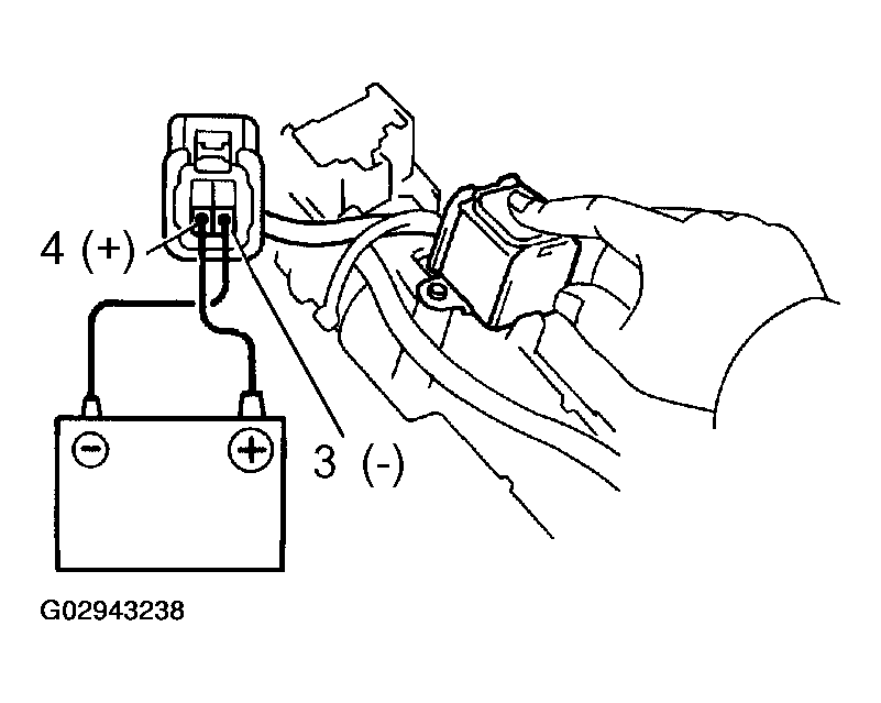
    3. Touch the solenoid with your finger and check that the solenoid operation can be felt when battery voltage is applied intermittently to terminals 3 and 4.

      If the operation is not as specified, replace the solenoid.

      Fig 4: Checking Solenoid Operation By Feel
      G02943238Courtesy of © TOYOTA, LICENSE AGREEMENT TMS1002