LEMON Manuals: Even more car manuals for everyone: 1960-2025
Home >> Lexus >> 2005 >> GX 470 >> Repair and Diagnosis >> Accessories & Equipment >> Entertainment Systems >> Audio & Visual System >> Disc Player Controller >> Replacement
April 5, 2026: LEMON Manuals is launched! Read the announcement.

Disc Player Controller: Replacement

HINT:

See LOCATION  .

  1. REMOVE CONSOLE UPPER PANEL GARNISH NO.2 (SEE  REPLACEMENT  ) 
  2. REMOVE CONSOLE UPPER PANEL GARNISH NO.1 (SEE  REPLACEMENT  ) 
  3. REMOVE CONSOLE REAR END PANEL SUB-ASSY (SEE  REPLACEMENT  ) 
  4. REMOVE RR CONSOLE BOX ASSY (SEE  REPLACEMENT  ) 
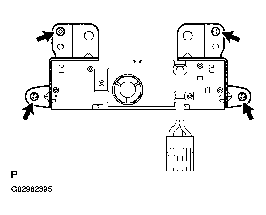
  5. REMOVE DISC PLAYER CONTROLLER W/BRACKET 
    1. Remove the 4 screws and disc player controller w/ bracket.
      Fig 1: Removing Disc Player Controller With Bracket & Screws
      G02962395Courtesy of © TOYOTA, LICENSE AGREEMENT TMS1002
  6. REMOVE DISC PLAYER BRACKET 
    1. Remove the 2 screws and disc player bracket.
      Fig 2: Removing Disc Player Bracket With Screws
      G02962396Courtesy of © TOYOTA, LICENSE AGREEMENT TMS1002
  7. REMOVE BRACKET 
    1. Remove the 2 screws and bracket.
      Fig 3: Removing Screws & Bracket
      G02962397Courtesy of © TOYOTA, LICENSE AGREEMENT TMS1002