LEMON Manuals: Even more car manuals for everyone: 1960-2025
Home >> Lexus >> 2005 >> GX 470 >> Repair and Diagnosis >> External Pages >> Different car >> Section 15 (LEXUS Night View System - Diagnostics) >> How To Proceed With Troubleshooting
April 5, 2026: LEMON Manuals is launched! Read the announcement.

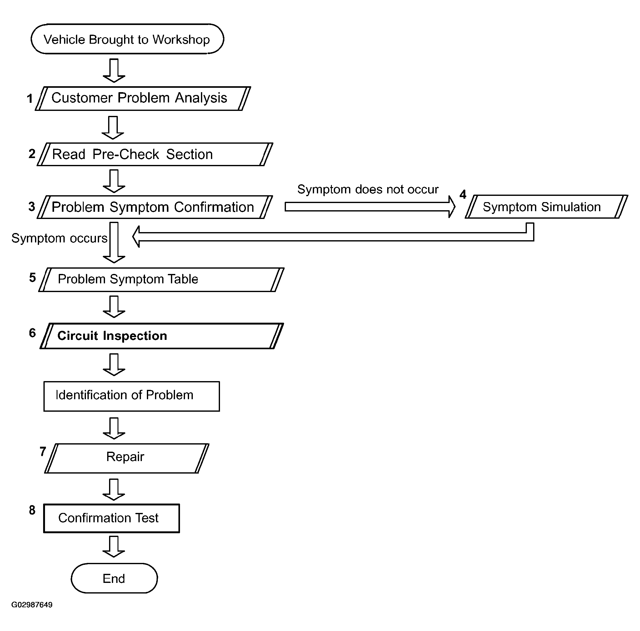
How To Proceed With Troubleshooting

WARNING: This page is about a different car, the 2005 Lexus LX 470. However, it is still accessible from the selected car via links, so may be relevant.
Fig 1: Lexus Night View System Troubleshooting Flow Chart
G02987649Courtesy of © TOYOTA, LICENSE AGREEMENT TMS1002