LEMON Manuals: Even more car manuals for everyone: 1960-2025
Home >> Lexus >> 2005 >> IS 300 Base, Automatic >> Repair and Diagnosis >> Body & Frame >> Windows >> Quarter Window Glass >> Removal
April 5, 2026: LEMON Manuals is launched! Read the announcement.

Quarter Window Glass: Removal

HINT:

A bolt without a torque specification is shown in the standard bolt chart, (see SPECIFIED TORQUE FOR STANDARD BOLTS )

  1. REMOVE REAR SEAT CUSHION (See  REMOVAL  ) 
  2. REMOVE SIDE SEATBACK ASSEMBLY (See  REMOVAL  ) 
  3. REMOVE REAR SEAT FLOOR BOARD NO. 4 
    1. Remove the seat back board carpets. 
    2. Remove the 2 bolts and rear floor board.
  4. REMOVE DECK FLOOR BOX FRONT
    1. Remove the 2 bolts and the 2 rope hook assemblies.
    2. Remove the 2 bolts and 2 tether anchor brackets.
    3. Remove the restraint seat tether anchor cover.
    4. Remove the deck floor box front.
  5. REMOVE DECK BOARD NO. 2 
  6. REMOVE REAR FLOOR BOARD NO. 2 
  7. REMOVE REAR FLOOR BOARD NO. 3 
  8. REMOVE TONNEAU COVER ASSEMBLY 
  9. REMOVE REAR FLOOR FINISH PLATE 
    1. Remove the 2 bolts and the 2 rope hook assemblies.
    2. Remove the 3 clips.
    3. Using a screwdriver, remove the rear floor finish plate.

    HINT:

    Tape the screwdriver tip before use.

    Fig 1: Removing Bolts & Rope Hook Assemblies
    G02946345Courtesy of © TOYOTA, LICENSE AGREEMENT TMS1002
  10. RH side: 
    1. REMOVE ACCESSORY SOCKET 
    Fig 2: Disengage Claw On Accessory Socket Cover From Hole In Accessory Socket Using A Screwdriver
    G02946346Courtesy of © TOYOTA, LICENSE AGREEMENT TMS1002

      Using a screwdriver, disengage the claw on the accessory socket cover from the hole in the accessory socket, then pull out the accessory socket approx. 15 mm (0.59 in.).

      HINT:

      Tape the screwdriver tip before use.

    1. Using a screwdriver, disengage the claw on the accessory socket cover from the body and remove the accessory socket and cover as a unit.

      HINT:

      Tape the screwdriver tip before use.

    2. Disconnect the connector.
    3. Disassemble the accessory socket from the socket cover.
      Fig 3: Removing Accessory Socket & Cover
      G02946347Courtesy of © TOYOTA, LICENSE AGREEMENT TMS1002
  11. REMOVE DECK TRIM SIDE PANEL ASSEMBLY 
    1. Remove the 2 bolts and 2 floor hooks.
    2. Remove the screw, bolt and clip.
    3. Using a screwdriver, remove the deck trim side panel assembly, then disconnect the connector.

    HINT:

    Tape the screwdriver tip before use.

    Fig 4: Removing Bolts & Floor Hooks
    G02946348Courtesy of © TOYOTA, LICENSE AGREEMENT TMS1002
  12. REMOVE ROOF SIDE INNER GARNISH 

    Using a screwdriver, remove the roof side inner garnish.

    HINT:

    Tape the screwdriver tip before use.

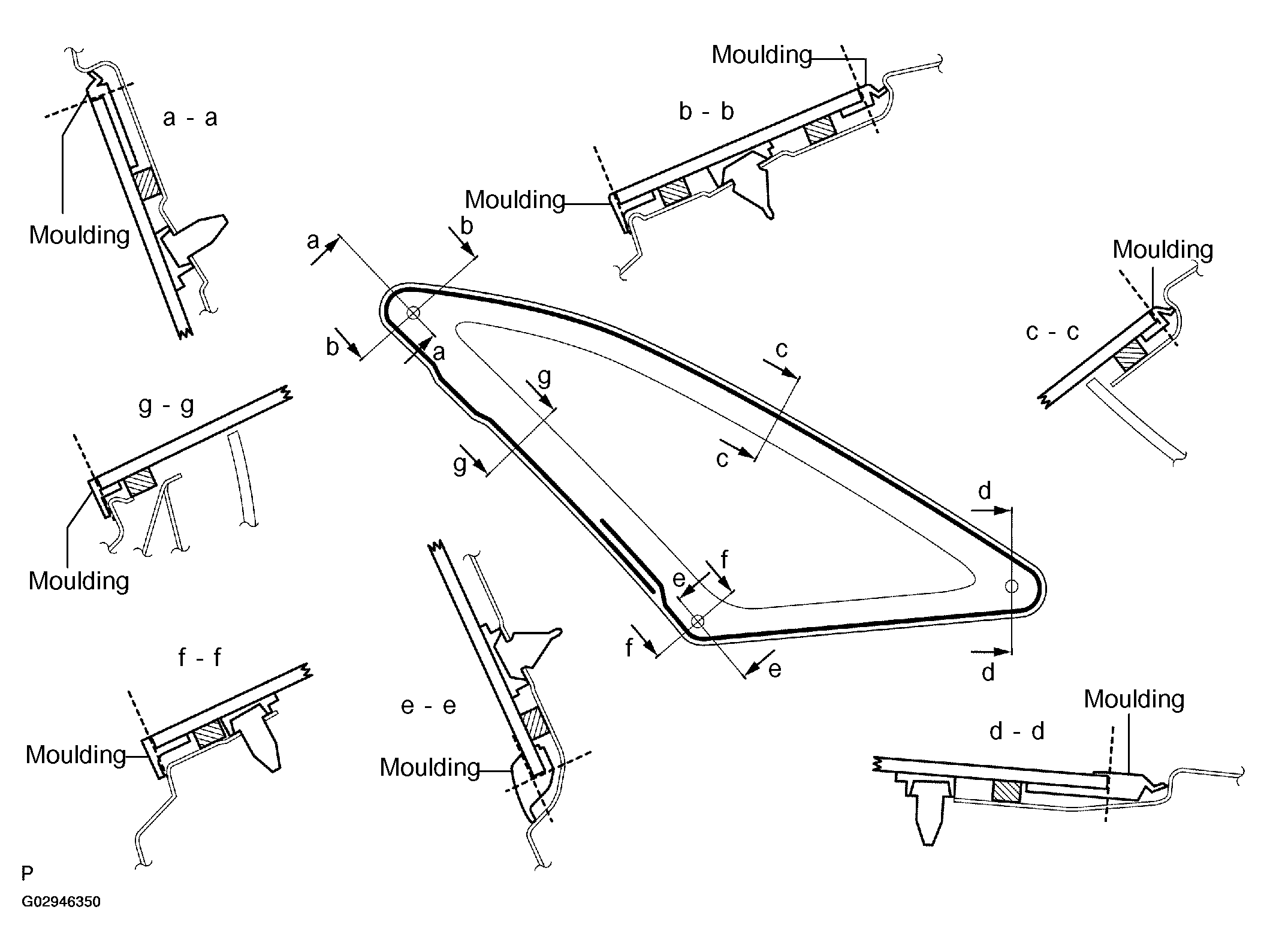
  13. REMOVE QUARTER WINDOW GLASS 
    1. Using a knife, cut off the molding as shown in the illustration.
      NOTE: Do not damage the body with a knife. 
    2. Disconnect the connector.
      Fig 5: Removing Roof Side Inner Garnish
      G02946349Courtesy of © TOYOTA, LICENSE AGREEMENT TMS1002
      Fig 6: Removing Quarter Window Glass
      G02946350Courtesy of © TOYOTA, LICENSE AGREEMENT TMS1002
    3. Push a piano wire through from the interior.
    4. Tie both wire ends to wooden blocks or similar object.

      HINT:

      Apply protective tape to the outer surface to keep the surface from being scratched.

      NOTE: When separating the glass, take care not to damage the paint and exterior. 
      Fig 7: Applying Protective Tape To Outer Surface
      G02946351Courtesy of © TOYOTA, LICENSE AGREEMENT TMS1002
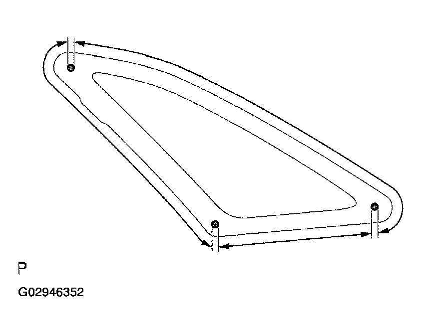
    5. Cut the adhesive by pulling the piano wire around it.

      HINT:

      Cut the adhesive areas as shown in the illustration, leaving the adhesive where the clips are.

      Fig 8: Cutting Adhesive By Pulling Piano Wire Around It
      G02946352Courtesy of © TOYOTA, LICENSE AGREEMENT TMS1002
    6. Push the piano wire through as shown in the illustration, and cut off the adhered part to the clips.
    7. Remove the glass.
    NOTE: Leave as much of the adhesive on the body as possible when cutting off the glass. 
    Fig 9: Pushing Piano Wire Through & Cutting Off Adhered Part To Clips
    G02946353Courtesy of © TOYOTA, LICENSE AGREEMENT TMS1002