LEMON Manuals: Even more car manuals for everyone: 1960-2025
Home >> Lexus >> 2005 >> IS 300 Base, Standard >> Repair and Diagnosis >> Body & Frame >> Door Locks >> Wireless Door Lock Control System >> Replacement
April 5, 2026: LEMON Manuals is launched! Read the announcement.

Wireless Door Lock Control System: Replacement

  1. REPLACE TRANSMITTER (LITHIUM) BATTERY 
    NOTE: Special caution should be taken for handling each component as they are precision electronic components. 
    1. Using a screwdriver, remove the screw and cover.
      NOTE: Do not pry out the cover forcibly. 

      HINT:

      Push the cover with a finger as shown in Fig 1 , so that there becomes clearance, then pry out the cover from that clearance.

      Fig 1: Removing Screw & Cover
      G02946897Courtesy of © TOYOTA, LICENSE AGREEMENT TMS1002
    2. Remove the transmitter.
    3. Using a screwdriver, remove the 2 screws and cover.
    4. Remove the battery (lithium battery).
      NOTE:
      • Do not push the terminals with a finger. 
      • If prying up the battery (lithium battery) forcibly to remove, the terminals are deformed. 
      Fig 2: Removing Battery
      G02946898Courtesy of © TOYOTA, LICENSE AGREEMENT TMS1002
    5. Install a battery (lithium battery) as shown in the illustration.
      NOTE: Face the battery upward. Take care not to deform the terminals. 
      Fig 3: Installing Battery
      G02946899Courtesy of © TOYOTA, LICENSE AGREEMENT TMS1002
    6. Check that O-ring is not distorted or slipped off, and install the cover.
    7. Using a screwdriver, tighten the 2 screws.
      NOTE: When the shrews are tightened loosely, it might cause faulty contact of battery (lithium battery) and terminals. 
    8. Assemble the transmitter to the key plate and the cover.
    9. Using a screwdriver, tighten the screw.
  2. REPLACE DOOR CONTROL RECEIVER AND TRANSMITTER 
    NOTE: When replacing the door control receiver and transmitter, registration of recognition code is necessary because they are provided as single components. 
    1. Select which operation mode should be performed from the following modes.
      • Add mode
      • Rewrite mode
      • Prohibition mode
      • Confirmation mode

      HINT:

      • The add mode is used to retain codes already registered while you register new recognition codes. This mode is used when adding a transmitter. However, if the number of registered codes exceeds 4 codes, previously registered codes are correspondingly erased in order, starting from the first registered code.
      • The rewrite mode is used to erase all previously registered codes and register only new recognition codes.
      • The prohibition mode is used to erase all registered codes and cancels the wireless door lock function. Use this mode when the transmitter is lost.
      • The confirmation mode is for confirming how many recognition codes are already registered before you register additional recognition codes.
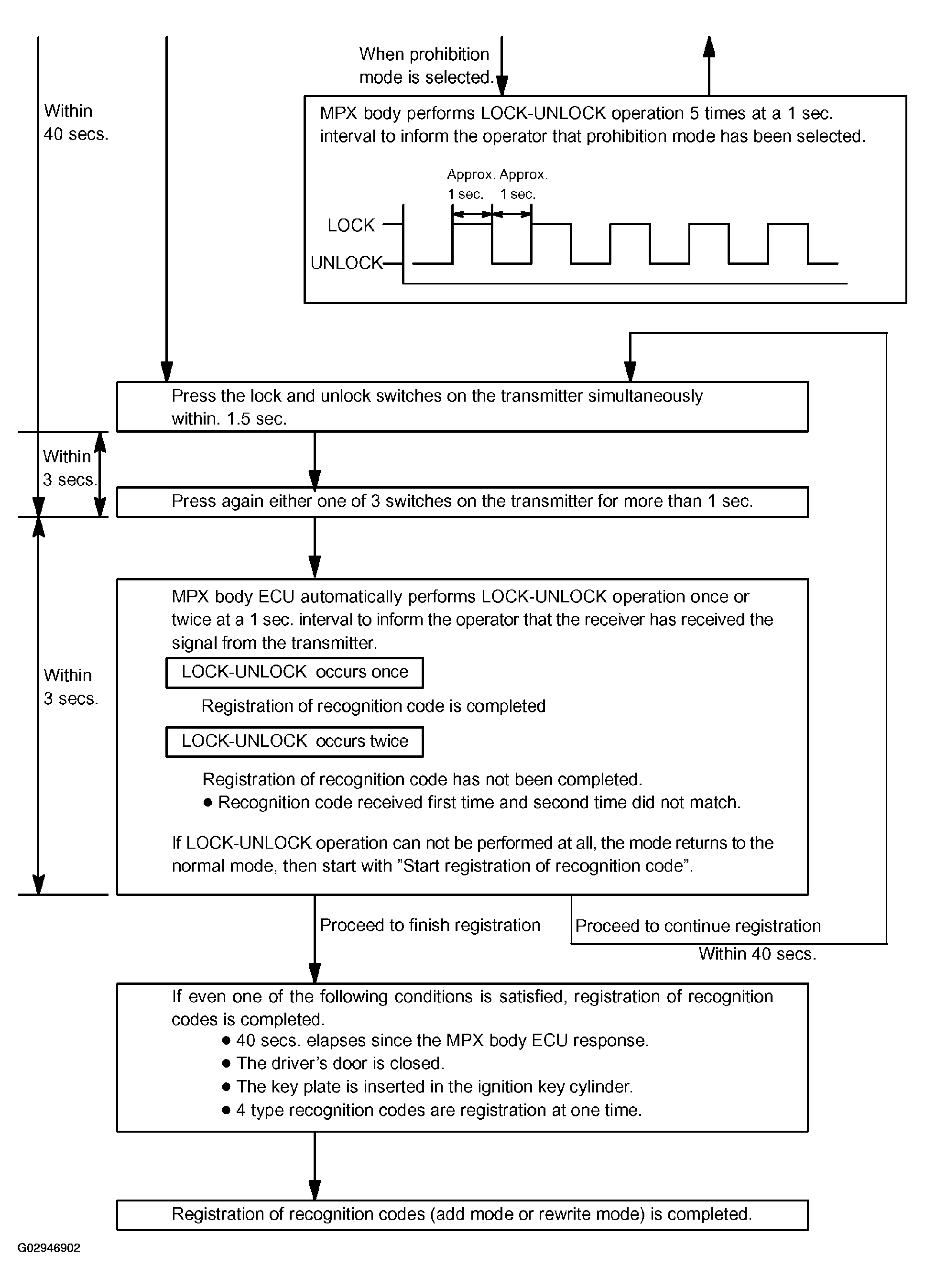
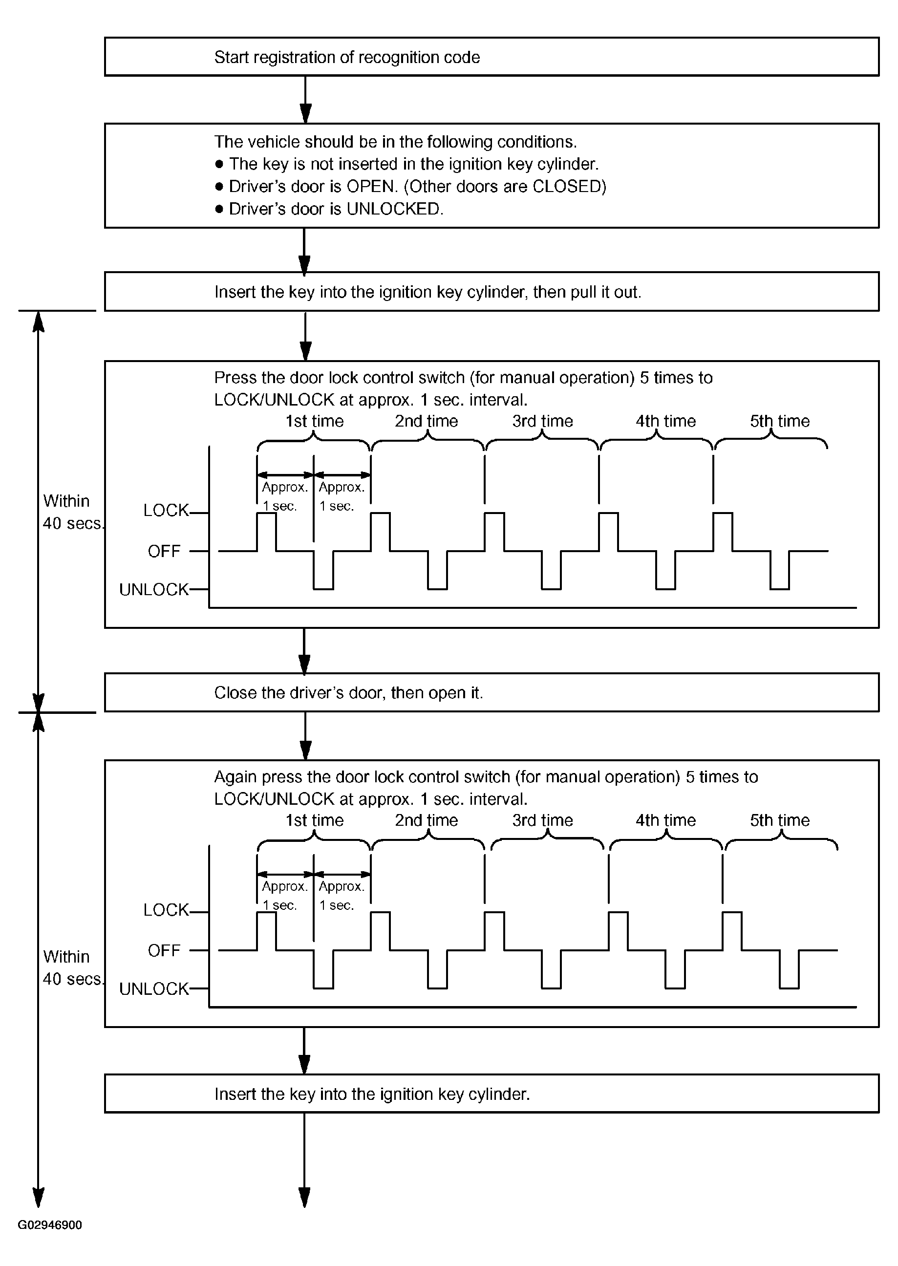
    2. Follow the chart on the following pages to register the transmitter recognition code at the wireless door lock control receiver.

      HINT:

      • When procedure is out of the specified, the operation returns to normal operation.
      • Maximum 4 recognition codes can be registered.
    Fig 4: Registration of Recognition Code Flow Chart (1 Of 3)
    G02946900Courtesy of © TOYOTA, LICENSE AGREEMENT TMS1002
    Fig 5: Registration of Recognition Code Flow Chart (2 Of 3)
    G02946901Courtesy of © TOYOTA, LICENSE AGREEMENT TMS1002
    Fig 6: Registration of Recognition Code Flow Chart (3 Of 3)
    G02946902Courtesy of © TOYOTA, LICENSE AGREEMENT TMS1002