LEMON Manuals: Even more car manuals for everyone: 1960-2025
Home >> Lexus >> 2005 >> IS 300 Base, Standard >> Repair and Diagnosis >> External Pages >> Different variant/trim >> Section 2 (Automatic Transmission - Diagnostics) >> Problem Symptoms Table >> DTC P0705: Transmission Range Sensor Circuit Malfunction (PRNDL Input) >> Inspection Procedure
April 5, 2026: LEMON Manuals is launched! Read the announcement.

Inspection Procedure

WARNING: This page is about a different variant/trim than selected.
  1. Check park/neutral position switch. 

    PREPARATION: 

    1. Jack up the vehicle.
    2. Disconnect the park/neutral position switch connector.

    CHECK: 

    Check resistance between each terminal shown below when the shift lever is moved to each position.

    OK: 

    PARK/NEUTRAL POSITION SWITCH

    Shift Position Tester Connection Specified Condition
    P 1-3 and 6-9 Below 1 Ω
    Except P 1-3 and 6-9 10 kΩ or higher
    R 2-3 Below 1 Ω
    Except R 2-3 10 kΩ or higher
    N 3-5 and 6-9 Below 1 Ω
    Except N 3-5 and 6-9 10 kΩ or higher
    D, M 3-7 Below 1 Ω
    Except D, M 3-7 10 kΩ or higher
    3 3-4 Below 1 Ω
    Except 3 3-4 10 kΩ or higher
    2, L 3-8 Below 1 Ω
    Except 2, L 3-8 10 kΩ or higher
    Fig 1: Checking Park/Neutral Position Switch
    G02947579Courtesy of © TOYOTA, LICENSE AGREEMENT TMS1002

    NG: Replace the park/neutral position switch. 

    OK: Go to next step. 

  2. Check shift lock control ECU (E-shift main switch). 

    PREPARATION: 

    1. Connect the park/neutral position switch connector.
    2. Disconnect the shift lock control ECU connector.

    CHECK: 

    Check resistance between each terminal of shift lock control

    ECU connector when the shift lever is moved to each position.

    OK: 

    SHIFT LOCK CONTROL ECU (E-SHIFT MAIN SWITCH)

    Shift Position Tester Connection Specified Condition
    D 1 (NSSD) - 6 (MT3) 10 kΩ or higher
    M 1 (NSSD) - 6 (MT3) Below 1 Ω
    Fig 2: Checking Shift Lock Control ECU (E-Shift Main Switch)
    G02947580Courtesy of © TOYOTA, LICENSE AGREEMENT TMS1002

    NG: Replace the shift lock control ECU (E-shift main switch) (See  FLOOR SHIFT ASSEMBLY  ). 

    OK: Go to next step. 

  3. Check transmission control switch (E-shift main switch). 

    PREPARATION: 

    1. Connect the shift lock control ECU connector.
    2. Disconnect the transmission control switch connector.

    CHECK: 

    Check resistance between each terminal of transmission control switch connector when the shift lever is moved to each position.

    OK: 

    TRANSMISSION CONTROL SWITCH (E-SHIFT MAIN SWITCH)

    Shift Position Tester Connection Specified Condition
    2 4 (NSSL) - 5 (MTL) 10 kΩ or higher
    L 4 (NSSL) - 5 (MTL) Below 1 Ω
    Fig 3: Checking Transmission Control Switch (E-Shift Main Switch)
    G02947581Courtesy of © TOYOTA, LICENSE AGREEMENT TMS1002

    NG: Replace the transmission control switch (E-shift main switch) (See  FLOOR SHIFT ASSEMBLY  ). 

    OK: Go to next step. 

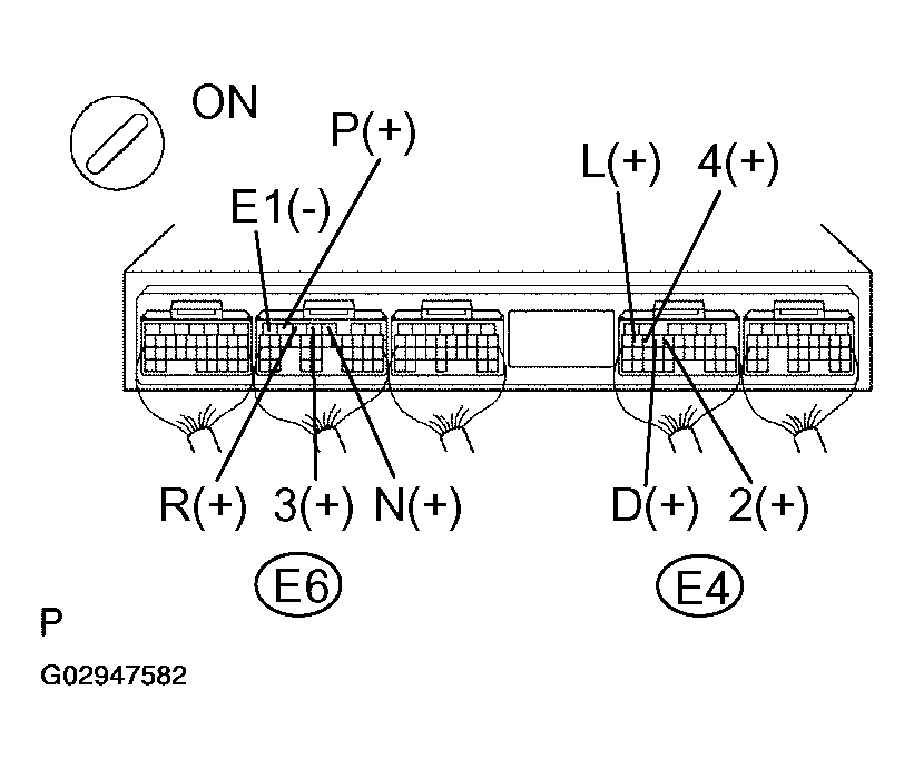
  4. Measure voltage between each terminal of P, R, N, D, 4, 3, 2, L and E1 of ECM. 

    PREPARATION: 

    1. Connect the shift lock control computer connector and E-shift main switch connector.
    2. Turn the ignition switch ON.

    CHECK: 

    Measure voltage between each terminal of P, R, N, D, 4, 3, 2 and L, and E1 of ECM when the shift lever is shifted to the following positions.

    OK: 

    VOLTAGE BETWEEN EACH TERMINAL OF P, R, N, D, 4, 3, 2, L AND E1 OF ECM

    Shift Position Tester Connection Specified Condition
    P E6-6 (P) - E6-7 (E1) 7.5 to 14 V
    Except P E6-6 (P) - E6-7 (E1) Below 1.5 V
    R E6-5 (R) - E6-7 (E1) 7.5 to 14 V (1)
    Except R E6-5 (R) - E6-7 (E1) Below 1.5 V
    N E6-3 (N) - E6-7 (E1) 7.5 to 14 V
    Except N E6-3 (N) - E6-7 (E1) Below 1.5 V
    D E4-13 (D) - E6-7 (E1) 7.5 to 14 V
    Except D E4-13 (D) - E6-7 (E1) Below 1.5 V
    4 E4-14 (4) - E6-7 (E1) 7.5 to 14 V
    Except 4 E4-14 (4) - E6-7 (E1) Below 1.5 V
    3 E6-4 (3) - E6-7 (E1) 7.5 to 14 V
    Except 3 E6-4 (3) - E6-7 (E1) Below 1.5 V
    2 E4-12 (2) - E6-7 (E1) 7.5 to 14 V
    Except 2 E4-12 (2) - E6-7 (E1) Below 1.5 V
    L E4-15 (L) - E6-7 (E1) 7.5 to 14 V
    Except L E4-15 (L) - E6-7 (E1) Below 1.5 V
    (1) The voltage will drop slightly due to lighting up of the back up light.
    Fig 4: Measuring Voltage Between Each Terminal Of P, R, N, D, 4, 3, 2, L And E1 Of ECM
    G02947582Courtesy of © TOYOTA, LICENSE AGREEMENT TMS1002

    NG: Repair or replace the harness or connector. 

    OK: Replace the ECM (See  ENGINE CONTROL MODULE (ECM)  ).