LEMON Manuals: Even more car manuals for everyone: 1960-2025
Home >> Lexus >> 2005 >> LS 430 >> Repair and Diagnosis >> Electrical >> Charging Systems >> Starting & Charging >> Generator ASSY >> Overhaul
April 5, 2026: LEMON Manuals is launched! Read the announcement.

Generator ASSY: Overhaul

  1. REMOVE GENERATOR REAR END COVER 
    1. Remove the 3 nuts and end cover.
    2. Remove the terminal insulator.
      Fig 1: Removing Generator Rear End Cover
      G02999951Courtesy of © TOYOTA, LICENSE AGREEMENT TMS1002
  2. REMOVE GENERATOR BRUSH HOLDER ASSY 
    1. Remove the rear seal plate from the brush holder.
    2. Remove the 2 screws and brush holder.
    3. Remove the front seal plate from the coil.
      Fig 2: Removing Generator Brush Holder Assy
      G02999952Courtesy of © TOYOTA, LICENSE AGREEMENT TMS1002
  3. REMOVE GENERATOR PULLEY 
    1. Hold SST (A) with a torque wrench and tighten SST (B) clockwise to the specified torque.
      1. SST 09820-6301 1
      2. Torque: 39 N.m (400 kgf.cm, 29 ft.lbf) 
      Fig 3: Tightening SST
      G02999953Courtesy of © TOYOTA, LICENSE AGREEMENT TMS1002
    2. Check that SST (A) is secured to the rotor shaft.
    3. Mount SST (C) in a vise.
    4. Insert SST (B) into SST (C), and attach the pulley nut to SST (C).
      Fig 4: Inserting SST (B) Into SST (C)
      G02999954Courtesy of © TOYOTA, LICENSE AGREEMENT TMS1002
    5. To loosen the pulley nut, turn SST (A) in the direction shown in Fig 5 .
      NOTE: To prevent damage to the rotor shaft, do not loosen the pulley nut more than one-half of a turn.
      Fig 5: Turning SST (A) To Loosen Pulley Nut
      G02999955Courtesy of © TOYOTA, LICENSE AGREEMENT TMS1002
    6. Remove the generator from SST (C).
    7. Turn SST (B) and remove SST (A and B).
      Fig 6: Turning SST (B) And Remove SST (A & B)
      G02999956Courtesy of © TOYOTA, LICENSE AGREEMENT TMS1002
    8. Remove the pulley nut and pulley.
  4. REMOVE GENERATOR COIL ASSY 
    1. Remove the 4 bolts.
      Fig 7: Removing Bolts
      G02999957Courtesy of © TOYOTA, LICENSE AGREEMENT TMS1002
    2. Using SST, remove the coil.
      1. SST 09950-40011 (09951-04020, 09952-04010, 09953-04020, 09954-04010, 09955-04071, 09958-0401 1)
      Fig 8: Removing Coil Using SST
      G02999958Courtesy of © TOYOTA, LICENSE AGREEMENT TMS1002
    3. Remove the generator washer.
  5. REMOVE GENERATOR ROTOR ASSY 
  6. INSPECT GENERATOR ROTOR ASSY 
    1. Check the rotor for open circuit.
      1. Using an ohmmeter, measure the resistance between the slip rings.
      1. Standard: 2.1 to 2.5 Ω at 20°C (68°F) 

      If the result is not as specified, replace the generator rotor.

      Fig 9: Checking Rotor For Open Circuit
      G02999959Courtesy of © TOYOTA, LICENSE AGREEMENT TMS1002
    2. Check if the rotor is grounded.
      1. Using an ohmmeter, measure the resistance between the slip ring and the rotor core.
      1. Standard: 10 kΩ or higher 
      Fig 10: Checking Rotor Is Grounded
      G02999960Courtesy of © TOYOTA, LICENSE AGREEMENT TMS1002

      If the result is not as specified, replace the generator rotor.

    3. Inspect slip rings.
      1. Check that the slip rings are not rough or scored.

      If rough or scored, replace the rotor assy.

      Fig 11: Inspecting Slip Rings
      G02999961Courtesy of © TOYOTA, LICENSE AGREEMENT TMS1002
    4. Using a vernier caliper, measure the slip ring diameter.
      1. Specified diameter: 12.8 to 14.4 mm (0.504 to 0.567 in.) 

      If the diameter is less than the minimum, replace the rotor assy.

  7. INSPECT GENERATOR BRUSH HOLDER ASSY 
    1. Using a vernier caliper, measure the exposed brush length.
      1. Specified exposed length: 1.5 to 11.5 mm (0.059 to 0.453 in.) 

      If the length is less than the minimum, replace the brush holder assy.

      Fig 12: Inspecting Generator Brush Holder Assy
      G02999962Courtesy of © TOYOTA, LICENSE AGREEMENT TMS1002
  8. INSPECT BEARING 
    1. Check that the bearing is not rough or worn.

    If necessary, replace the bearing.

  9. REPLACE BEARING FOR FRONT 
    1. Remove the 4 screws and bearing retainer.
      Fig 13: Removing Bearing Retainer
      G02999963Courtesy of © TOYOTA, LICENSE AGREEMENT TMS1002
    2. Using SST and a press, press out the bearing.
      1. SST 09223-00010
      Fig 14: Pressing Out Bearing
      G02999964Courtesy of © TOYOTA, LICENSE AGREEMENT TMS1002
    3. Using SST and a press, press in a new bearing.
      1. SST 09950-60010 (09951-00480)
      Fig 15: Pressing In New Bearing
      G02999965Courtesy of © TOYOTA, LICENSE AGREEMENT TMS1002
    4. Install the bearing retainer with the 4 screws.
      1. Torque: 2.3 N.m (24 kgf.cm, 20 in.lbf) 
  10. REPLACE BEARING 
    1. Using SST, remove the bearing cover (outside) and bearing.
      1. SST 09820-00021
      NOTE: Be careful not to damage the fan.
      Fig 16: Removing Bearing Cover (Outside) & Bearing
      G02999966Courtesy of © TOYOTA, LICENSE AGREEMENT TMS1002
    2. Remove the bearing cover (inside).
    3. Place the bearing cover (inside) on the rotor.
      Fig 17: Placing Bearing Cover (Inside) On Rotor
      G02999967Courtesy of © TOYOTA, LICENSE AGREEMENT TMS1002
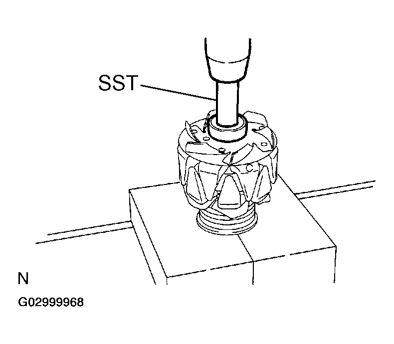
    4. Using SST and a press, press in a new bearing.
      1. SST 09820-00031
      Fig 18: Pressing In Bearing
      G02999968Courtesy of © TOYOTA, LICENSE AGREEMENT TMS1002
    5. Using SST, push in the bearing cover (outside).
      1. SST 09285-76010
      Fig 19: Pushing In Bearing Cover (Outside)
      G02999969Courtesy of © TOYOTA, LICENSE AGREEMENT TMS1002
  11. INSTALL GENERATOR ROTOR ASSY 
    1. Place the drive end frame on the pulley.
    2. Install the rotor to the drive end frame.
      Fig 20: Installing Generator Rotor Assy
      G02999970Courtesy of © TOYOTA, LICENSE AGREEMENT TMS1002
  12. INSTALL GENERATOR COIL ASSY 
    1. Place the generator washer on the rotor.
      Fig 21: Placing Generator Washer On Rotor
      G02999971Courtesy of © TOYOTA, LICENSE AGREEMENT TMS1002
    2. Using a 29 mm socket wrench and press, slowly press in the coil.
      Fig 22: Pressing In Coil
      G02999972Courtesy of © TOYOTA, LICENSE AGREEMENT TMS1002
    3. Install the coil with the 4 bolts.
      1. Torque: 5.8 N.m (59 kgf.cm, 51 in.lbf) 
      Fig 23: Installing Coil
      G02999973Courtesy of © TOYOTA, LICENSE AGREEMENT TMS1002
  13. INSTALL GENERATOR PULLEY 
    1. Install the pulley to the rotor shaft by tightening the pulley nut by hand.
    2. Hold SST (A) with a torque wrench, and tighten SST (B) clockwise to the specified torque.
      1. SST 09820-63010
      2. Torque: 39 N.m (400 kgf.cm, 29 ft.lbf) 
      Fig 24: Tightening SST Clockwise
      G02999974Courtesy of © TOYOTA, LICENSE AGREEMENT TMS1002
    3. Check that SST (A) is secured to the pulley shaft.
    4. Mount SST (C) in a vise.
    5. Insert SST (B) into SST (C), and attach the pulley nut to SST (C).
      Fig 25: Inserting SST (B) Into SST (C)
      G02999975Courtesy of © TOYOTA, LICENSE AGREEMENT TMS1002
    6. To tighten the pulley nut, turn SST (A) in the direction shown in the illustration.
      1. Torque: 111 N.m (1,132 kgf.cm, 82 ft.lbf) 
    7. Remove the generator from SST (C).
      Fig 26: Turning SST (A) To Tighten Pulley Nut
      G02999976Courtesy of © TOYOTA, LICENSE AGREEMENT TMS1002
    8. Turn SST (B) and remove SST (A and B).
      Fig 27: Turning SST (B) And Removing SST (A & B)
      G02999977Courtesy of © TOYOTA, LICENSE AGREEMENT TMS1002
  14. INSTALL GENERATOR BRUSH HOLDER ASSY 
    1. Place the front seal plate onto the coil.
      Fig 28: Placing Front Seal Plate Onto Coil
      G02999978Courtesy of © TOYOTA, LICENSE AGREEMENT TMS1002
    2. Place the brush holder on the coil.
      NOTE: Be careful of the holder's installation direction.
      Fig 29: Placing Brush Holder On Coil
      G02999979Courtesy of © TOYOTA, LICENSE AGREEMENT TMS1002
    3. Install the 2 screws.
      1. Torque: 1.8 N.m (18 kgf.cm, 16 in.lbf) 
    4. Place the real seal plate on the brush holder.
  15. INSTALL GENERATOR REAR END COVER 
    1. Install the terminal insulator.
    2. Install the end cover with the 3 nuts.
      1. Torque: 4.6 N.m (47 kgf.cm, 41 in.lbf) 
      Fig 30: Installing Generator Rear End Cover
      G02999980Courtesy of © TOYOTA, LICENSE AGREEMENT TMS1002
  16. CHECK THAT ROTOR ROTATES SMOOTHLY