LEMON Manuals: Even more car manuals for everyone: 1960-2025
Home >> Lexus >> 2005 >> LS 430 >> Repair and Diagnosis >> Engine Performance >> Fuel Delivery >> Fuel >> Fuel System >> Inspection
April 5, 2026: LEMON Manuals is launched! Read the announcement.

Fuel System: Inspection

  1. INSPECT FUEL INJECTOR ASSY 
    1. Inspect the injector resistance.

      Using an ohmmeter, measure the resistance between the terminals.

      Standard: 13.4 to 14.2 Ω at 20°C (68°F) 

      HINT:

      If the resistance is not as specified, replace the injector.

    2. Inspect the injector injection.
      CAUTION: Keep injector clear of sparks during the test.
      Fig 1: Inspecting Injector Injection
      G02998973Courtesy of © TOYOTA, LICENSE AGREEMENT TMS1002
    3. Disconnect the fuel pipe No. 2 from the fuel main tube.
    4. Temporarily install SST (union) to the fuel pipe No. 2.
      1. SST 09268-41047 (09268-52011)
    5. Tighten the flare nut on the fuel main tube (see PRECAUTION  ).
      Fig 2: Disconnecting Main Fuel Pipe
      G02998974Courtesy of © TOYOTA, LICENSE AGREEMENT TMS1002
    6. Connect SST (hose) to the SST (union).
      1. SST 09268-41047
      Fig 3: Installing O-Ring To Injector
      G02998975Courtesy of © TOYOTA, LICENSE AGREEMENT TMS1002
    7. Install a new O-ring to the injector.
    8. Connect SST (union and hose) to the injector, and hold the injector and union with SST (clamp).
      1. SST 09268-41047 (09268-41110, 09268-41300)
    9. Put the injector into the graduated cylinder.
      CAUTION: Install a suitable vinyl hose onto the injector to prevent gasoline from spilling out.
    10. Connect the hand-held tester (with CAN VIM) to the DLC3.
    11. Connect the battery negative (-) cable to the battery.
    12. Turn the ignition switch ON and push the hand-held tester main switch ON.
      NOTE: Do not start the engine.
    13. Select the ACTIVE TEST mode on the hand-held tester.
    14. Please refer to the hand-held tester operator's manual for further details.
      Fig 4: Connecting Hand-Held Tester DLC3
      G02998976Courtesy of © TOYOTA, LICENSE AGREEMENT TMS1002
    15. Connect SST (wire) to the injector and battery for 15 seconds, and measure the injection volume with a graduated cylinder. Test each injector 2 or 3 times.
      1. SST 09842-30070

      Injection volume: 

      60 to 73 cm3 (3.7 to 4.5 cu in.) per 15 seconds. Difference between each injector: 

      13 cm3 (0.6 cu in.) or less 

      If the injection volume is not as specified, replace the injector.

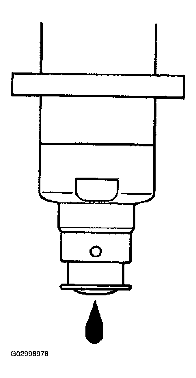
    16. Inspect the fuel leakage.
      Fig 5: Measuring Injection Volume
      G02998977Courtesy of © TOYOTA, LICENSE AGREEMENT TMS1002
      1. In the condition above, disconnect the tester probes of SST (wire) from the battery and check the fuel leakage from the injector.
      1. SST 09842-30070

      Fuel drop: 1 drop or less per 27 minutes 

    17. Turn the ignition switch OFF.
    18. Disconnect the negative (-) terminal cable from the battery.
    19. Remove the SST.
      1. SST 09268-41047, 09842-30070
    20. Disconnect the hand-held tester from the DLC3.
      Fig 6: Inspecting Fuel Leakage
      G02998978Courtesy of © TOYOTA, LICENSE AGREEMENT TMS1002
    21. Reconnect the fuel pipe No. 2 to the fuel main tube.
      1. SST 09023-12701
      1. Torque: 30 N.m (310 kgf.cm, 22 ft.lbf) 

      HINT:

      Use a torque wrench with a fulcrum length of 30 cm (11.81 in.).

      Fig 7: Measuring Fulcrum Length
      G02998979Courtesy of © TOYOTA, LICENSE AGREEMENT TMS1002
  2. INSPECT FUEL PUMP ASSY 
    1. Inspect the fuel pump resistance.
      1. Using an ohmmeter, measure the resistance between terminals 4 and 5.

      Standard: 0.2 to 3.0 Ω at 20°C (68°F) 

    2. Inspect fuel pump operation.
    1. Apply battery voltage to both terminals. Check that the pump operates.
    NOTE:
    • These tests must be done quickly (within 10 seconds) to prevent the coil from burning out.
    • Keep the fuel pump as far away from the battery as possible.
    • Always turn on and off the voltage on the battery side, not the fuel pump side.
    Fig 8: Measuring Resistance Between Terminals 4 And 5
    G02998980Courtesy of © TOYOTA, LICENSE AGREEMENT TMS1002