LEMON Manuals: Even more car manuals for everyone: 1960-2025
Home >> Lexus >> 2005 >> LX 470 V8-4.7L (2UZ-FE) >> Repair and Diagnosis >> Heating and Air Conditioning >> Control Assembly >> Testing and Inspection >> Rear A/C Control Assembly
April 5, 2026: LEMON Manuals is launched! Read the announcement.

Rear A/C Control Assembly

INSPECTION




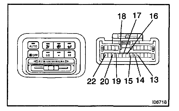
1. REMOVE REAR HEATER CONTROL ASSEMBLY
Using a screwdriver, release the 4 claws and pull out the rear heater control assembly, then disconnect the connector.




2. INSPECT ILLUMINATION OPERATION
Connect the positive (+) lead from the battery to terminal 2 and negative (-) lead to terminal 21 then check that the illumination light up.
If operation is not as specified, replace the heater control assembly.

3. INSPECT INDICATOR OPERATION







a. Connect the positive (+) lead from the battery to terminal 1 and negative (-) lead to each terminal, then check that the indicator lights up, as shown in the chart.
If operation is not as specified, replace the heater control assembly.




b. Connect the positive (+) lead from the battery to terminal 2, then check that indicators dim.
If operation is not as specified, replace the heater control assembly.







4. INSPECT SWITCH CONTINUITY
Check the continuity between terminals while switch is pressed, as shown in the chart.
If continuity is not as specified, replace the heater control assembly.




5. INSPECT VARIABLE RESISTOR OPERATION
a. Measure resistance between terminals 10 and 12.

Standard resistance: 3.0 kohms

b. Gradually move the temperature control lever from "COOL" side to "WARM" side then check that the resistance between terminals 11 and 12 increase from 0 to 3.0 kohms.
If operation is not as specified, replace the heater control assembly.

6. INSTALL HEATER CONTROL ASSEMBLY