LEMON Manuals: Even more car manuals for everyone: 1960-2025
Home >> Lexus >> 2005 >> LX 470 >> Repair and Diagnosis >> Body & Frame >> Windows >> Back Door Glass >> Installation
April 5, 2026: LEMON Manuals is launched! Read the announcement.

Back Door Glass: Installation

  1. CLEAN AND SHAPE CONTACT SURFACE OF BODY 
    1. Using a knife, cut away any rough areas on the body.

      HINT:

      Leave as much of the adhesive on the body as possible.

      Fig 1: Leave As Much Of Adhesive On Body As Possible
      G02994387Courtesy of © TOYOTA, LICENSE AGREEMENT TMS1002
    2. Clean the cutting surface of the adhesive with a piece of shop rag saturated in cleaner.

    HINT:

    Even if all the adhesive has been removed, clean the body.

  2. CLEAN REMOVED GLASS 
    1. Using a scraper, remove the adhesive sticking to the glass.
    2. Clean the glass with cleaner.
    NOTE: Do not touch the glass after cleaning it.
    Fig 2: Removing Adhesive Sticking To Glass
    G02994388Courtesy of © TOYOTA, LICENSE AGREEMENT TMS1002
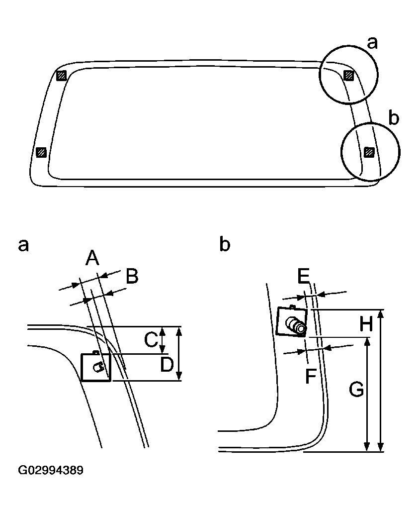
  3. REPLACE CLIPS AND SPACERS 
    1. Remove the damaged clips and spacers.
    2. Cut off the old adhesive around the clips and spacers installation area.
      NOTE: Be careful not to damage the back door glass.
    3. Clean the installation area.
    4. Attach new clips and spacers to the glass, as shown in the illustration.

      A: 24.3 mm (0.957 in.) 

      B: 18.6 mm (0.732 in.) 

      C: 33.1 mm (1.303 in.) 

      D: 52.8 mm (2.079 in.) 

      E: 14.4 mm (0.567 in.) 

      F: 18 mm (0.71 in.) 

      G: 156.6 mm (6.165 in.) 

      H: 176.8 mm (6.961 in.) 

    Fig 3: Replacing Clips And Spacers
    G02994389Courtesy of © TOYOTA, LICENSE AGREEMENT TMS1002
  4. INSTALL BACK WINDOW OUTSIDE MOLDING 

    Install a new back window molding as shown in the illustration.

    NOTE: Do not touch the glass face after cleaning it.
    Fig 4: Installing New Back Window Molding
    G02994390Courtesy of © TOYOTA, LICENSE AGREEMENT TMS1002
  5. COAT CONTACT SURFACE OF BODY WITH PRIMER "M" 

    Using a brush, coat Primer M to exposed part of body on the vehicle side.

    Fig 5: Coating Primer M To Exposed Part Body On Vehicle Side
    G02994391Courtesy of © TOYOTA, LICENSE AGREEMENT TMS1002
    NOTE:
    • Let the primer coating dry for 3 minutes or more.
    • Do not coat Primer M to the adhesive.
    • Do not keep any of the opened Primer M for later use.
  6. COAT CONTACT SURFACE OF GLASS WITH PRIMER "G" 
    1. Using a brush or sponge, coat the edge of the glass and contact surface with Primer G.
    2. When the primers coated wrongly to the area other than the specified, wipe it off with a clean shop rag before the primer dries.
    NOTE:
    • Let the primer coating dry for 3 minutes or more.
    • Do not keep any of the opened Primer G for later use.
    Fig 6: Coating Contact Surface Glass With Primer G
    G02994392Courtesy of © TOYOTA, LICENSE AGREEMENT TMS1002
  7. APPLY ADHESIVE 
    1. Cut off the tip of the cartridge nozzle.

      HINT:

      After cutting off the tip, use all adhesive within the time described in the table below.

      TEMPERATURE SPECIFICATION

      Temperature Tackfree time
      35 °C(95 °F) 15 minutes
      20 °C(68 °F) 100 minutes
      5 °C(41 °F) 8 hours
    2. Load the cartridge into the sealer gun.
    3. Coat the glass with adhesive, as shown in the illustration.

      A: 8.0 mm (0.315 in.) 

      B: 12.0 mm (0.472 in.) 

    Fig 7: Applying Adhesive
    G02994393Courtesy of © TOYOTA, LICENSE AGREEMENT TMS1002
  8. INSTALL BACK DOOR GLASS 
    1. Install the glass to the body.
    2. Hold back door glass in place securely with protective tape or equivalent until the adhesive hardens.
    NOTE: Take care not to drive the vehicle during the time described in the table below.
    TEMPERATURE SPECIFICATION

    Temperature Minimum time prior to moving a car
    35 °C(95 °F) 1.5 hours
    20 °C(68 °F) 5 hours
    5 °C(41 °F) 24 hours
  9. INSPECT FOR LEAKS AND REPAIR 
    1. Conduct a leak test after the hardening time has elapsed.
    2. Seal any leak with sealant.

      Part No. 08833-00030 or equivalent 

  10. INSTALL REAR WIPER ARM (See  INSTALLATION  ) 
  11. INSTALL THESE PARTS: 

    (See  REASSEMBLY  ) 

    1. Back door garnish
    2. Center back door garnish
    3. Inside handle bezel
    4. Assist grip
    5. Assist grip plugs