LEMON Manuals: Even more car manuals for everyone: 1960-2025
Home >> Lexus >> 2005 >> LX 470 >> Repair and Diagnosis >> Body & Frame >> Windows >> Power Window Control System >> Inspection
April 5, 2026: LEMON Manuals is launched! Read the announcement.

Power Window Control System: Inspection

  1. INSPECT POWER WINDOW MASTER SWITCH CIRCUIT 

    Check the voltage and continuity of each terminal of the wire harness side connector.

    Fig 1: Identifying Power Window Master Switch Connector Terminals
    G02994064Courtesy of © TOYOTA, LICENSE AGREEMENT TMS1002
    Fig 2: Tester Connection Specified Condition
    G02994065Courtesy of © TOYOTA, LICENSE AGREEMENT TMS1002

    If the circuit is not as specified, inspect the circuits connected to other parts.

  2. INSPECT POWER WINDOW SWITCH CIRCUIT 

    Check the voltage and continuity of each terminal of the wire harness side connector.

    Fig 3: Identifying Power Window Switch Connector Terminals
    G02994066Courtesy of © TOYOTA, LICENSE AGREEMENT TMS1002
    Fig 4: Tester Connection Specified Condition
    G02994067Courtesy of © TOYOTA, LICENSE AGREEMENT TMS1002

    If the circuit is not as specified, inspect the circuits connected to other parts.

  3. Driver's door and rear right door: 

    INSPECT POWER WINDOW MOTOR OPERATION 

    1. Connect the battery positive (+) lead to terminal 1 and the battery negative (-) lead to terminal 4, and check that the motor turns counterclockwise.
      Fig 5: Connecting Power To Window Motor For Counterclockwise Rotation
      G02994068Courtesy of © TOYOTA, LICENSE AGREEMENT TMS1002
    2. Reverse the polarity, and check that the motor turns clockwise.

    If operation is not as specified, replace the motor.

    Fig 6: Connecting Power To Window Motor For Clockwise Rotation
    G02994069Courtesy of © TOYOTA, LICENSE AGREEMENT TMS1002
  4. Passenger's door and rear left door: 

    INSPECT POWER WINDOW MOTOR OPERATION 

    1. Connect the battery positive (+) lead to terminal 4 and the battery negative (-) lead to terminal 1, and check that the motor turns clockwise.
      Fig 7: Connecting Power To Window Motor For Clockwise Rotation
      G02994070Courtesy of © TOYOTA, LICENSE AGREEMENT TMS1002
    2. Reverse the polarity, and check that the motor turns counterclockwise.

    If operation is not as specified, replace the motor.

    Fig 8: Connecting Power To Window Motor For Counterclockwise Rotation
    G02994071Courtesy of © TOYOTA, LICENSE AGREEMENT TMS1002
  5. INSPECT POWER WINDOW MOTOR PTC THERMISTOR OPERATION 
    1. Disconnect the connector from the power window motor.
    2. Connect the ammeter positive (+) lead to terminal 1 on the wire harness side connector and the ammeter negative (-) lead to negative terminal of the battery.
    3. Connect the battery positive (+) lead to terminal 4 on the wire harness side connector, and raise the window to the fully position.
      Fig 9: Inspecting Power Window Motor PTC Thermistor Operation
      G02994072Courtesy of © TOYOTA, LICENSE AGREEMENT TMS1002
    4. Continue to apply voltage and check that the current changes to less than 1 A within 4 to 90 seconds.
    5. Disconnect the leads from the terminals.
    6. Approximately 60 seconds later, connect the battery positive (+) lead to terminal 1 and the battery negative (-) lead to terminal 4, and check that the window begins to descend.

    If operation is not as specified, replace the motor.

    Fig 10: Checking That Window Begins To Descend
    G02994073Courtesy of © TOYOTA, LICENSE AGREEMENT TMS1002
  6. INSPECT JAM PROTECTION LIMIT SWITCH OPERATION 
    1. Connect the ohmmeter positive (+) lead to terminal 2 and the ohmmeter negative (-) lead to terminal 5.
    2. Connect the battery positive (+) lead to terminal 1 and the battery negative (-) lead to terminal 4.
    3. Check that the continuity exists when the window goes up.
      Fig 11: Inspecting Jam Protection Limit Switch Operation
      G02994074Courtesy of © TOYOTA, LICENSE AGREEMENT TMS1002
    4. Check that no continuity exists when the window is in the fully closed position.

    If operation is not as specified, replace the motor.

    NOTE: If connecting the wire harness wrongly, the sensor might be damaged, so caution is necessary.
    Fig 12: Checking Continuity With Window Fully Closed
    G02994075Courtesy of © TOYOTA, LICENSE AGREEMENT TMS1002
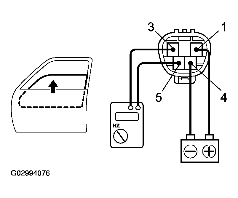
  7. INSPECT JAM PROTECTION PULSE SWITCH OPERATION 
    1. Connect the TOYOTA electrical tester positive (+) lead to terminal 3 and the TOYOTA electrical tester negative (-) lead to terminal 5.
    2. Connect the battery positive (+) lead to terminal 1 and the battery negative (-) lead to terminal 4.
    3. Check that pulse is generated during the motor running.
      Fig 13: Inspecting Jam Protection Pulse Switch Operation
      G02994076Courtesy of © TOYOTA, LICENSE AGREEMENT TMS1002
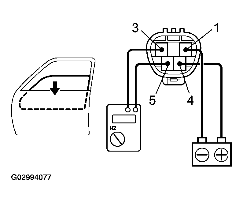
    4. Reverse the polarity and check that pulse is generated.

    If operation is not as specified, replace the motor.

    NOTE: If connecting the wire harness wrongly, the sensor might be damaged, so caution is necessary.
    Fig 14: Checking Pulse With Reversed Polarity
    G02994077Courtesy of © TOYOTA, LICENSE AGREEMENT TMS1002
  8. INSPECT JAM PROTECTION FUNCTION 
    NOTE: Be careful that any part of your body is not to be caught when checking.

    HINT:

    In the case of resetting the limit switch, perform checking after repeating up and down of the glass with automatic operation.

    1. Confirmation of AUTO up operation:

      Confirm that the window to be fully closed with AUTO up operation.

    2. Checking of the operation of the jam protection function:
      1. Move up the window with AUTO up operation and check that the window goes down when it touches the handle of the hammer handle.
      2. Confirm that the window stops going down at about 200 mm.

    HINT:

    In the case of removing the glass, glass guide, regulator and etc., be sure to perform checking on the jam protection function. If the jam protection does not function properly, adjust the power window motor reset switch and the pulse switch.