LEMON Manuals: Even more car manuals for everyone: 1960-2025
Home >> Lexus >> 2005 >> LX 470 >> Repair and Diagnosis >> Body & Frame >> Windows >> Windshield >> Installation
April 5, 2026: LEMON Manuals is launched! Read the announcement.

Body & Frame: Windows: Windshield: Installation

  1. CLEAN AND SHAPE CONTACT SURFACE OF BODY 
    1. Using a knife, cut away any rough areas on the body.

      HINT:

      Leave as much of the adhesive on the body as possible.

    2. Clean the cutting surface of the adhesive with a piece of shop rag soaked with cleanser.
    Fig 1: Cleaning And Shaping Contact Surface Of Body Adhesive
    G02994345Courtesy of © TOYOTA, LICENSE AGREEMENT TMS1002
  2. CLEAN REMOVED GLASS 
    1. Remove the damaged stoppers and dams.
    2. Using a scraper, remove the adhesive sticking to the glass.
    3. Clean the glass with cleaner.
    NOTE:
    • Do not touch the glass surface after cleaning it.
    • Be careful not to damage the glass.
    Fig 2: Cleaning Removed Glass
    G02994346Courtesy of © TOYOTA, LICENSE AGREEMENT TMS1002
  3. INSTALL NEW STOPPERS 

    Install new stoppers onto the glass.

    1. A : 9 mm (0.35 in.) 
    2. B : 25 mm (0.98 in.) 
    Fig 3: Installing New Stoppers
    G02994347Courtesy of © TOYOTA, LICENSE AGREEMENT TMS1002
  4. INSTALL NEW DAMS 

    Install new dams with adhesive tape as shown in the illustration.

    NOTE: Do not touch the glass surface after cleaning it.
    1. A : 7 mm (0.28 in.) 
    2. B : 20 mm (0.79 in.) 
    Fig 4: Installing New Dams
    G02994348Courtesy of © TOYOTA, LICENSE AGREEMENT TMS1002
  5. POSITION GLASS 
    1. Place the glass in the correct position.
    2. Check that all contacting parts of the glass rim is perfectly even but does not contact with the 2 stoppers.
    3. Place reference marks between the glass and the body.
    4. Remove the glass.
    Fig 5: Positioning Glass
    G02994349Courtesy of © TOYOTA, LICENSE AGREEMENT TMS1002
  6. CLEAN CONTACT SURFACE OF GLASS 

    Using cleanser, clean the contact surface which is black-colored area around the entire glass rim.

    NOTE: Do not touch the glass surface after cleaning it.
    Fig 6: Cleaning Contact Surface Of Glass
    G02994350Courtesy of © TOYOTA, LICENSE AGREEMENT TMS1002
  7. COAT CONTACT SURFACE OF BODY WITH PRIMER "M" 

    Using a brush, coat Primer M to the exposed part of body on the vehicle side.

    NOTE:
    • Let the primer coating dry for 3 minutes or more.
    • Do not coat Primer M to the adhesive.
    • Do not keep the remaining Primer M for later use.
    Fig 7: Coating Contact Surface Of Body With Primer "M"
    G02994351Courtesy of © TOYOTA, LICENSE AGREEMENT TMS1002
  8. COAT CONTACT SURFACE OF GLASS WITH PRIMER "G" 
    1. Using a brush or sponge, coat the edge of the glass and the contact surface with Primer G.
    2. If the primer is accidentally coated to the area not specified, wipe it off with a clean shop rag before the primer dries.
    NOTE:
    • Let the primer coating dry for 3 minutes or more.
    • Do not keep the remaining Primer G for later use.
    Fig 8: Coating Contact Surface Of Glass With Primer "G"
    G02994352Courtesy of © TOYOTA, LICENSE AGREEMENT TMS1002
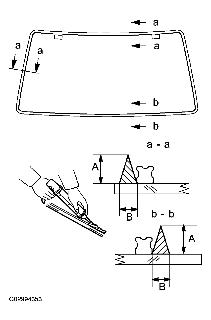
  9. APPLY ADHESIVE 
    1. Cut off the tip of the cartridge nozzle.

      Part No. 08850-00801 or equivalent. 

      HINT:

      After cutting off the tip, use all adhesive within the time described in the table below.

      TEMPERATURE TACKFREE TIME

      Temperature Tackfree time
      35 °C (95 °F) 15 minutes
      20 °C (68 °F) 100 minutes
      5 °C (41 °F) 8 hours
    2. Load the cartridge into the sealer gun.
    3. Coat the glass with adhesive as shown.

      A: 12.0 mm (0.472 in.) 

      B: 8.0 mm (0.315 in.) 

    Fig 9: Applying Adhesive
    G02994353Courtesy of © TOYOTA, LICENSE AGREEMENT TMS1002
  10. INSTALL WINDSHIELD GLASS 
    1. Position the glass so that the reference marks are lined up and press in gently along the rim.
    2. Using a spatula, apply adhesive on the glass rim.
      Fig 10: Positioning Windshield Glass
      G02994354Courtesy of © TOYOTA, LICENSE AGREEMENT TMS1002
    3. Use a scraper to remove any excess or protruding adhesive.
      Fig 11: Removing Adhesive
      G02994355Courtesy of © TOYOTA, LICENSE AGREEMENT TMS1002

      HINT:

      Make sure that the dam is attached to the body panel, as shown in the illustration.

    4. Hold the windshield glass in place securely with a protective tape or equivalent until the adhesive hardens.
    Fig 12: Identifying Dam Attached To Body Panel
    G02994356Courtesy of © TOYOTA, LICENSE AGREEMENT TMS1002
    NOTE: Take care not to drive the vehicle with in the time described in the table below.
    TEMPERATURE MINIMUM TIME PRIOR TO DRIVING VEHICLE

    Temperature Minimum time prior to driving the vehicle
    35 °C (95 °F) 1.5 hours
    20 °C (68 °F) 5 hours
    5 °C (41 °F) 24 hours
  11. INSPECT FOR LEAK AND REPAIR 
    1. Conduct a leak test after the hardening time elapsed.
    2. Seal any leak with sealant.

      Part No. 08833-00030 or equivalent. 

  12. APPLY ADHESIVE TO MOLDING INSTALLATION AREA 

    Apply adhesive to the molding installation area between the glass and the body.

    Part No. 08833-00030 or equivalent. 

    Fig 13: Applying Adhesive To Molding Installation Area
    G02994357Courtesy of © TOYOTA, LICENSE AGREEMENT TMS1002
  13. INSTALL UPPER OUTSIDE MOLDING 

    Place a new molding onto the body and tap it by hand.

    Fig 14: Installing Upper Outside Molding
    G02994358Courtesy of © TOYOTA, LICENSE AGREEMENT TMS1002
  14. INSTALL OUTSIDE NO. 2 MOLDING 
    1. Using an air riveter with nose piece No. 4, install 4 new rivets and the outside No. 2 molding.

      HINT:

      Before using the air riveter with nose piece No. 4, cut 5 mm (0.20 in.) at the edge of nose piece No. 4.

      Fig 15: Installing Outside No. 2 Molding
      G02994359Courtesy of © TOYOTA, LICENSE AGREEMENT TMS1002
      NOTE:
      • Do not prize a riveter. It could damage the riveter and cause loose fitting and mandrel bend.
        Fig 16: Caution Do Not Prize Riveter
        G02994360Courtesy of © TOYOTA, LICENSE AGREEMENT TMS1002
      • Do not tilt the riveter when fasten the rivet to the material to avoid loose fitting.
      • Do not allow gap spacing between the rivet head and the material.
        Fig 17: Caution Do Not Tilt Riveter
        G02994361Courtesy of © TOYOTA, LICENSE AGREEMENT TMS1002
      • Do not allow gap spacing between the materials.
        Fig 18: Do Not Allow Gap Spacing Between Rivet Head And Material
        G02994362Courtesy of © TOYOTA, LICENSE AGREEMENT TMS1002
    2. Use the same manner described above to the other side.
  15. INSTALL COWL TOP VENTILATOR LOUVERS 
    1. Install the cowl top ventilator louver LH.
    2. Install the cowl top ventilator louver RH.
  16. INSTALL HOOD TO COWL TOP SEAL 
  17. INSTALL WIPER ARMS 
    1. Operate the wiper motor once and turn the wiper switch OFF.
    2. Install the wiper arms and tighten the nuts by hand.
    3. Adjust the installation positions of the wiper arms to the positions as shown in the illustration.

      A: Approx. 30 mm (1.18 in.) 

      B: Approx. 21 mm (0.83 in.) 

    4. Fig 19: Adjusting Installation Positions Of Wiper Arms
      G02994363Courtesy of © TOYOTA, LICENSE AGREEMENT TMS1002
    5. Torque the nuts.

      Torque: 20 N.m (204 kgf.cm, 15 ft.lbf) 

    6. Install the 2 wiper arm head caps.
  18. INSTALL RAIN SENSOR 
    1. If reusing the rain sensor:

      Install the new rain sensor tape.

      1. Remove the used rain sensor tape from the windshield glass or rain sensor.
      2. Stick new rain sensor tape on the lens surface 75 of the rain sensor indicated by the hatched line.

      A: 10 mm (0.39 in.) 

      Fig 20: Installing Rain Sensor Tape
      G02994364Courtesy of © TOYOTA, LICENSE AGREEMENT TMS1002
      NOTE:
      • Make sure that no dust nor fingerprint is not on the sheet surface.
      • Stick the sheet so as not come out from the placing face.
    2. Install the rain sensor.
      NOTE:
      • If reusing the windshield:

        Check that the no rain sensor tape remains on the windshield after removing the rain sensor. In case the tape remains, remove completely.

      • Clean the glass surface with a cloth, etc.
      1. Peel the separation paper of the rain sensor tape.
      2. Connect the connector and the rain sensor with screw.
        Fig 21: Connecting Connector And Rain Sensor
        G02994365Courtesy of © TOYOTA, LICENSE AGREEMENT TMS1002
      3. Push the stopper.
      4. Fig 22: Locking Rain Sensor
        G02994366Courtesy of © TOYOTA, LICENSE AGREEMENT TMS1002

    HINT:

    Install the rain sensor harness as it go through a hollow on the roof headlining.

  19. w/Night View: 

    INSTALL NIGHT VIEW CAMERA 

    1. Install the night view camera by sliding it downward along the front glass, and then tighten the screw.
      Fig 23: Installing Night View Camera (W/Night View)
      G02994367Courtesy of © TOYOTA, LICENSE AGREEMENT TMS1002
      NOTE: Install the night view camera assembly as shown on the illustration.
      Fig 24: Night View Camera Cable Routing
      G02994368Courtesy of © TOYOTA, LICENSE AGREEMENT TMS1002
    2. Connect the connector.
    3. The adjustment of night view camera, (See ADJUSTMENT ).
    4. Install the night view cover and the nut.
    NOTE: Do not pinch the night view harness and the rain sensor harness in the night view cover. Let them through a hole on the side of the night view cover.
    Fig 25: Installing Night View Cover
    G02994369Courtesy of © TOYOTA, LICENSE AGREEMENT TMS1002
  20. INSTALL INNER REAR VIEW MIRROR 
    1. Install the inner rear view mirror with the 2 screw.
    2. Connect the connector.
    Fig 26: Installing Inner Rear View Mirror
    G02994370Courtesy of © TOYOTA, LICENSE AGREEMENT TMS1002
  21. INSTALL FRONT PART OF ROOF HEADLINING 
  22. INSTALL OVERHEAD CONSOLE BOX 
    1. Connect the connector and the overhead console box.
    2. Install the overhead console box with the bolt.
    Fig 27: Installing Overhead Console Box
    G02994371Courtesy of © TOYOTA, LICENSE AGREEMENT TMS1002
  23. w/ LEXUS Link System: 

    INSTALL OVERHEAD CONSOLE BOX 

    1. Connect the connector and the overhead console box.
    2. Install the overhead console box with bolt.
    Fig 28: Installing Overhead Console Box (W/Lexus Link System)
    G02994372Courtesy of © TOYOTA, LICENSE AGREEMENT TMS1002
  24. INSTALL HOLDERS 

    Install the 2 holders with the 2 screws.

  25. INSTALL DOUBLE VISORS 

    Install the 2 double visors with the 4 screws.

  26. INSTALL SUN VISORS 
    1. Install the 2 sun visors with the 4 screws, then connect the connectors.
    2. Install the 2 caps.
  27. INSTALL FRONT DOOR OPENING TRIMS 
  28. INSTALL FRONT PILLAR GARNISH 
    1. Install the front pillar garnish.
    2. Use the same manner described above to the other side.
    Fig 29: Installing Front Pillar Garnish
    G02994373Courtesy of © TOYOTA, LICENSE AGREEMENT TMS1002
  29. INSTALL ASSIST GRIPS 
    1. Install the 2 assist grips with the 4 screws, then install the 4 assist grip plugs.
    2. Use the same manner described above to the other side.