LEMON Manuals: Even more car manuals for everyone: 1960-2025
Home >> Lexus >> 2005 >> RX 330 AWD V6-3.3L (3MZ-FE) >> Repair and Diagnosis >> Powertrain Management >> Computers and Control Systems >> Knock Sensor >> Service and Repair
April 5, 2026: LEMON Manuals is launched! Read the announcement.

Knock Sensor: Service and Repair

REPLACEMENT

1. DISCHARGE FUEL SYSTEM PRESSURE
2. DRAIN ENGINE COOLANT
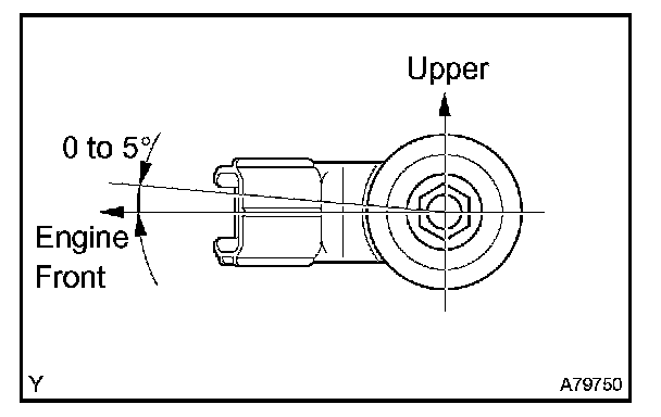
3. REMOVE FR WIPER ARM LH
4. REMOVE FR WIPER ARM RH
5. REMOVE FRONT FENDER TO COWL SIDE SEAL LH
6. REMOVE FRONT FENDER TO COWL SIDE SEAL RH
7. REMOVE COWL TOP VENTILATOR LOUVER SUB-ASSY
8. REMOVE WINDSHIELD WIPER LINK ASSY
9. REMOVE COWL TOP PANEL SUB-ASSY OUTER
10. REMOVE V-BANK COVER SUB-ASSY
11. REMOVE AIR CLEANER CAP SUB-ASSY
12. REMOVE EMISSION CONTROL VALVE SET
13. REMOVE INTAKE AIR SURGE TANK

14. REMOVE INTAKE MANIFOLD




a. Disconnect the fuel pipe No. 1.
1. Remove the EFI fuel pipe clamp.
2. Pinch the tube connector and then pull out the fuel pipe No. 1.






NOTE:
- Check if there is any dirt or mud around the connector before this operation and remove the dirt as necessary.
- Be careful of mud because the quick connector has an O-ring which seals the pipe and connector that can be contaminated.
- Do not use any tool in this operation.
- Do not bend or twist the nylon tube. Protect the connector by covering it with a vinyl or plastic bag.
- When the pipe and the connector are stuck, push and pull the connector to release and pull the connector out carefully.




b. Lock the hose clamp as shown in the illustration.
c. Disconnect the heater inlet water hose.




d. Remove the nut and disconnect the ground cable.
e. Disconnect the 6 fuel injector connectors.




f. In order to remove the intake manifold, using several steps, remove the 9 bolts and 2 nuts in the sequence shown in the illustration.

15. REMOVE ENGINE MOVING CONTROL ROD

16. REMOVE WATER OUTLET




a. Disconnect the radiator hose inlet.




b. Disconnect the engine coolant temperature sensor connector.
c. Remove the clamp.
d. Remove the 2 bolts, 2 nuts and 2 washers.
e. Lock the hose clamp as shown in the illustration and remove the water outlet together with water by-pass hose No. 1.
f. Remove the 2 gaskets from the 2 cylinder heads.




17. REMOVE KNOCK SENSOR
a. Disconnect the 2 knock sensor connectors.
b. Remove the 2 nuts, and then remove the 2 knock sensors.




18. INSTALL KNOCK SENSOR
a. Install the 2 knock sensors with the 2 nuts as shown in the illustration.

Torque: 20 N.m (199 kgf.cm, 14 ft.lbf)

b. Connect the 2 knock sensor connectors.

19. INSTALL WATER OUTLET
a. Install 2 new gaskets to the 2 cylinder heads.
b. Install the water outlet together with water by-pass hose No. 1 and unlock the hose clamp.
c. Tighten the 2 bolts, 2 nuts and 2 washers.

Torque: 15 N.m (153 kgf.cm, 11 ft.lbf)

d. Install the clamp.
e. Connect the engine coolant temperature sensor connector.
f. Connect the radiator hose inlet.

20. INSTALL ENGINE MOVING CONTROL ROD




21. INSTALL INTAKE MANIFOLD
a. Install the intake manifold with the 9 bolts, 2 nuts and 2 washers. Using several steps, tighten the bolts and nuts uniformly in the sequence shown in the illustration.

Torque: 15 N.m (153 kgf.cm, 11 ft.lbf)

b. Retighten the water outlet mounting bolts and nuts.

Torque: 15 N.m (153 kgf.cm, 11 ft.lbf)

c. Install the ground cable with the nut.

Torque: 8.4 N.m (86 kgf.cm, 74 in.lbf)

d. Connect the heater inlet water hose.




e. Connect the fuel pipe No. 1.
1. Push in the quick connector to the pipe until it makes "click" sound.

NOTE:
- Check if there is any damage or foreign objects on the connected part.
- After connecting, check if the connector and pipe are securely connected by pulling them.

2. Install the EFI fuel pipe clamp.

22. INSTALL INTAKE AIR SURGE TANK
23. INSTALL EMISSION CONTROL VALVE SET
24. INSTALL AIR CLEANER CAP SUB-ASSY
25. CHECK CONNECTION OF VACUUM HOSE
26. ADD ENGINE COOLANT
27. CHECK FOR ENGINE COOLANT LEAKS
28. CHECK FOR FUEL LEAKS
29. INSTALL V-BANK COVER SUB-ASSY
30. INSTALL COWL TOP PANEL SUB-ASSY OUTER
31. INSTALL WINDSHIELD WIPER LINK ASSY
32. INSTALL COWL TOP VENTILATOR LOUVER SUB-ASSY
33. INSTALL FRONT FENDER TO COWL SIDE SEAL RH
34. INSTALL FRONT FENDER TO COWL SIDE SEAL LH
35. INSTALL FR WIPER ARM RH
36. INSTALL FR WIPER ARM LH