LEMON Manuals: Even more car manuals for everyone: 1960-2025
Home >> Lexus >> 2005 >> RX 330 FWD >> Repair and Diagnosis >> Electrical >> Gauges >> Instrument Panel/Meter >> Rear Console Panel Upper >> Replacement
April 5, 2026: LEMON Manuals is launched! Read the announcement.

Rear Console Panel Upper: Replacement

HINT:

COMPONENTS: See REAR CONSOLE PANEL UPPER 

  1. REMOVE CONSOLE BOX HOLE COVER 
    1. Slide the front seat assy RH and LH forward.
    2. Slide the console box assy fully to the back end and remove the console box hole cover.
      Fig 1: Removing Console Box Hole Cover
      G03011692Courtesy of © TOYOTA, LICENSE AGREEMENT TMS1002
  2. REMOVE CONSOLE BOX HOLE COVER NO.2 
  3. REMOVE CONSOLE BOX ASSY 
    1. Separate the console box lock control cable assy from the console box assy.
      Fig 2: Separating Console Box Lock Control Cable Assy From Console Box Assy
      G03011693Courtesy of © TOYOTA, LICENSE AGREEMENT TMS1002
    2. Keeping the console box assy pulled in the rear direction of the vehicle, remove the 6 bolts from the left and right sides.
      Fig 3: Removing Bolts From Left And Right Sides
      G03011694Courtesy of © TOYOTA, LICENSE AGREEMENT TMS1002
    3. Disconnect each clamp and the connector.
      Fig 4: Disconnecting Clamp And Connector
      G03011695Courtesy of © TOYOTA, LICENSE AGREEMENT TMS1002
    4. Remove the console box assy.
  4. REMOVE CONSOLE BOX CUP HOLDER 
    1. Remove the console box cup holder.
  5. REMOVE BOX SIDE PANEL NO.1 
    1. Disengage the 8 claws, and remove the box side panel No. 1.
      Fig 5: Removing Box Side Panel No. 1
      G03011696Courtesy of © TOYOTA, LICENSE AGREEMENT TMS1002
  6. REMOVE REAR CONSOLE BOX LOWER 
    1. Remove the 6 screws.
    2. Disengage the 4 clips and the claw, and remove the RR console box lower.
      Fig 6: Removing Rear Console Box Lower
      G03011697Courtesy of © TOYOTA, LICENSE AGREEMENT TMS1002
  7. REMOVE CONSOLE BOX LAMP SUB-ASSY 
    1. Disconnect each of the clamp and the connectors.
    2. Remove the console box lamp sub-assy.
      Fig 7: Disconnecting Of Clamp And Connectors
      G03011698Courtesy of © TOYOTA, LICENSE AGREEMENT TMS1002
  8. REMOVE REAR CONSOLE BOX HOLDER CUP 
    1. Remove the 5 screws and the rear console box cup holder.
      Fig 8: Removing Rear Console Box Cup Holder Cup
      G03011699Courtesy of © TOYOTA, LICENSE AGREEMENT TMS1002
  9. REMOVE CONSOLE UPPER PANEL GARNISH FRONT 
    1. Remove the 4 screws and the console upper panel garnish front.
      Fig 9: Removing Screws Console Upper Panel Garnish Front
      G03011700Courtesy of © TOYOTA, LICENSE AGREEMENT TMS1002
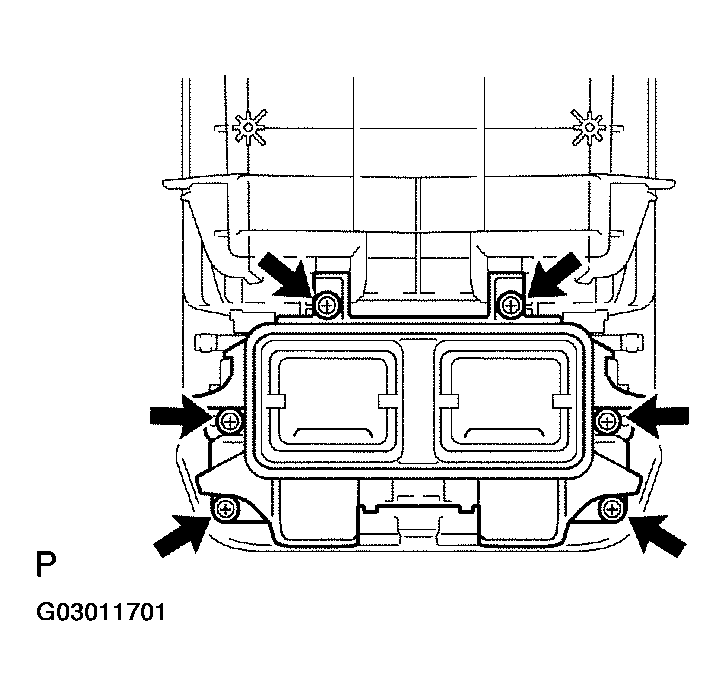
  10. REMOVE CONSOLE BOX REGISTER ASSY 
    1. Remove the 6 screws and the console box register assy.
      Fig 10: Removing Screws And Console Box Register Assy
      G03011701Courtesy of © TOYOTA, LICENSE AGREEMENT TMS1002
  11. REMOVE CONSOLE BOX SUB-ASSY UPPER 
    1. Remove the 4 screws.
      Fig 11: Removing Console Box Sub-Assy Upper 4 Screws
      G03011702Courtesy of © TOYOTA, LICENSE AGREEMENT TMS1002
    2. Remove the 2 screws.
      Fig 12: Removing Console Box Sub-Assy Upper 2 Screws
      G03011703Courtesy of © TOYOTA, LICENSE AGREEMENT TMS1002
    3. Disengage the 2 claws.
      Fig 13: Disengaging Claws
      G03011704Courtesy of © TOYOTA, LICENSE AGREEMENT TMS1002
    4. Disengage the 2 claws, and remove the console box sub-assy upper.
      Fig 14: Removing Console Box Sub-Assy Upper
      G03011705Courtesy of © TOYOTA, LICENSE AGREEMENT TMS1002
  12. REMOVE CONSOLE COMPARTMENT DOOR LOCK LEVER 
    1. Remove the 2 screws and the console compartment door lock lever.
      Fig 15: Removing Screws And Console Compartment Door Lock Lever
      G03011706Courtesy of © TOYOTA, LICENSE AGREEMENT TMS1002
  13. REMOVE CONSOLE UPPER PANEL GARNISH REAR 
    1. Remove the 3 screws and the console upper panel garnish rear.
      Fig 16: Removing Console Upper Panel Garnish Rear
      G03011707Courtesy of © TOYOTA, LICENSE AGREEMENT TMS1002
  14. REMOVE REAR CONSOLE PANEL UPPER