LEMON Manuals: Even more car manuals for everyone: 1960-2025
Home >> Lexus >> 2005 >> SC 430 V8-4.3L (3UZ-FE) >> Repair and Diagnosis >> Specifications >> Mechanical Specifications >> Engine >> Cylinder Block Assembly >> System Specifications >> Service Data
April 5, 2026: LEMON Manuals is launched! Read the announcement.

Service Data





Cylinder Block Warpage
Maximum warpage 0.07 mm (0.0028 inch)





Cylinder Bore
Using a cylinder gauge, measure the cylinder bore diameter at positions A and B in the thrust and axial directions.





Standard diameter

Mark 1 91.000 to 91.008 mm (3.5827 to 3.5830 inch)
Mark 2 91.008 to 91.021 mm (3.5830 to 3.5835 inch)
Mark 3 91.021 to 91.029 mm (3.5835 to 3.5838 inch)
Maximum diameter 91.149 mm (3.5885 inch)





Piston diameter
Using a micrometer, measure the piston diameter at right angles to the piston pin center line, 28.1 mm (1.106 inch) from the piston head.

Piston Oil Clearance
Subtract the piston diameter measurement from the cylinder bore diameter measurement.
Standard oil clearance 0.060 to 0.101 mm (0.0023 to 0.0040 inch)
Maximum oil clearance 0.121 mm (0.0048 inch)





Ring groove clearance





Piston Ring End Gap
Using a piston, push the piston ring a little beyond the bottom of the ring travel 105 mm (4.13 inch) from the top of the cylinder block.





Standard end gap





Maximum end gap





Piston Pin Oil Clearance
Bushing inside diameter 22.005 to 22.014 mm (0.8663 to 0.8667 inch)
Subtract the piston pin diameter measurement (see step 10) from the bush inside diameter measurement.
Standard oil clearance 0.005 to 0.011 mm (0.0002 to 0.0004 inch)
Maximum oil clearance 0.05 mm (0.0020 inch)





At 60°C (140°F), check that the piston pin can be pushed into the piston pin hole with your thumb.





Piston pin diameter 21.997 to 22.006 mm (0.8660 to 0.8664 inch)

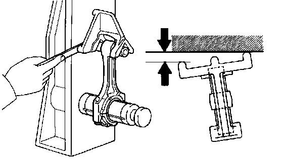
Connecting Rod Sub-Assembly





Maximum bend 0.05 mm (0.0020 inch) per 100 mm (3.94 inch)





Maximum twist 0.15 mm (0.0059 inch) per 100 mm (3.94 inch)

Connecting Rod Bolt
Standard diameter 7.200 to 7.300 mm (0.2835 to 0.2874 inch)
Minimum diameter 7.00 mm (0.2756 inch)

Crankshaft
Maximum circle runout 0.08 mm (0.0031 inch)





Main journal diameter 66.988 to 67.000 mm (2.6373 to 2.6378 inch)
Crank pin diameter 51.982 to 52.000 mm (2.0465 to 2.0472 inch)
Maximum taper and out-of-round 0.02 mm (0.0008 inch)

Crankshaft Bearing Cap Set Bolt
Standard diameter 7.500 to 7.600 mm (0.2953 to 0.2992 inch)
Minimum diameter 7.20 mm (0.2835 inch)

Crankshaft Thrust Clearance
Standard thrust clearance 0.020 to 0.220 mm (0.0008 to 0.0087 inch)
Maximum thrust clearance 0.30 mm (0.0118 inch)
Thrust washer thickness 2.440 to 2.490 mm (0.0961 to 0.0980 inch)

Connecting Rod Oil Clearance
Standard oil clearance 0.021 to 0.047 mm (0.0008 to 0.0019 inch)
Maximum oil clearance 0.065 mm (0.0026 inch)m