LEMON Manuals: Even more car manuals for everyone: 1960-2025
Home >> Lexus >> 2005 >> SC 430 >> Repair and Diagnosis >> Accessories & Equipment >> Communication Devices >> Multiplex Communication System - Diagnostics >> System Description >> Construction And Operation System Description
April 5, 2026: LEMON Manuals is launched! Read the announcement.

Construction And Operation System Description

  1. GENERAL 

    The vehicle ECUs on the BEAN on the control the systems described below.

    Fig 1: Construction & Operation System Description General Table (1 Of 2)
    G02957471Courtesy of © TOYOTA, LICENSE AGREEMENT TMS1002
    Fig 2: Construction & Operation System Description General Table (2 Of 2)
    G02957472Courtesy of © TOYOTA, LICENSE AGREEMENT TMS1002
  2. GATEWAY ECU 
    • The network gateway ECU'S function to relay the signals that are exchanged among the buses (Door Bus, Instrument Panel Bus, and Light Bus), the AVC-LAN, and the diagnosis system. It carries out an integrated management of these communication functions.
    • If a malfunction occurs in BEAN communication, DTCs (Diagnostic Trouble Codes) are stored in its memory.
      Fig 3: Gateway ECU Networking Wiring Diagram
      G02957473Courtesy of © TOYOTA, LICENSE AGREEMENT TMS1002
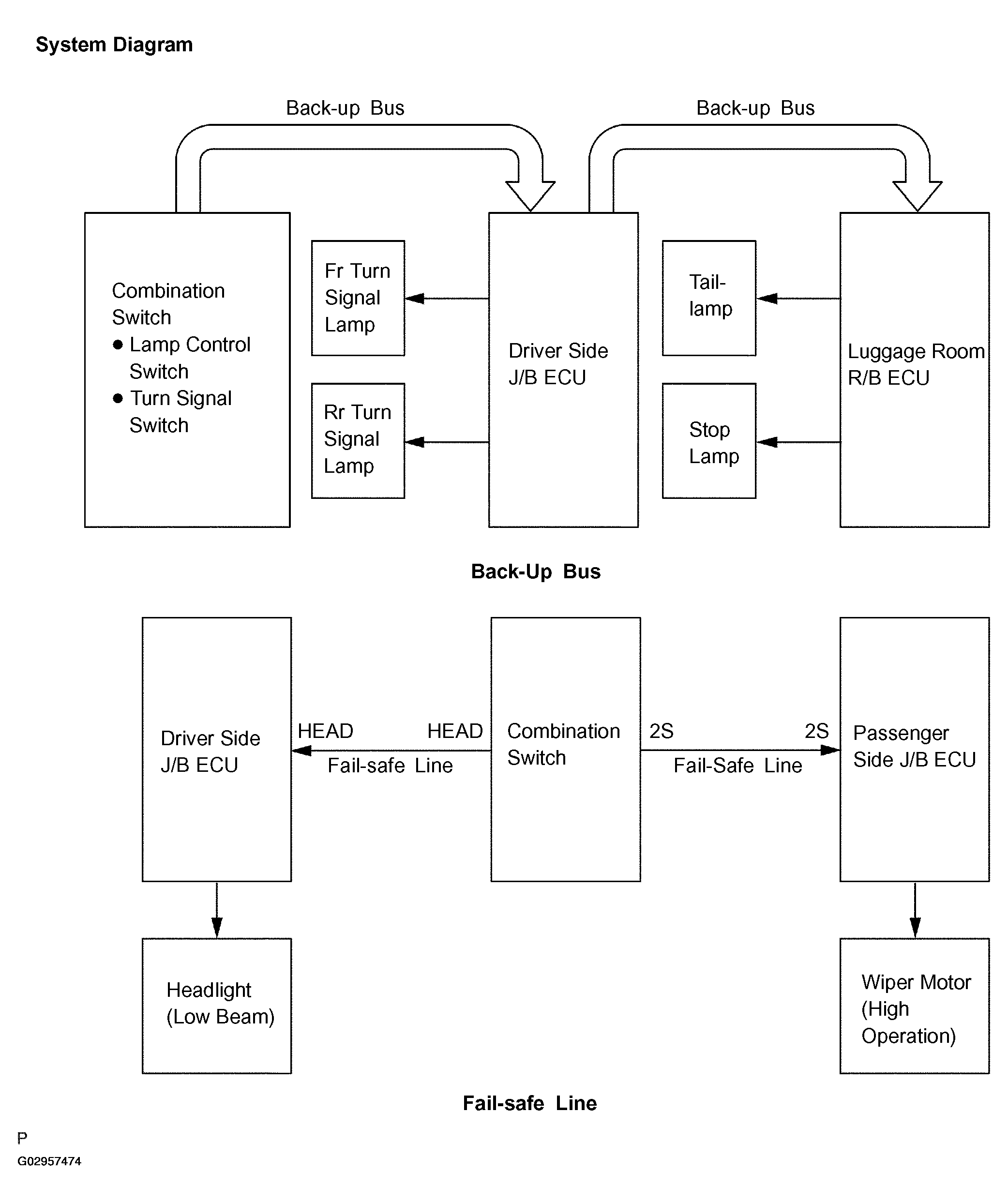
  3. FAIL-SAFE 
    • Even if a malfunction occurs in another bus or in the network gateway ECU, the basis controls within the same bus will still function.
    • Because the communication line of the BEAN forms a loop, communication remains intact even if an open circuit occurs in one area.
    • To protect lighting operations when a malfunction disrupts communication, a back-up bus is provided.
    • To ensure low-beam headlight and wiper HI operations, a fail-safe line is provided.
      Fig 4: Fail-Safe System Diagram
      G02957474Courtesy of © TOYOTA, LICENSE AGREEMENT TMS1002
  4. SELF-DIAGNOSIS 
    • If a malfunction occurs in the BEAN communication, the network gateway ECU stores DTCs in its memory.
    • The DTCs can be read by connecting a hand-held tester to the DLC3.
    • The Active Test can be performed and the Data List can be monitored by connecting a hand-held tester to the DLC3 and establishing communication with the network gateway ECU.