LEMON Manuals: Even more car manuals for everyone: 1960-2025
Home >> Lexus >> 2006 >> ES 330 >> Repair and Diagnosis >> Body & Frame >> Windows >> Windshield/WINDOWGLASS/Mirror >> Windshield Glass >> Replacement
April 5, 2026: LEMON Manuals is launched! Read the announcement.

Windshield Glass: Replacement

HINT:

Installation is according to the reverse order of the removal.

  1. REMOVE FR WIPER ARM RH 

    (See  REPLACEMENT  ) 

  2. REMOVE FR WIPER ARM LH 

    (See  REPLACEMENT  ) 

  3. REMOVE COWL TOP VENTILATOR LOUVER RH 

    (See  REPLACEMENT  ) 

  4. REMOVE FRONT DOOR OPENING TRIM WEATHERSTRIP RH 
  5. REMOVE FRONT DOOR OPENING TRIM WEATHERSTRIP LH 
  6. REMOVE FRONT PILLAR GARNISH RH 

    (See  REPLACEMENT  ) 

  7. REMOVE FRONT PILLAR GARNISH LH 

    (See  REPLACEMENT  ) 

  8. REMOVE ASSIST GRIP SUB-ASSY 

    (See  REPLACEMENT  ) 

  9. REMOVE RH VISOR ASSY 

    (See  REPLACEMENT  ) 

  10. REMOVE LH VISOR ASSY 

    (See  REPLACEMENT  ) 

  11. REMOVE ROOF CONSOLE BOX ASSY 

    (See  REPLACEMENT  ) 

  12. REMOVE VISOR HOLDER RH 

    (See  REPLACEMENT  ) 

  13. REMOVE VISOR HOLDER LH 

    (See  REPLACEMENT  ) 

  14. REMOVE VANITY LAMP ASSY 

    (See  REPLACEMENT  ) 

  15. REMOVE INNER REAR VIEW MIRROR ASSY 

    (See  INNER REAR VIEW MIRROR ASSY   ) 

  16. REMOVE RAIN SENSOR (W/ RAIN SENSOR) 

    (See  RAIN SENSOR  ) 

  17. REMOVE ROOF HEADLINING ASSY 

    (See  REPLACEMENT  ) 

  18. REMOVE WINDSHIELD MOULDING OUTER UPPER 
    1. Using a knife, cut off the moulding as shown in the illustration.
      NOTE: Do not damage the body with the knife.
    2. Remove the remaining moulding.

    HINT:

    When removing, make a cut partly, pull and remove it by hand. 

    Fig 1: Cutting Off Moulding Using Knife
    G02936234Courtesy of © TOYOTA, LICENSE AGREEMENT TMS1002
  19. REMOVE WINDSHIELD GLASS 

    HINT:

    There is a case where a 1 -piece type and a 2-piece type of stoppers are installed in a vehicle type.

    1. Push a piano wire through between the body and glass from the interior.
    2. Apply protective tape to the outer surface to keep the surface from being scratched.
      Fig 2: Locating Windshield Glass
      G02936235Courtesy of © TOYOTA, LICENSE AGREEMENT TMS1002
    3. Tie both wire ends to wooden blocks or similar objects.
      NOTE:
      • When working around the curtain shield airbag, be careful not to damage the airbag.
      • When separating the glass, take care not to damage the paint and interior/exterior ornaments.
      • To prevent the piano wire to be cut, do not cross it.
    4. Cut the adhesive by pulling the piano wire around it.
    5. Using a suction rubber, remove the glass.
    NOTE: Leave as much adhesive on the body as possible when cutting off the glass.
    Fig 3: Cutting Adhesive By Pulling Piano Wire
    G02936236Courtesy of © TOYOTA, LICENSE AGREEMENT TMS1002
  20. CLEAN WINDSHIELD GLASS 
    1. Using a scraper, remove the damaged stoppers, dam and adhesive sticking to the glass.
    2. Clean the outer circumference of the glass with white gasoline.
    NOTE:
    • Do not touch the glass after cleaning it.
    • Be careful not to damage the body.
    Fig 4: Cleaning Wind Shield Glass
    G02936237Courtesy of © TOYOTA, LICENSE AGREEMENT TMS1002
  21. INSTALL WINDSHIELD GLASS STOPPER NO.1 
    1. Install 2 new windshield glass stoppers No.1 to the body.
  22. INSTALL WINDSHIELD GLASS STOPPER NO.2 
    1. Coat the installation part of the stopper with Primer G.
      Fig 5: Locating Windshield Glass Stopper No. 2
      G02936238Courtesy of © TOYOTA, LICENSE AGREEMENT TMS1002
      NOTE:
      • Dry the primer coating for 3 minutes or more.
      • Do not apply too much primer.
    2. Install 2 new windshield glass stoppers No.2 onto the glass as shown in the illustration.
    1. A: 7.7 mm (0.303 in.) 
    2. B:40.0 mm (1.575 in.) 
  23. INSTALL WINDSHIELD GLASS RETAINER 
    Fig 6: Locating Windshield Glass Retainer
    G02936239Courtesy of © TOYOTA, LICENSE AGREEMENT TMS1002
    1. Install 2 new windshield glass retainers onto the glass as shown in the illustration.
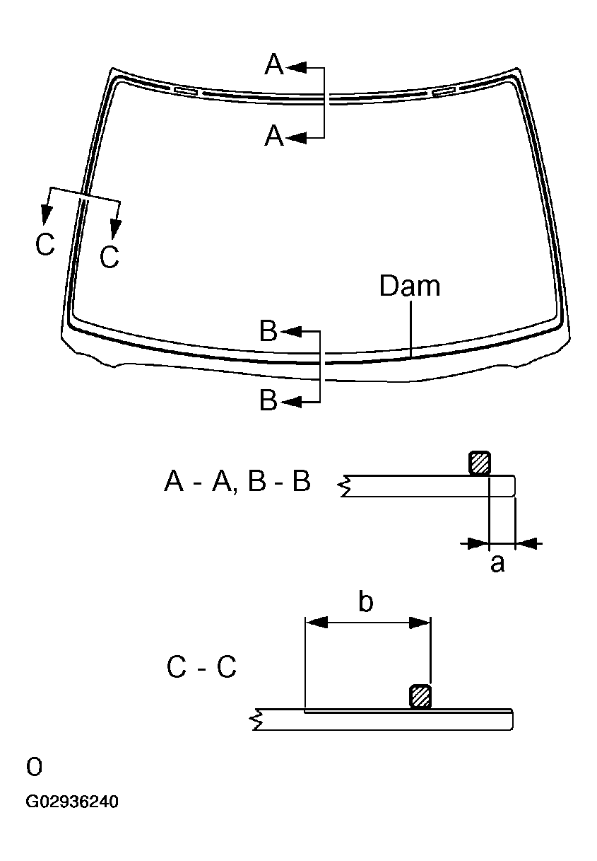
  24. INSTALL WINDOW GLASS ADHESIVE DAM 
    1. Coat the installation part of the window glass adhesive dam with Primer G.
      NOTE:
      • Dry the primer coating for 3 minutes or more.
      • Do not apply too much primer.
    2. Install a new window glass adhesive dam as shown in the illustration.
      1. a: 7 mm (0.28 in.) 
      2. b: 35 mm (1.38 in.) 
      Fig 7: Installing New Window Glass
      G02936240Courtesy of © TOYOTA, LICENSE AGREEMENT TMS1002
  25. INSTALL WINDSHIELD GLASS 
    1. Clean and shape the contact surface of the vehicles body
      1. Using a knife, cut away any rough areas of the body.

        HINT:

        Leave as much adhesive on the body as possible.

      2. Clean the cut surface of the adhesive with a piece of shop rag saturated in cleaner.
      Fig 8: Locating Stoppers
      G02936241Courtesy of © TOYOTA, LICENSE AGREEMENT TMS1002
    2. Position the glass.
      1. Using a suction rubber, place the glass in the correct position.
      2. Check that all the contacting parts of the glass rim are perfectly even.
      3. Place reference marks between the glass and body.
        NOTE: Check that the stoppers are attached to the body correctly.

        HINT:

        When reusing the glass, check and correct the reference mark's positions.

      4. Remove the glass.
    3. Coat the contact surface of the back door with Primer M.
    4. Using a brush, coat the exposed part of the contact surface on the vehicle side with Primer M.
      NOTE:
      • Dry the primer coating for 3 minutes or more.
      • Do not coat the adhesive with Primer M.
      • Do not apply too much Primer.
    5. Coat the contact surface of the glass with Primer G.
      1. Using a brush or sponge, coat the edge of the glass and the contact surface with Primer G.
        NOTE:
        • Dry the primer coating for 3 minutes or more.
        • Do not apply too much primer.
    6. Apply adhesive. 
      1. Cut off the tip of the cartridge nozzle as shown in the illustration.
        1. Part No. 08850-00801 or equivalent HINT: 

        HINT:

        After cutting off the tip, use all adhesive within the time described in the table below.

        TEMPERATURE & TIME DESCRIBED

        Temperature Tackfree time
        35°C (95°F) 15 minutes
        20°C (68°F) 100 minutes
        5°C (41°F) 8 hours
      2. Load the sealer gun with the cartridge.
      3. Coat the glass with adhesive, as shown in the illustration.
      1. a: 8 mm (0.31 in.) 
      2. b: 12 mm (0.47 in.) 
      Fig 9: Applying Adhesive
      G02936242Courtesy of © TOYOTA, LICENSE AGREEMENT TMS1002
    7. Install the glass.
      1. Using a suction rubber, position the glass so that the reference marks are alined, and press it in gently along the rim.
        NOTE:
        • Dry the primer coating for 3 minutes or more.
        • Check that the stoppers are attached to the body correctly.
        • Check the clearance between the body and glass.
      2. Lightly press the glass front surface for close contact.
      3. Using a scraper remove any excess or protruding adhesive.

    HINT:

    Apply adhesive on the glass rim.

  26. INSTALL WINDSHIELD MOULDING OUTER UPPER 
    1. Install a new windshield moulding to the windshield glass before the adhesive has hardened.
    2. Hold the windshield glass in place securely with protective tape or equivalent until the adhesive has completely hardened.
    3. Using a scraper, remove any excess or protruding adhesive before the adhesive has hardened.
    NOTE: Take care not to drive the vehicle during the time described in the table below.
    TEMPERATURE AND TIME DESCRIBED

    Temperature Tackfree time
    35°C (95°F) 1.5 hours
    20°C (68°F) 5 hours
    5°C (41°F) 24 hours
  27. INSTALL RAIN SENSOR (W RAIN SENSOR) 
    1. If reusing the rain sensor: Install the new rain sensor tape.
      1. Remove the used rain sensor tape from the windshield glass or rain sensor.
      2. Stick the new rain sensor tape on the lens surface of the rain sensor indicated by the hatched line.
      NOTE:
      • Make sure that no dust nor fingerprint is not on the sheet surface.
      • Stick the sheet so as not come out from the placing face.
    2. Install the rain sensor.
      Fig 10: Locating Rain Sensor
      G02936243Courtesy of © TOYOTA, LICENSE AGREEMENT TMS1002
      NOTE:
      • If reusing the windshield:

        Check that the no rain sensor tape remains on the windshield after removing the rain sensor. In case the tape remains, remove the tape.

      • Clean the glass face with a cloth, etc.
  28. WATER-LEAK CHECK AND REPAIR 
    1. Conduct a leak test after the adhesive has completely hardened.
    2. Seal any leak with sealant.