LEMON Manuals: Even more car manuals for everyone: 1960-2025
Home >> Lexus >> 2006 >> GS 300 AWD >> Repair and Diagnosis >> Engine Performance >> System >> Engine Control System (3GR-FSE) - System And Circuit Testing, On-Vehicle Inspection, Removal, Inspection And Installation >> Knock Sensor >> Installation
April 5, 2026: LEMON Manuals is launched! Read the announcement.

Knock Sensor: Installation

  1. INSTALL KNOCK SENSOR 
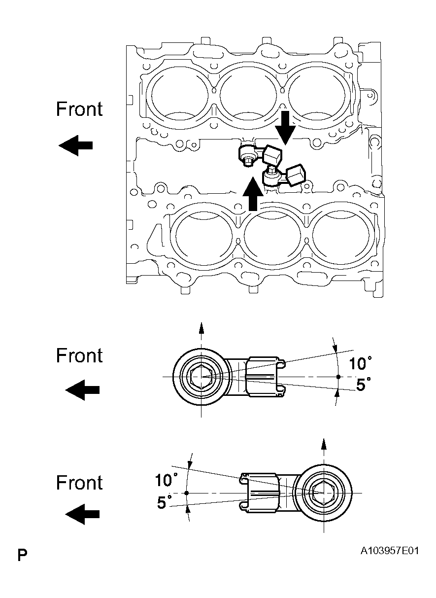
    1. Install the 2 knock sensors so that they are horizontal as shown in the illustration. Then install the 2 bolts.

      Torque: 20 N*m (204 kgf*cm, 15 ft.*lbf) 

      HINT:

      It is acceptable for the sensor to be titled +10° to - 5°.

    2. Connect the 2 sensor connectors.
  2. INSTALL FUEL INJECTOR SEAL (See  INSTALLATION  ) 
  3. INSTALL INJECTOR (See  INSTALLATION  ) 
  4. INSTALL NO. 2 FUEL DELIVERY PIPE (See  INSTALLATION  ) 
  5. INSTALL NO. 1 FUEL DELIVERY PIPE (See  INSTALLATION  ) 
  6. INSTALL NO. 3 FUEL PIPE (See  INSTALLATION  ) 
  7. CONNECT NO. 2 FUEL PIPE (See  INSTALLATION  ) 
    Fig 1: Identifying Knock Sensor
    G04018112Courtesy of © TOYOTA, LICENSE AGREEMENT TMS1002
  8. INSTALL HIGH PRESSURE SIDE FUEL PUMP (See  INSTALLATION  ) 
  9. INSTALL NO. 2 FUEL PIPE (See  INSTALLATION  ) 
  10. INSTALL NO. 1 FUEL PIPE (See  INSTALLATION  ) 
  11. INSTALL FUEL PRESSURE PULSATION DAMPER (See  INSTALLATION  ) 
  12. INSTALL INTAKE MANIFOLD (See  INSTALLATION  ) 
  13. INSTALL INTAKE AIR SURGE TANK (See  INSTALLATION  ) 
  14. CONNECT FUEL MAIN TUBE (See  INSTALLATION  ) 
  15. CONNECT NO. 1 VENTILATION HOSE (see  INSTALLATION   ) 
  16. INSTALL ENGINE REAR COVER (See  INSTALLATION  ) 
  17. CONNECT UNION TO CHECK VALVE HOSE (See  INSTALLATION  ) 
  18. CONNECT HEATER WATER OUTLET HOSE (See  INSTALLATION  ) 
  19. CONNECT HEATER WATER INLET HOSE (See  INSTALLATION  ) 
  20. CONNECT WATER BYPASS HOSE (see  INSPECTION   ) 
  21. CONNECT COLD START INJECTOR (See  INSTALLATION  ) 
  22. INSTALL AIR CLEANER CAP WITH AIR CLEANER HOSE (see  INSTALLATION   ) 
  23. CONNECT NO. 2 VENTILATION HOSE (see  INSTALLATION   ) 
  24. CONNECT CABLE TO NEGATIVE BATTERY TERMINAL 
  25. ADD ENGINE COOLANT (See  ON-VEHICLE INSPECTION  ) 
  26. CHECK FOR ENGINE COOLANT LEAKAGE (See  ON-VEHICLE INSPECTION  ) 
  27. CHECK FOR FUEL LEAKAGE 
    1. Start the engine, and check that there are no fuel leaks after performing maintenance anywhere on the system.
  28. CHECK FOR ENGINE OIL LEAKS 
    1. Start the engine, and check that there are no oil leaks after performing maintenance.
  29. INSTALL V-BANK COVER (see  INSTALLATION   ) 
  30. INSTALL ENGINE ROOM SIDE COVER RH (see  INSTALLATION   ) 
  31. REMOVE COOL AIR INTAKE DUCT SEAL (See  INSTALLATION   ) 
  32. REMOVE ENGINE UNDER COVER (See  INSTALLATION   ) 
  33. PERFORM INITIALIZATION 
    1. Perform initialization (see INITIALIZATION ).
      NOTE: Certain systems need to be initialized after disconnecting and reconnecting the cable from the negative (-) battery terminal.
  34. WARM UP ENGINE 
    1. After the engine is warmed up, check that the maintained parts operate normally.