LEMON Manuals: Even more car manuals for everyone: 1960-2025
Home >> Lexus >> 2006 >> GS 300 AWD >> Repair and Diagnosis >> Transmission >> Transfer Case >> Transfer >> Four Wheel Drive Control System >> System Diagram
April 5, 2026: LEMON Manuals is launched! Read the announcement.

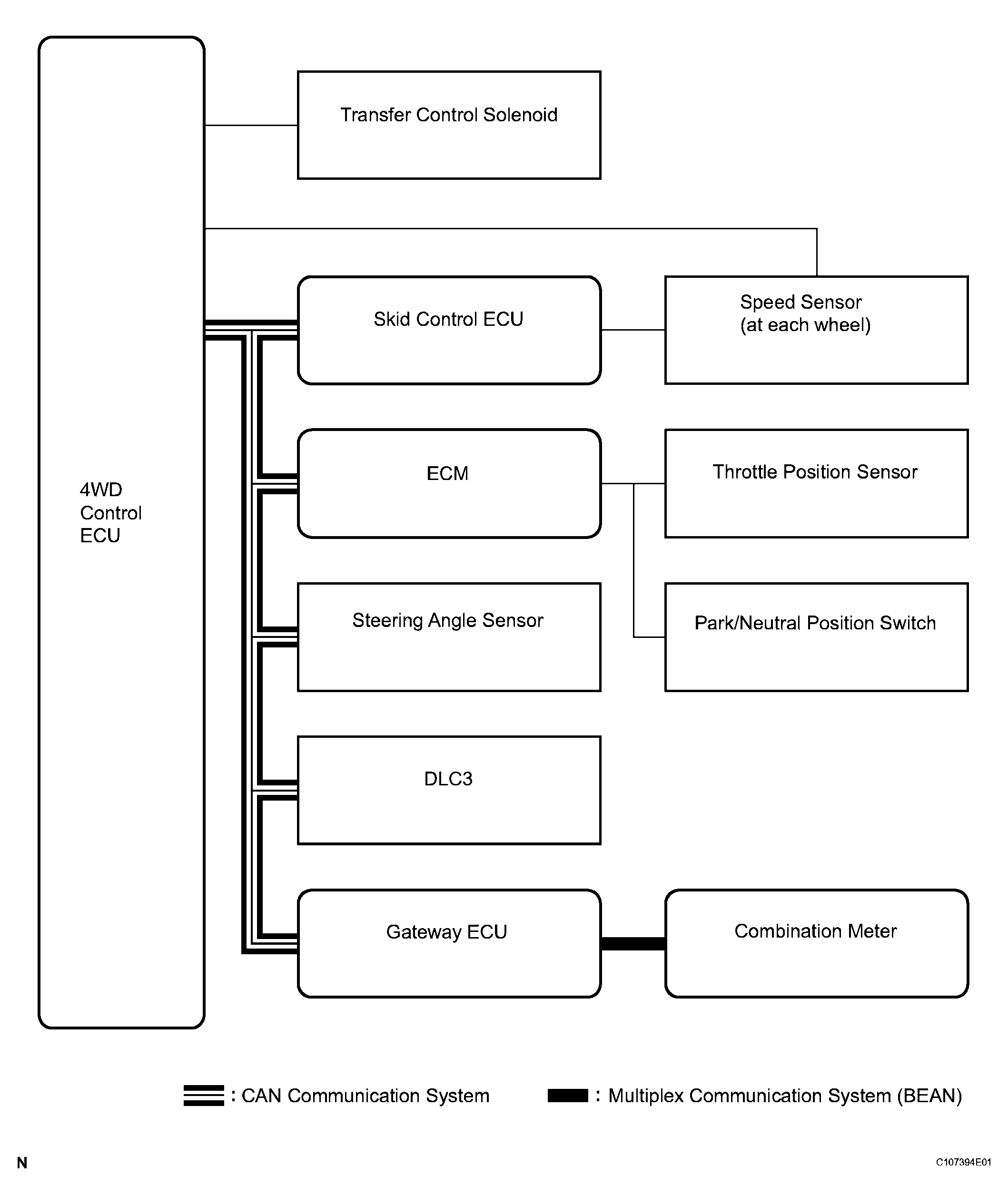
System Diagram

Fig 1: UF1AE Transfer System Diagram
G04020303Courtesy of © TOYOTA, LICENSE AGREEMENT TMS1002
UF1AE TRANSFER SYSTEM DIAGRAM REFERENCE

Transmitting ECU (Transmitter) Receiving ECU Signals Communication method
ECM 4WD Control ECU
  • Park/neutral position switch signal (PN signal)
  • R range signal (for the meter)
  • Shift position and gear ratio fail signal
  • Shift position signal
  • Throttle control sensor malfunction signal
  • Accelerator sensor status flag signal
  • TC terminal status signal
  • Actual output torque signal
  • Accelerator position signal
  • Engine variation signal
  • Vehicle destination signal
CAN Communication System
Skid Control ECU 4WD Control ECU
  • Lowered status / Hard status of the power source for the FL wheel speed sensor signal
  • Lowered status / Hard status of the power source for the FR wheel speed sensor signal
  • Lowered status / Hard status of the power source for the RL wheel speed sensor
  • Lowered status / Hard status of the power source for the RR wheel speed sensor signal
  • Test mode flag signal
  • Stop light switch signal
  • Stop light switch open signal
  • VSC operation demand signal
  • Control valve solenoid drive signal
  • Yaw rate follow-up control selection signal
  • ABS control in operation signal
  • 4WD operation flag signal
  • 4WD lock demand signal
  • 4WD unlock demand signal
CAN Communication System
4WD Control ECU Skid Control ECU
  • 4WD control hydraulic pressure signal
  • 4WD control status flag signal
CAN Communication System
Steering Angle Sensor 4WD Control ECU
  • Data continuity (valid or invalid) flag signal
  • +B open malfunction signal
  • Sensor malfunction signal
  • Steering angle signal
CAN Communication System
4WD Control ECU Combination Meter ECU
  • Warning information signal
CAN Communication System Multiplex Communication System (BEAN Bus)