LEMON Manuals: Even more car manuals for everyone: 1960-2025
Home >> Lexus >> 2006 >> GS 430 >> Repair and Diagnosis >> Body & Frame >> Seats >> Seat >> Front Power Seat Control System >> System Diagram
April 5, 2026: LEMON Manuals is launched! Read the announcement.

System Diagram

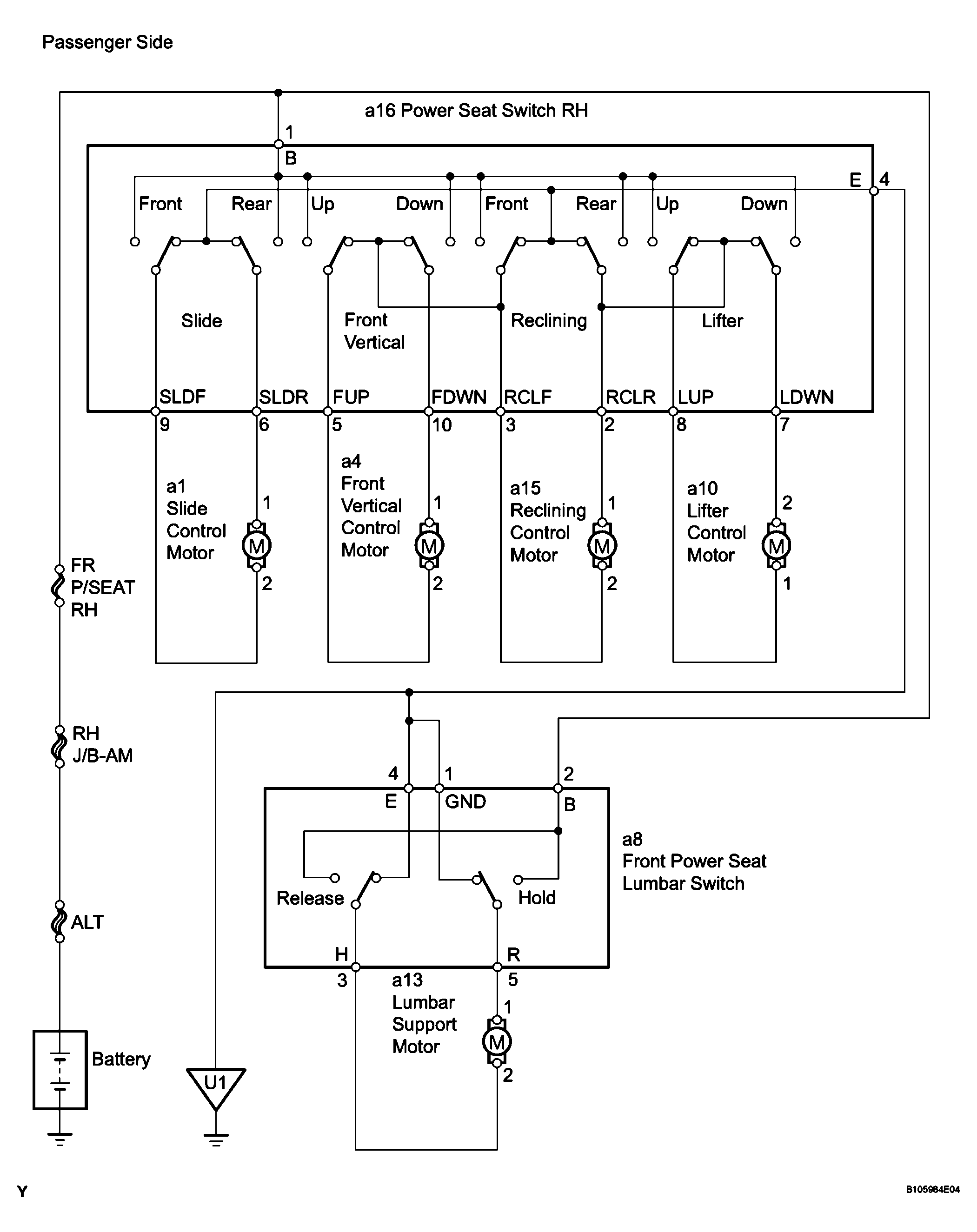
Fig 1: System Diagram - Front Power Seat Control (1 Of 2)
G04023289Courtesy of © TOYOTA, LICENSE AGREEMENT TMS1002
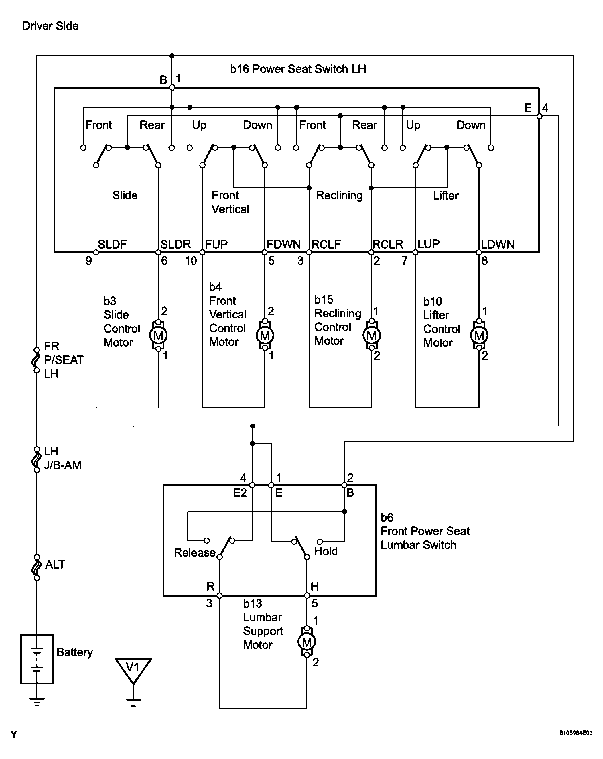
Fig 2: System Diagram - Front Power Seat Control (2 Of 2)
G04023290Courtesy of © TOYOTA, LICENSE AGREEMENT TMS1002