LEMON Manuals: Even more car manuals for everyone: 1960-2025
Home >> Lexus >> 2006 >> GS 430 >> Repair and Diagnosis >> Suspension >> Suspension Control Systems >> Suspension Control >> Front Acceleration Sensor >> Replacement
April 5, 2026: LEMON Manuals is launched! Read the announcement.

Front Acceleration Sensor: Replacement

  1. DISCONNECT CABLE FROM NEGATIVE BATTERY TERMINAL 
  2. REMOVE FRONT DOOR SCUFF PLATE LH (See  REMOVAL  ) 
  3. REMOVE INSTRUMENT PANEL UNDER COVER SUBASSEMBLY NO.1 (See  REMOVAL  ) 
  4. REMOVE FRONT DOOR OPENING TRIM COVER LH (See  REMOVAL  ) 
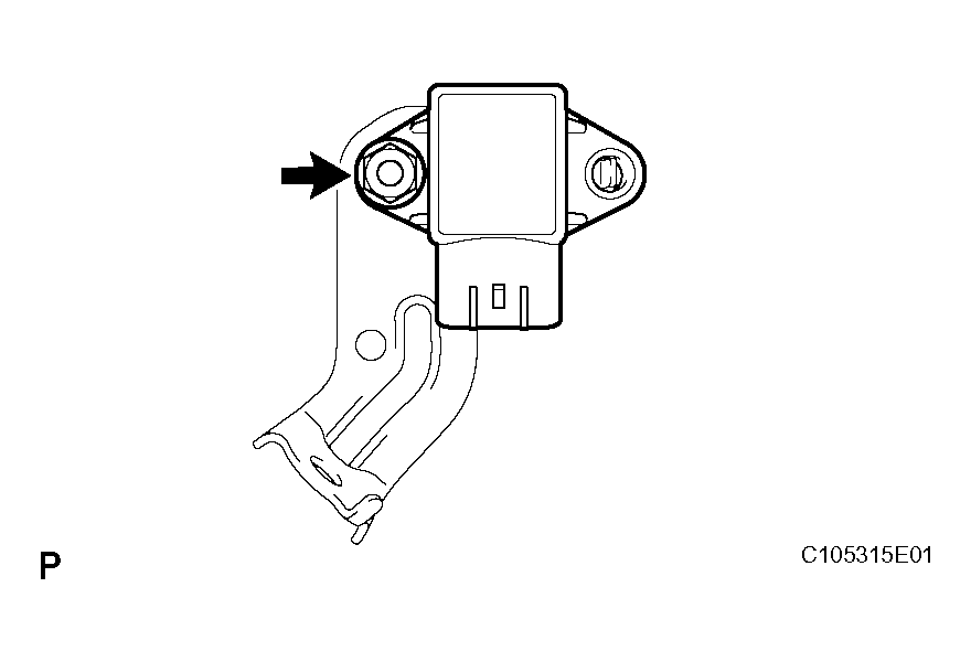
  5. REMOVE ACCELERATION SENSOR ASSEMBLY 
    1. Disconnect the acceleration sensor connector.
    2. Remove the nut and the acceleration sensor assembly.
      Fig 1: Identifying Acceleration Sensor Assembly
      G04024601Courtesy of © TOYOTA, LICENSE AGREEMENT TMS1002
  6. REMOVE ACCELERATION SENSOR 
    1. Remove the nut and the acceleration sensor from the bracket.
      Fig 2: Identifying Acceleration Sensor
      G04024602Courtesy of © TOYOTA, LICENSE AGREEMENT TMS1002
  7. INSTALL ACCELERATION SENSOR 
    1. Install the acceleration sensor to the bracket with the nut.

      Torque: 7.8 N*m (80 kgf*cm, 69 in.*lbf) 

      NOTE: Do not drop the acceleration sensor. If it is dropped, replace it a new one.
      Fig 3: Identifying Acceleration Sensor
      G04024603Courtesy of © TOYOTA, LICENSE AGREEMENT TMS1002
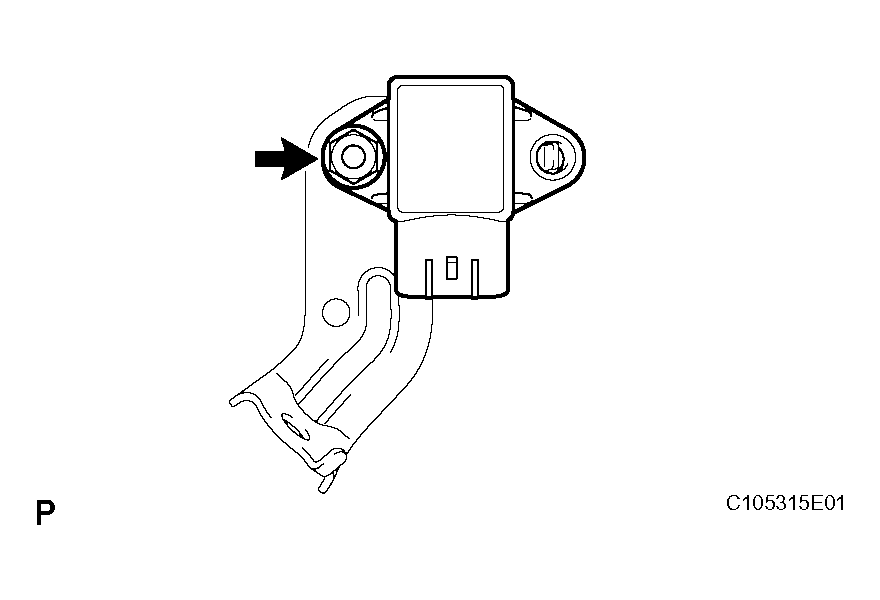
  8. INSTALL ACCELERATION SENSOR ASSEMBLY 
    1. Install the acceleration sensor assembly with the nut.

      Torque: 8.5 N*m (87 kgf*cm, 75 in.*lbf) 

      NOTE: Do not drop the acceleration sensor. If it is dropped, replace it with a new one.
  9. INSTALL FRONT DOOR OPENING TRIM COVER LH 
  10. INSTALL INSTRUMENT PANEL UNDER COVER SUBASSEMBLY NO.1 
  11. INSTALL FRONT DOOR SCUFF PLATE LH 
  12. CONNECT CABLE TO NEGATIVE BATTERY TERMINAL 
  13. PERFORM INITIALIZATION 
    1. Some systems need initialization when disconnecting the cable from the negative battery terminal (See INITIALIZATION ).
  14. INSPECT SRS WARNING LIGHT 

    (See DIAGNOSIS SYSTEM )

    Fig 4: Identifying Acceleration Sensor Assembly
    G04024604Courtesy of © TOYOTA, LICENSE AGREEMENT TMS1002