LEMON Manuals: Even more car manuals for everyone: 1960-2025
Home >> Lexus >> 2006 >> GS 430 >> Repair and Diagnosis >> Transmission >> Automatic Trans >> Automatic Transmission >> Valve Body Assembly >> Installation
April 5, 2026: LEMON Manuals is launched! Read the announcement.

Valve Body Assembly: Installation

  1. INSTALL TRANSMISSION VALVE BODY ASSEMBLY 
    1. Install the check ball body and spring.
      NOTE: Do not drop the check ball body and spring.
      Fig 1: Identifying Check Ball Body And Spring
      G04028436Courtesy of © TOYOTA, LICENSE AGREEMENT TMS1002
    2. Check the accumulator pistons, check ball body and spring as shown in the illustration.
      Fig 2: Identifying Accumulator Piston
      G04028437Courtesy of © TOYOTA, LICENSE AGREEMENT TMS1002
    3. Align the groove of the manual valve with the pin of the lever.
      Fig 3: Aligning Groove Of Manual Valve With Pin Of Lever
      G04028438Courtesy of © TOYOTA, LICENSE AGREEMENT TMS1002
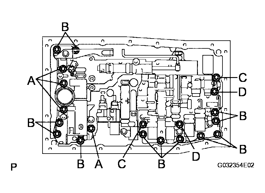
    4. Install the 20 bolts.

      Torque: 11 N*m (110 kgf*cm, 8 ft.*lbf) 

      Bolt length: 

      Bolt A: 

      36 mm (1.42 in.) 

      Bolt B: 

      25 mm (0.98 in.) 

      Bolt C: 

      45 mm (1.77 in.) 

      Bolt D: 

      50 mm (1.97 in.) 

      Fig 4: Identifying Bolts
      G04028439Courtesy of © TOYOTA, LICENSE AGREEMENT TMS1002
  2. CONNECT TRANSMISSION WIRE (See  INSTALLATION   ) 
  3. INSTALL VALVE BODY OIL STRAINER ASSEMBLY (See  INSTALLATION   ) 
  4. INSTALL AUTOMATIC TRANSMISSION OIL PAN SUB-ASSEMBLY (See  PARK / NEUTRAL POSITION SWITCH   ) 
  5. INSTALL ENGINE UNDER COVER AIR GUIDE BRACKET (See  PARK / NEUTRAL POSITION SWITCH   ) 
  6. INSTALL EXHAUST PIPE NO.1 SUPPORT BRACKET SUB-ASSEMBLY (See  TORQUE CONVERTER AND DRIVE PLATE   ) 
  7. CONNECT CABLE TO NEGATIVE BATTERY TERMINAL 
  8. ADD AUTOMATIC TRANSMISSION FLUID 

    (See AUTOMATIC TRANSMISSION FLUID  )

  9. INSTALL ENGINE UNDER COVER NO.2 
  10. RESET MEMORY 

    (See MECHANICAL SYSTEM TESTS  )

  11. PERFORM INITIALIZATION 

    (INITIALIZATION )